Foram encontradas 1.470 questões.
Com relação aos ciclos de refrigeração por compressão a vapor, representados abaixo em diagramas pressão versus entalpia, julgue os itens a seguir e marque com F a(s) afirmativa(s) falsa(s) e com V a(s) verdadeira(s) e assinale a opção correta.

( ) O processo 4-1 da Figura (A) consiste da condensação do refrigerante, durante a qual calor é retirado do ambiente que se deseja resfriar.
( ) O processo 3-4 da Figura (A) representa a expansão do fluido de trabalho, a qual é considerada isoentálpica pelo fato desta ocorrer adiabaticamente.
( ) Em um ciclo real, as linhas que representam os processos de condensação e evaporação não são perfeitamente horizontais em virtude das perdas de carga no condensador e no evaporador.
( ) O processo " f " - "a" da Figura (B) consiste do superaquecimento do vapor anteriormente à aspiração, garantindo que líquido não entre no compressor.
Provas
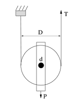
Na figura a seguir o coeficiente de atrito dinâmico entre o pino, de diâmetro d, e a polia, de diâmetro D, é µ. A tração T necessária para elevar uma carga que exerce uma força P é igual a

Provas
Assinale a opção incorreta.
Provas
Sobre as técnicas de soldagem mais usuais, avalie os textos abaixo e marque com F a(s) afirmativa(s) falsa(s) e com V a(s) verdadeira(s) e assinale a opção correta.
( ) Na soldagem a arco elétrico com eletrodo revestido, a queima do revestimento durante o processo de soldagem forma uma atmosfera local na região do arco inadequada à deposição do material de solda e, por isso, verifica-se a formação de escória.
( ) O processo TIG é caracterizado pela utilização de um eletrodo não-consumível de tungstênio e o processo de deposição do material é protegido da contaminação atmosférica por um fluxo de gás inerte.
( ) Na brasagem, a união de peças metálicas é feita com o uso de uma liga metálica como material de adição que tem ponto de fusão inferior ao do metal das peças.
Provas
A figura a seguir mostra a seção transversal de um duto longo revestido com material isolante de condutividade térmica constante k. A camada de isolamento possui espessura e = b - a. A superfície externa do duto está exposta ao ar ambiente que se encontra a uma temperatura
enquanto a superfície interna está exposta a um fluido frio a uma tempera- tura
O coeficiente de transferência de calor por convecção ao redor do tubo é h. A dependência das resistências térmicas (por unidade de comprimento do duto) à condução, Rcond, e à convecção, Rconv, com relação à espessura e da camada isolante é mostrada na figura.

Sob a hipótese de regime permanente e considerando que a transferência de calor ocorre apenas na direção radial, julgue os itens a seguir.
I. variação da espessura do material isolante estão associados dois efeitos concorrentes: a redução da taxa de transferência de calor por condução com a adição de material isolante e o aumento da taxa de transferência de calor por convecção devido ao aumento da área superficial externa.
II. A partir do gráfico, pode-se concluir que existe uma espessura crítica que maximiza a resistência térmica total à transferência de calor.
III. Para o caso representado no gráfico existe uma espessura crítica tal que a taxa de transferência de calor é máxima.
IV. O comportamento das resistências térmicas do sistema ilustrado no gráfico sugere que existe uma pequena faixa de valores de "e" em que a taxa com que o calor é transmitido ao fluido frio é maior do que aquela observada quando o duto não possui qualquer isolamento.
V. O aumento do coeficiente h de troca de calor por convecção faz com que a intersecção das curvas de Rcond e Rconv ocorra para maiores
Provas
Suponha que o isolamento térmico de um tubo que transporta um fluido a temperaturas maiores do que a temperatura do meio ambiente deva ser escolhido. Para fundamentar sua escolha, o responsável pelo projeto modelou esse problema como sendo um problema de transferência de calor, em regime permanente, de um tubo cilíndrico de comprimento L , com raio interno ri e raio externo re , no qual escoa um fluido à temperatura constante Ti . A temperatura do ambiente externo é Te . A parede do cilindro possui condutividade térmica k constante e não há, no sistema, nenhuma geração interna de calor. Dessa forma, a equação que descreve a distribuição de temperatura na parede do tubo reduz-se a

que após integração resulta em T(r) = C1ln(r)+C 2, em que as constantes C1 e C2 são determinadas com as condições de contorno adequadas ao problema. Com respeito à resistência térmica da parede do tubo, julgue os itens abaixo, marque com F a(s) afirmativa(s) falsa(s) e com V a(s) verdadeira(s) e assinale a opção correta.
( ) Para tubos de mesmo material e raios, aumentando- se o comprimento do tudo em 4 vezes, a resistência condutiva do tubo é reduzida em 4 vezes.
( ) A resistência térmica do tubo é diretamente proporcional à razão de aspecto re /ri.
( ) Sejam dois tubos cilíndricos de mesmo comprimento e feitos do mesmo material, com razões de aspecto re /ri iguais a a e a2 . Portanto, a resistência térmica de um dos tubos é duas vezes maior do que a do outro.
Provas
Um modelo de transferência de calor para uma primeira estimativa da espessura da placa de resíduos depositada nos dentes de um indivíduo admite que ao longo do tempo a superfície do dente fica coberta por uma camada fina sólida formada pelos resíduos depositados devido a fluxos de alimentos e ingestão de líquidos.

Considere que a condutividade térmica média dos resíduos presente na placa seja igual a (1/5) W/m K, que o fluxo específico de calor na superfície seja 1000 W/m2 e que a diferença de temperatura entre as superfícies da camada de resíduos seja aproximadamente 5 °C. Assumindo o processo de transferência de calor unidimensional e em regime permanente, a espessura da placa em (mm) é
Provas
Um material combustível é compactado a L=3 metros de espessura e em seguida armazenado em um depósito apropriado de segurança máxima (ver figura abaixo para detalhes).

A taxa de geração interna de calor na pilha de material provocada por reações químicas entre as partículas que compõem o material e os gases atmosféricos é igual a 20 Watts/m3 . A temperatura no ambiente de armazenamento é 20 °C e o coeficiente de transferência de calor por convecção h na superfície externa (interface material-ambiente) é igual a 4 W/m2 K. Admitindo que o processo de transferência de calor é unidimensional e que o regime é permanente, a temperatura na superfície superior da pilha do material, em graus Celsius, tem o valor de
Provas
Escoamentos a elevados números de Reynolds são caracterizados por terem uma fraca influência dos efeitos viscosos em sua dinâmica. Mesmo nesses tipos de escoamentos, porém, quando um fluido real escoa próximo a uma parede, os efeitos viscosos tornam-se importantes em uma pequena região chamada de cama da limite. Formalmente, a camada limite é definida como sendo a região, de espessura local
compreendida entre uma parede, na qual o fluido está aderido, e a camada de fluido na qual a velocidade local do escoamento é de 99% da velocidade do escoamento livre Nessa região, para o caso de escoamento bidimensional sem gradiente de pressão, as equações de Navier Stokes podem ser simplificadas se são usadas as seguintes variáveis de similaridade,

em que
é a viscosidade cinemática do fluido, U é velocidade da corrente livre fora da camada limite,
é a função de corrente do escoamento, tal que
Aqui, o vetor velocidade do escoamento é definido como sendo u=(ux, uy). Considere um escoamento uniforme com velocidade U sobre uma placa plana de comprimento L e largura 1 m. A tensão de cisalhamento agindo sobre a placa é aproximadamente
em que µ é a viscosidade dinâmica do fluido e
a segunda derivada da função f (n) com relação a (n). O número de Reynolds deste escoamento é definido por
A força de arrasto viscoso agindo sobre toda a placa, dividida por µU é dada por:
Provas
O transportador de correia ilustrado na figura abaixo está montado em um navio e é usado para recolher contaminantes superficiais indesejáveis como óleo flutuando na água do mar.

Admita que a lâmina de óleo seja suficientemente espessa para considerar que o dispositivo opere com fornecimento ilimitado desse líquido. Suponha também que a correia opera com velocidade U constante e o escoamento em questão é unidirecional e permanente. Com relação à vazão de óleo por unidade de largura da correia transportadora que pode ser recolhida é correto afirmar que
Provas
Caderno Container