Foram encontradas 1.925 questões.

Com o objetivo de reparar o retificador da figura ao lado, um técnico realizou, inicialmente, a medição das formas de onda das tensões V1 e V2 usando um osciloscópio e duas ponteiras diferenciais isoladas. As formas de onda medidas estão também esboçadas na figura ao lado.
Com base nesses resultados, um possível defeito desse circuito seria estarem os diodos
Provas
Questão presente nas seguintes provas

A figura ao lado representa um sistema de geração eólica residencial. O cata-vento é acoplado ao rotor do gerador, que produz uma corrente alternada sempre que o vento faz o cata-vento girar. A energia entregue pelo gerador é armazenada em um banco de baterias através do Circuito A. A energia armazenada no banco de baterias é, por sua vez, entregue para a rede elétrica através do Circuito B.
Espera-se encontrar nos Circuitos A e B, respectivamente, um
Provas
Questão presente nas seguintes provas
Os circuitos de comandos elétricos para acionamento de motores variam de acordo com a finalidade da operação das máquinas, proporcionando uma infinidade de topologias de circuitos. Alguns elementos, porém, estão presentes em grande parte dos acionamentos, como é o caso do relé térmico.
O relé térmico tem a função de proteger o motor acionado contra
Provas
Questão presente nas seguintes provas

Para o circuito Ladder apresentado na figura acima, a porta lógica que desempenha o mesmo resultado é
Provas
Questão presente nas seguintes provas

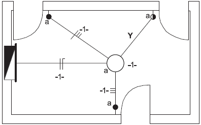
A figura acima mostra parte do diagrama unifilar do projeto elétrico de uma residência. O ponto de luz “a” é alimentado pelo circuito -1- e pode ser acionado de três interruptores diferentes, conforme indicado na figura.
A representação dos condutores do circuito -1- que passam pelo eletroduto Y é
Provas
Questão presente nas seguintes provas
No Sistema Internacional de Unidade, a unidade que é equivalente à relação coulomb/segundo é o
Provas
Questão presente nas seguintes provas
Sobre os principais dispositivos semicondutores empregados em circuitos eletrônicos, afirma-se que
Provas
Questão presente nas seguintes provas

Na figura acima, uma espira feita de material condutor é acelerada por uma força !$ \vec{F} !$ e se move ao longo de um campo magnético uniforme !$ \vec{B} !$, mantendo-se sempre perpendicular a esse campo.
Dessa forma, afirma-se que a corrente
Provas
Questão presente nas seguintes provas

Um técnico precisa medir a resistência do enrolamento de uma bobina e, para isso, montou o circuito apresentado na figura acima. Aplicando uma fonte de tensão senoidal VS com amplitude de 50 V, o técnico mediu uma tensão VR, sobre o resistor de teste RT, atrasada de 60º em relação à tensão VS e com amplitude de 20 V.
Com base nessa medida, o valor da resistência do enrolamento da bobina é
Provas
Questão presente nas seguintes provas
Sobre motores de corrente contínua, considere as afirmativas abaixo.
I - Os motores de corrente contínua possuem uma manutenção mais cara em comparação a dos motores de indução, devido ao uso de comutadores e escovas em sua operação.
II - No motor de excitação shunt, é necessária apenas uma fonte de corrente contínua para alimentar campo e armadura.
III - Na máquina de excitação independente, o enrolamento de campo é constituído de condutores que suportam grandes correntes em relação à corrente de armadura.
Está correto APENAS o que se afirma em
Provas
Questão presente nas seguintes provas
Cadernos
Caderno Container