Foram encontradas 1.925 questões.

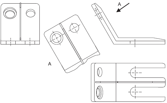
Sobre as vistas acima, analise as afirmações.
I - Todas são necessárias para representar a peça.
II - A vista direita pode ser dispensada.
III - É necessária uma vista em corte do furo com rebaixo para representá-lo.
Está correto o que se afirma APENAS em
Provas
Questão presente nas seguintes provas

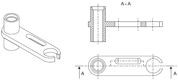
Sobre as vistas representadas acima, analise as afirmações.
I - Uma vista auxiliar é necessária para representar o rasgo em verdadeira grandeza.
II - A seção A-A é resultado de um corte composto.
III - A vista superior e a vista em corte são sufi cientes para representar a peça.
IV - Não é necessário o corte composto, pois as dimensões do rasgo na vista superior são evidentes.
Está correto o que se afirma em
Provas
Questão presente nas seguintes provas

As roscas empregadas nos parafusos e porcas apresentam filetes cuja geometria depende do emprego desse elemento de fixação.
As três geometrias mostradas nas figuras I, II e III apresentam, respectivamente, filetes de forma
Provas
Questão presente nas seguintes provas

Três barras são unidas por soldas formando uma peça única solicitada pelas forças F1, F2 e F3, conforme ilustrado na figura.
As soldas designadas por S1 (unindo as barras 1 e 2) e S2 (unido as barras 2 e 3) são, respectivamente, soldas
Provas
Questão presente nas seguintes provas

Considere a transmissão de movimento entre os eixos 1 e 2 da figura realizada por correia cruzada.
Se o diâmetro da polia 2 for um pouco maior do que o da polia 1, a rotação do eixo 2 será
Provas
Questão presente nas seguintes provas
Os medidores mecânicos de pressão utilizam a deformação de um elemento elástico para indicar o valor da pressão aplicada sobre ele. Esses medidores podem ser classificados em três categorias.
Uma dessas categorias corresponde aos
Provas
Questão presente nas seguintes provas
Os óleos naftênicos são muito empregados na lubrificação de cilindros de compressores.
Os produtos oriundos da oxidação desses óleos são
Provas
Questão presente nas seguintes provas
Considerando a temática relacionada a instrumento de medição, a placa de orifício é muito empregada quando se deseja conhecer a
Provas
Questão presente nas seguintes provas

ISMAIL, K. A. R. Técnicas de Medidas e Instrumentação.
Campinas: Ed. do autor, 2000. Adaptado.
Os termopares podem ser conectados em configurações diversas. Quando conectados em série, como na figura acima, a tensão indicada corresponde a(à)
Provas
Questão presente nas seguintes provas
A cromatografia de gás é uma técnica utilizada para medir a
Provas
Questão presente nas seguintes provas
Cadernos
Caderno Container