Foram encontradas 2.327 questões.

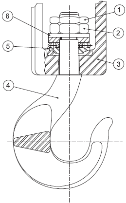
A figura ao lado representa um conjunto de um gancho. Nesse desenho, a peça número 5 é um rolamento de
Provas
Questão presente nas seguintes provas
Os códigos alfanuméricos da especificação M10 x 1,5 – 5.8, que se refere a um parafuso, têm o seguinte significado, pela ordem:
Provas
Questão presente nas seguintes provas
Uma mola helicoidal de compressão deverá operar em um mecanismo com deflexões que variam entre 50 mm e 150 mm, com uma variação de força correspondente a 160 N. A constante de rigidez dessa mola, em unidades SI, é
Provas
Questão presente nas seguintes provas
Cabos de aço são formados por fios de aço torcidos em pernas e, depois, essas pernas são torcidas para dar a forma aproximadamente cilíndrica do cabo. Os cabos cujo sentido de torção dos fios nas pernas é oposto ao sentido de torção das pernas no cabo são classificados como cabos de torção
Provas
Questão presente nas seguintes provas
Sendo o torque no eixo de um motor T N.m e sua velocidade angular !$ ω !$ rpm, a potência P, em watts, liberada neste instante de tempo, é dada por:
Provas
Questão presente nas seguintes provas
Quando há necessidade de minimizar a transmissão de vibração de uma máquina para os demais equipamentos ao seu redor e para o ambiente no qual está instalada, uma solução que permite seu emprego em variadas condições de operação é
Provas
Questão presente nas seguintes provas
O problema de balanceamento de uma máquina está associado basicamente a oscilações de elevada amplitude. Tais oscilações ocorrem
Provas
Questão presente nas seguintes provas
Para balancear uma máquina ou componente, deve-se
Provas
Questão presente nas seguintes provas
Um decibelímetro é utilizado para medidas de intensidade
Provas
Questão presente nas seguintes provas
Ao se conectar um amperímetro em série com o circuito, o que se pretende medir e qual a impedância do amperímetro?
Provas
Questão presente nas seguintes provas
Cadernos
Caderno Container