Foram encontradas 2.689 questões.
Considere as afirmativas referentes a transmissores.
I - Em transmissores inteligentes, o microprocessador executa as funções de linearização e acerto de faixa.
II - Em um transmissor inteligente, a compensação de junta fria é ativada quando o instrumento for configurado para operar com sensor do tipo termopar.
III - Nos transmissores de pressão, o sensor se encontra no interior do corpo do transmissor, que é montado diretamente sobre o manifold.
IV - A impedância dos receptores conectados ao transmissor, somada à dos cabos, não pode ultrapassar o valor máximo estipulado para o equipamento a fim de não interferir no sinal de saída.
Está correto o que se afirma em
Provas
Questão presente nas seguintes provas

A tabela-verdade correspondente ao mapa de Karnaugh apresentado acima é
Provas
Questão presente nas seguintes provas
Considere as afirmações que versam sobre os diversos tipos de manutenção.
I - A troca de lubrificante realizada conforme recomendação do fabricante do equipamento é uma ação de manutenção preventiva.
II - A substituição de um componente por consequência da parada inesperada de um equipamento é uma ação de manutenção corretiva.
III - O desmonte para análise, em data previamente determinada pelo fabricante do equipamento, mesmo sem identificação de falha, é uma ação de manutenção corretiva.
IV - A monitoração do nível de vibração em um mancal de um equipamento rotativo é uma ação de manutenção preditiva.
Está correto o que se afirma em
Provas
Questão presente nas seguintes provas

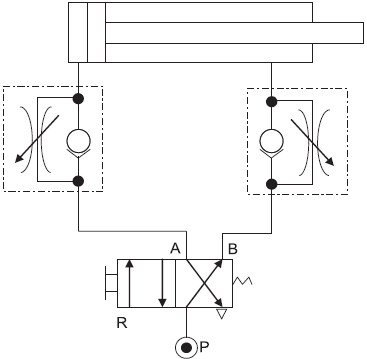
FILAHO, A. B., Automação Pneumática: Projetos,
Dimensionamento e Análise de Circuitos, 6. ed. Érica, 2009. p.130. Adaptado.
No sistema ilustrado acima, a válvula de controle é utilizada para
Provas
Questão presente nas seguintes provas
Os sensores são fundamentais na instrumentação e deles parte o sinal que será precondiconado e transmitido para o sistema de controle da Planta.
Como sensores utilizados na medição de deformação, têm-se os(as)
Provas
Questão presente nas seguintes provas
Um conversor analógico-digital de 12 bits, com faixa de entrada de 0 V a 10 V, foi utilizado em conjunto com um termômetro cuja saída varia linearmente entre 0 V e 1 V para uma faixa de temperatura compreendida entre 0 ºC e 100 ºC.
A resolução desse sistema, em ºC, será de, aproximadamente,
Provas
Questão presente nas seguintes provas

A simbologia apresentada acima corresponde a uma conexão
Provas
Questão presente nas seguintes provas
Ao variar de 50 N a carga a que está submetida uma célula de carga, de histerese igual a 0,1% e linearidade igual a 2%, seu sinal de saída variou em 10 mV.
A sensibilidade dessa célula, em mV/N, de carga é igual a
Provas
Questão presente nas seguintes provas

A figura, na qual o sinal de saída pode variar de 0 V a 10 V, foi construída a partir de um sistema de medição que utiliza um conversor analógico-digital de 8 bits.
Qual é a conformidade percentual da curva apresentada?
Provas
Questão presente nas seguintes provas
Seja A uma matriz quadrada invertível. Considere as matrizes A2 e A3 definidas por A2 = A . A e A3 = A . A . A, onde . indica a operação de multiplicação usual de matrizes.
Se det(A2) − 2 . det(A) = 0 , então o determinante det(A3) é igual a
Provas
Questão presente nas seguintes provas
Cadernos
Caderno Container