Foram encontradas 1.190 questões.
Provas
Em um galpão, 100 lâmpadas incandescentes de 60 W ficam ligadas 8 horas por dia, todos os dias. Se todas forem substituídas por lâmpadas de led de 9,0 W, a economia na conta de energia elétrica, em reais, em um período de 30 dias, será de, aproximadamente,
Dado
1,0 kWh custa R$ 0,80
Provas
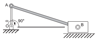
Na fase mostrada do mecanismo, a
Provas
Os princípios da hidrostática ou estática dos fluidos envolvem o estudo dos fluidos em repouso e das forças sobre objetos submersos.
Nesse estudo, NÃO se constata que a(o)
Provas
Provas

Um bloco de massa m = 4 Kg está preso a uma mola que possui uma constante elástica k = 1 π2 N/m. Por meio de uma ação externa, distende-se a mola em 0,03 m, como mostrado na Figura acima. Em seguida, o bloco é solto e começa a oscilar sem a ação de forças dissipativas, efetuando um movimento harmônico simples.
Qual é, em s, o período do movimento realizado pelo conjunto mola-bloco?
Provas
Se a barra for solicitada axialmente por uma força compressiva F = 5,0 kN, conforme indicado na Figura, as deformações específicas nas direções x, y e z serão, respectivamente,
Provas
Um sistema, isolado termicamente da vizinhança, é formado por dois recipientes acoplados termicamente por meio de uma barra de cobre cilíndrica. Um dos recipientes contém água fervente a 100 o C, e o outro, nitrogênio líquido a -196 º C.
A quantidade de calor, em kJ, que atravessa a barra de cobre em 10,0 minutos é, aproximadamente,
Dados
Comprimento da barra: 80,0 cm
Área da seção transversal da barra: 4,00 cm2
Condutividade térmica do cobre: 400 W.m-1.K-1
Provas
A forma correta do número de Reynolds será dada por
Provas
Um motor térmico operando segundo um ciclo de Carnot possui rendimento de 45%.
Se a temperatura da fonte quente é de 60°C, qual é o valor da temperatura da fonte fria desse sistema, em °C?
Provas
Caderno Container