Foram encontradas 2.276 questões.
Seções de tubos, para montagem de uma tubovia, estão sendo jateados e pintados em um galpão de uma empreiteira. O método de pintura utilizado é o da pistola convencional e retoques com trincha. Relativamente a esse método e à técnica de pintura, julgue o item subseqüente.
Ao utilizar a pistola convencional a ar comprimido, o pintor deve engrossar a tinta, para aumentar a sua viscosidade, a fim de obter uma pulverização uniforme.
Provas

Provas
Um dos ensaios não-destrutivos mais utilizados para a verificação da sanidade das soldas de tubulações é o método da radiografia industrial. Com relação a esse método, julgue o item subseqüente.
Uma parte dos raios emitidos pela fonte é absorvida pela solda e a outra atravessa-a, sensibilizando o filme e produzindo nele uma imagem da solda ensaiada.
Provas

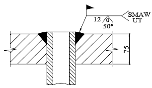
Uma viga I, em aço Corten, vai ser fabricada por processo de soldagem a arco elétrico. O projeto da junta de solda, o processo de soldagem e os ensaios não-destrutivos, segundo a norma AWS, estão especificados no desenho ortográfico acima. Todo cuidado deve ser observado para evitar distorção na soldagem. No contexto da fabricação dessa viga apresentada na situação acima, julgue o item que se segue.
O ensaio não-destrutivo que deve ser aplicado depois da soldagem é o ultra-som.
Provas

Uma chapa de aço ASTM A 285 grau A, cujas dimensões estão indicadas da figura acima, vai ser cortada por meio de uma guilhotina. O limite de resistência para esse material é de 320 MPa e a tensão de cisalhamento é de !$ \dfrac{3}{4} !$ desse limite de resistência. Com referência a essa situação, julgue o item a seguir.
As guilhotinas modernas devem ter dispositivos de proteção para evitar o decepamento das mãos dos operadores.
Provas

A vista em corte acima mostra um trecho de um tubulão de vapor, na região junto à cravação dos tubos da bancada principal de geração de vapor. Esses tubos foram fixados nos espelhos do tubulão, por mandrilhamento. No que diz respeito à montagem de tubos de caldeira na região dos tubulões, julgue o item seguinte.
O ensaio não-destrutivo que vai ser usado para detectar defeitos de soldagem é o ensaio por radiografia industrial.
Provas
Um técnico projetista foi designado para especificar um trocador de calor, que será usado para o resfriamento do óleo de um mancal de escora de uma turbina hidráulica, utilizando como fluido de arrefecimento a água bruta do reservatório da usina. Além de especificar o trocador de calor mais eficiente, o projetista também deverá elaborar um manual de manutenção desse equipamento, procurando evitar ao máximo a parada da unidade em função desse sistema de resfriamento, pois esse ato significará um grande prejuízo para a sua empresa, que depende da geração de energia dessa turbina.
Considerando a situação hipotética acima, julgue o item seguinte.
O projetista deve recomendar no projeto a instalação de um manômetro na entrada e outro na saída do trocador de calor, ou de um manômetro diferencial, para que a equipe de manutenção possa verificar a necessidade de limpeza do trocador de calor.
Provas
Um técnico responsável pela manutenção de um sistema pneumático, ao fazer a inspeção mensal desse sistema, observou o seguinte:
• a pressão de saída do regulador de pressão estava oscilando;
• o filtro de ar estava deixando passar muito condensado;
• o lubrificador estava lubrificando em demasia;
• uma válvula de atuação elétrica não estava realizando comutação;
• uma válvula de atuação pneumática estava realizando comutação, mas não estava voltando à posição inicial.
Considerando os sintomas detectados no sistema, julgue o item que se segue.
Uma das possíveis causas da ausência de comutação da válvula de atuação elétrica é o emperramento do núcleo de sua bobina.
Provas
Encarregado de selecionar tubulações para processos industriais, um técnico apresentou as especificações técnicas de dois tubos de aço carbono para a área comercial. O primeiro era um tubo ASTM A 53 grau B, diâmetro nominal 3”, schedule 40, sem costura, e o segundo, um ASTM A 53 grau B, diâmetro nominal 16”, schedule 80, com costura. As bitolas desses tubos são definidas pela norma ANSI B 36.10.
Com relação a essas especificações da situação hipotética acima, julgue o item subseqüente.
Para completar as especificações dos tubos, o técnico poderia ter indicado a quantidade e o tipo de extremidade: lisa, chanfrada ou rosqueada.
Provas

A figura acima representa a vista frontal de um tubo de aço acarbono ASTM A 106 grau B, que será utilizado na montagem de uma rede de vapor de alta pressão. Esse tubo tem 10 m de comprimento, 20 cm de diâmetro e 20 mm de espessura. O tubo será pintado, transportado e montado no local da obra. Considerando o valor de !$ \pi !$ = 3,2 e o peso específico do aço carbono como 8 g/cm3, julgue o item seguinte.
A especificação ASTM A 106 grau B é utilizada para tubos com costura.
Provas
Caderno Container