Foram encontradas 40 questões.
Com base no armazenamento de cimento nas obras,
assinale a alternativa correta:
Provas
Questão presente nas seguintes provas
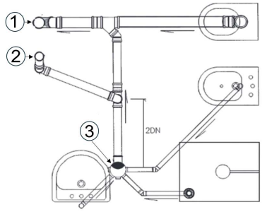
Analise o desenho de projeto hidrossanitário a seguir:

Assinale a alternativa correta:
Provas
Questão presente nas seguintes provas
No que se refere aos serviços preliminares — locação de
obras, assinale a alternativa correta sobre as
responsabilidades da fiscalização durante a execução
desses serviços:
Provas
Questão presente nas seguintes provas
Considere as afirmativas relacionadas aos tipos de
levantamento topográfico apresentadas a seguir.
Registre V, para verdadeiras, e F, para falsas:
(__)O levantamento topográfico altimétrico é o método que tem como objetivo exclusivo a determinação das alturas dos pontos de apoio e/ou de detalhes, em relação a uma superfície de referência, pressupondo-se o conhecimento prévio de suas posições planimétricas.
(__)O levantamento topográfico expedito é um método exploratório utilizado para o reconhecimento do terreno, sendo caracterizado pela aplicação rigorosa de critérios de acurácia nas medições.
(__)O levantamento topográfico planialtimétrico é o método que combina o levantamento planimétrico com a determinação das altitudes do relevo e da drenagem natural, incluindo os detalhes definidos de acordo com a finalidade do trabalho.
Assinale a alternativa que apresenta a sequência correta:
(__)O levantamento topográfico altimétrico é o método que tem como objetivo exclusivo a determinação das alturas dos pontos de apoio e/ou de detalhes, em relação a uma superfície de referência, pressupondo-se o conhecimento prévio de suas posições planimétricas.
(__)O levantamento topográfico expedito é um método exploratório utilizado para o reconhecimento do terreno, sendo caracterizado pela aplicação rigorosa de critérios de acurácia nas medições.
(__)O levantamento topográfico planialtimétrico é o método que combina o levantamento planimétrico com a determinação das altitudes do relevo e da drenagem natural, incluindo os detalhes definidos de acordo com a finalidade do trabalho.
Assinale a alternativa que apresenta a sequência correta:
Provas
Questão presente nas seguintes provas
Associe a segunda coluna de acordo com a primeira,
relacionando os materiais componentes do sistema
drywall com suas respectivas características ou funções:
Primeira coluna: Material
1.Perfis de aço 2.Chapas de gesso 3.Parafusos 4.Tratamentos de juntas 5.Lãs de vidro
Segunda coluna: Característica ou função
(__)Melhoram o desempenho acústico e térmico do sistema.
(__)São fabricados com aço revestido com zinco, com furações padronizadas para passagem de instalações.
(__)Compostos por miolo de gesso natural revestido por cartão duplex, disponíveis em versões standard, resistentes à umidade e ao fogo.
(__)Fixam os perfis e as chapas, possuem acabamento zincado ou fosfatizado para proteção contra corrosão.
(__)Aplicados nas juntas para garantir acabamento e evitar trincas, conferindo rigidez ao sistema.
Assinale a alternativa que apresenta a correta associação entre as colunas:
Primeira coluna: Material
1.Perfis de aço 2.Chapas de gesso 3.Parafusos 4.Tratamentos de juntas 5.Lãs de vidro
Segunda coluna: Característica ou função
(__)Melhoram o desempenho acústico e térmico do sistema.
(__)São fabricados com aço revestido com zinco, com furações padronizadas para passagem de instalações.
(__)Compostos por miolo de gesso natural revestido por cartão duplex, disponíveis em versões standard, resistentes à umidade e ao fogo.
(__)Fixam os perfis e as chapas, possuem acabamento zincado ou fosfatizado para proteção contra corrosão.
(__)Aplicados nas juntas para garantir acabamento e evitar trincas, conferindo rigidez ao sistema.
Assinale a alternativa que apresenta a correta associação entre as colunas:
Provas
Questão presente nas seguintes provas
Em relação à armação de blocos em alvenaria estrutural,
qual é o padrão de ligação de paredes com junta vertical
a prumo, em que o plano da interface comum é
atravessado por armaduras compostas por grampos
metálicos ancorados em furos verticais grauteados ou
por telas metálicas ancoradas em juntas de
assentamento? Assinale a alternativa correta:
Provas
Questão presente nas seguintes provas
3888122
Ano: 2025
Disciplina: Segurança e Saúde no Trabalho (SST)
Banca: FURB
Orgão: Pref. Biguaçu-SC
Disciplina: Segurança e Saúde no Trabalho (SST)
Banca: FURB
Orgão: Pref. Biguaçu-SC
Provas:
De acordo com a Norma Regulamentadora n.º 6 (NR 6),
no que se refere ao fornecimento de Equipamentos de
Proteção Individual (EPI), a organização deve assegurar
a prestação de informações ao trabalhador, observadas
as recomendações constantes no manual de instruções
fornecido pelo fabricante ou importador. Dentre as
informações que devem ser fornecidas, incluem-se:
Provas
Questão presente nas seguintes provas
O projeto executivo arquitetônico (PE-ARQ) deve
apresentar, de forma clara e organizada, todas as
informações necessárias para a construção, detalhes
construtivos, todas as dimensões (cotas) necessárias
para a construção do edifício, especificações
(informações de acabamentos), níveis e especificações
de serviços inerentes. Com base nessas informações,
assinale a alternativa que apresenta apenas documentos
obrigatórios no PE-ARQ, em consonância com a NBR
6492:2021 − Documentação técnica para projetos
arquitetônicos e urbanísticos − Requisitos:
Provas
Questão presente nas seguintes provas
A consistência do concreto fresco é influenciada por
propriedades como compacidade e mobilidade, além de
estar associada à trabalhabilidade, segregação e
exsudação. Considerando essas características, assinale
a alternativa correta:
Provas
Questão presente nas seguintes provas
De acordo com a NR-35, o talabarte e o dispositivo
trava-quedas devem ser posicionados de modo a quê?
Assinale a alternativa correta:
Provas
Questão presente nas seguintes provas
Cadernos
Caderno Container