Foram encontradas 454 questões.
Disciplina: Serviço Social
Banca: UPENET/IAUPE
Orgão: Pref. Cabo Santo Agostinho-PE
O Artigo 10º, da Lei n. 8.662, de 7 de junho de 1993, trata das atribuições e competências dos CRESS, em suas respectivas áreas de jurisdição, na qualidade de órgão executivo e de primeira instância. Qual alternativa não compete ao CRESS no seu exercício legal?
Provas
Disciplina: Serviço Social
Banca: UPENET/IAUPE
Orgão: Pref. Cabo Santo Agostinho-PE
As mudanças ocorridas na Política Nacional de Saúde, desde a implantação do Sistema Único de Saúde, trouxeram novas exigências aos trabalhadores da saúde, em particular, aos (as) Assistentes Sociais. Desta forma, além das tradicionais demandas, temos novas requisições que vêm demandando que os profissionais de Serviço Social
Provas
Disciplina: Serviço Social
Banca: UPENET/IAUPE
Orgão: Pref. Cabo Santo Agostinho-PE
A Lei n. 8.662, de 7 de junho de 1993, que dispõe sobre a profissão de Assistente Social, em seu Artigo 4º - afirma que se constitui como competência do Assistente Social
Provas
Disciplina: Serviço Social
Banca: UPENET/IAUPE
Orgão: Pref. Cabo Santo Agostinho-PE
O Código de Ética do Assistente Social, de 13 de Março de 1993, no Título II – Dos Direitos e das Responsabilidades Gerais do Assistente Social, Artigo 2º, afirma que é direito do Assistente Social:
Provas
Disciplina: Serviço Social
Banca: UPENET/IAUPE
Orgão: Pref. Cabo Santo Agostinho-PE
O desenvolvimento de uma atuação multidisciplinar requer, hoje,
Provas
Disciplina: Serviço Social
Banca: UPENET/IAUPE
Orgão: Pref. Cabo Santo Agostinho-PE
A intervenção do Assistente Social nas condições e relações do trabalho ocorre em diversos campos de atuação profissional: empresas privadas, instituições públicas estatais e paraestatais. Com o processo de reestruturação produtiva, velhas demandas são reeditadas, e novas demandas e estratégias surgem. Assim, a principal tarefa posta para o Serviço Social na atual conjuntura é
Provas
Disciplina: Serviço Social
Banca: UPENET/IAUPE
Orgão: Pref. Cabo Santo Agostinho-PE
O processo de institucionalização da profissão, reconhecida na divisão social do trabalho, está vinculado à criação das grandes instituições assistenciais, estatais, paraestatais ou autárquicas. No debate contemporâneo sobre o Serviço Social, o objeto do trabalho é a questão social em suas múltiplas expressões. Significa, portanto, que
Provas
Disciplina: TI - Redes de Computadores
Banca: UPENET/IAUPE
Orgão: Pref. Cabo Santo Agostinho-PE
Julgue as seguintes afirmações sobre tipos de cabo para conexões de dados.
I. Cabo STP (par trançado blindado) de 150 Ohms suporta conexões de dados com até 300 metros de distância.
II. Fibra óptica multimodo de 62,5/125 m suporta conexões de dados com até 6.000 metros de distância.
III. Fibra óptica monomodo de 8,5/125 m suporta conexões de dados com até 3.000 metros de distância.
Escolha a alternativa que indica a(s) afirmação(ões) CORRETA(s).
Provas
Disciplina: TI - Redes de Computadores
Banca: UPENET/IAUPE
Orgão: Pref. Cabo Santo Agostinho-PE
- Transmissão de DadosMeios de TransmissãoCabeamento FìsicoMeio de Transmissão: Par TrançadoPadrões de Cabo
- Transmissão de DadosMeios de TransmissãoCabeamento FìsicoMeio de Transmissão: Par TrançadoUTP: Unshielded Twisted Pair
- Redes
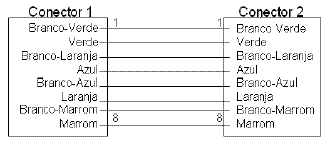
Considerando a figura a seguir que representa um esquema de pinagem dos conectores RJ-45 macho de um cabo UTP Cat.5, escolha a alternativa CORRETA.

Provas
Disciplina: TI - Redes de Computadores
Banca: UPENET/IAUPE
Orgão: Pref. Cabo Santo Agostinho-PE
Julgue as seguintes afirmações sobre cabeamento estruturado.
I. O cabo UTP Cat.5 é o mais comumente utilizado para cabeamento estruturado de redes de computadores locais.
II. O comprimento máximo de cada lance de cabo UTP Cat.5, segundo a norma, é de 150 metros.
III. A instalação do cabeamento estruturado deve ser feita em separado do cabeamento da rede elétrica, evitando, assim, interferências eletromagnéticas.
IV. Emendas em cabos UTP Cat.5 são permitidas, desde que se utilizem conectores RJ-90.
Escolha a alternativa que indica a(s) afirmação(ões) CORRETA(s).
Provas
Caderno Container