Foram encontradas 40 questões.
Determinado elemento construtivo necessita de um detalhamento em planta e corte que mostre com clareza e, maior riqueza de detalhes, todas as informações necessárias para um melhor entendimento deste elemento, e para que sejam confeccionados moldes. Sendo assim, é necessário a utilização de uma escala que seja equivalente a medida real desse elemento. Quanto à escala apropriada para esta tarefa, assinale a alternativa correta.
Provas
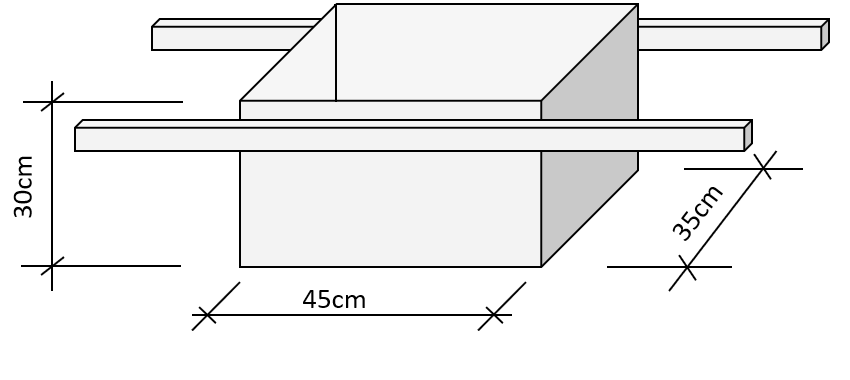
Considere as medidas apresentadas como medidas internas, já descontando a espessura do material e assinale a alternativa correta quanto ao volume da padiola representada na figura abaixo.

Provas
A planta de cobertura é uma representação da projeção superior da edificação em um plano horizontal. O desenho da planta de cobertura é uma composição de traços que delimitam o encontro dos diversos elementos que compõem o telhado. A esse respeito, observe na figura abaixo o elemento de número 02.

Figura: planta de cobertura
Sobre esse elemento, assinale a alternativa correta.
Provas
Na construção civil, diversas atividades são orientadas por meio de representações gráficas expressas em plantas, cortes, elevações etc. A figura abaixo mostra parte da representação de um tipo de serviço específico na construção civil.

Nesse sentido, analise: Assinale a alternativa correta.
Provas
Disciplina: Segurança e Saúde no Trabalho (SST)
Banca: IBFC
Orgão: Pref. Candeias-BA
A NR6 - Equipamento de Proteção Individual (EPI) - considera EPI, todo dispositivo ou produto, de uso individual utilizado pelo trabalhador, destinado à proteção de riscos suscetíveis de ameaçar a segurança e a saúde no trabalho. A seguir estão elencadas algumas informações de EPIs utilizados na indústria da construção civil e respectivas funções. Analise e dê valores de Verdadeiro (V) ou Falso (F):
( ) Mascara de solda: é um EPI para a proteção dos olhos e face contra impactos de partículas volantes, radiação ultra-violeta, radiação infra-vermelha e luminosidade intensa.
( ) Respirador purificador de ar não motorizado: é um EPI para proteção respiratória contra poeiras e névoas.
( ) Luva de raspa: é um EPI para proteção dos membros inferiores contra umidade proveniente de operações com uso de água.
( ) Cinto de segurança tipo paraquedista: é um EPI para proteção contra quedas com diferença de nível.
Assinale a alternativa que apresenta a sequência correta de cima para baixo.
Provas
Disciplina: Segurança e Saúde no Trabalho (SST)
Banca: IBFC
Orgão: Pref. Candeias-BA
A queda de altura é um dos principais causadores de acidentes e óbitos na indústria da construção civil. Sendo assim, é de extrema importância a adoção e utilização de Equipamentos de Proteção Coletiva (EPCs) e Equipamento de Proteção Individual (EPIs) que reduzam os riscos desse tipo de acidente. A figura abaixo representa um dispositivo que deve ser utilizado juntamente com os EPIs adequados para serviços em altura.

Sobre o dispositivo representado pela figura, assinale a alternativa correta.
Provas
Disciplina: Segurança e Saúde no Trabalho (SST)
Banca: IBFC
Orgão: Pref. Candeias-BA
As plataformas de proteção, também conhecidas como bandejas, devem ser instaladas nas construções onde há riscos de quedas de altura, tanto de trabalhadores quanto de materiais ou ferramentas. A NR18 - Condições e Meio Ambiente de Trabalho na Indústria da Construção estabelece diretrizes para a instalação dessas plataformas. A esse respeito, assinale a alternativa incorreta.
Provas
Disciplina: Segurança e Saúde no Trabalho (SST)
Banca: IBFC
Orgão: Pref. Candeias-BA
De acordo com a NR18 – Condições e Meio Ambiente de Trabalho na Indústria da Construção, a execução de trabalhos em altura, em quaisquer atividades em que não seja possível a instalação de andaimes, é permitida a utilização de cadeira suspensa (balancim individual), sustentada por cabo de aço ou cabo de fibra sintética.
Assinale a alternativa incorreta quanto aos requisitos da NR18 para trabalhos em altura utilizando cadeira suspensa.
Provas
Conhecer os pontos cardeais é essencial para se localizar com facilidade, além disso, quando se trata de construções, é importante para que se saiba os pontos que receberão incidência solar nas edificações. Diante disto, observe a figura e analise as sentenças de modo a considerar este projeto abaixo construído na cidade de São Paulo.

Figura: projeto de edificação
I. A janela do cômodo 1 está posicionada a Nordeste e recebe insolação da manhã e durante todo o dia.
II. A Janela do cômodo 4 está posicionada a Sudoeste e recebe insolação à tarde.
III. A janela do cômodo 3 está posicionada a Noroeste e recebe insolação ao longo dia, principalmente à tarde quando a incidência solar é maior.
IV. A janela do cômodo 5 está posicionada a Sudeste e recebe uma forte a incidência solar o dia inteiro.
Assinale a alternativa em que as afirmativas apontam informações incorretas.
Provas
Um determinado lote passou por um processo de desmembramento e após ser submetido a um levantamento planimétrico, apresentou as seguintes características:

Quanto ao total do lote representado na figura, assinale a alternativa correta.
Provas
Caderno Container