Foram encontradas 2.369 questões.
A figura a seguir mostra as curvas de nível de uma região dentro da qual se situa um lote, representado pelo retângulo.
As cotas indicadas nas curvas estão dadas em metro.
Pode-se dizer que a máxima variação possível de cota entre dois pontos quaisquer no interior desse lote está necessariamente, entre
As cotas indicadas nas curvas estão dadas em metro.
Pode-se dizer que a máxima variação possível de cota entre dois pontos quaisquer no interior desse lote está necessariamente, entre
Provas
Questão presente nas seguintes provas
Entre os processos associados ao ciclo hidrológico, a interceptação é definida como
Provas
Questão presente nas seguintes provas
Um conjunto de peneiras foram empilhadas com o objetivo de realizar uma análise granulométrica de um solo. Entre os tipos de partícula listados a seguir, o que irá ficar retido na peneira que está mais abaixo é
Provas
Questão presente nas seguintes provas
Uma técnica bastante usada para fazer amarração de detalhes em um serviço topográfico é conhecida como
Provas
Questão presente nas seguintes provas
Um mapa está na escala 1: 1000. Desta forma, um quadrado de 1cm de lado no papel possui uma área de
Provas
Questão presente nas seguintes provas
Existem vários aspectos visuais que podem indicar a instabilidade de um talude.
Sobre esses aspectos, avalie se as afirmativas a seguir são verdadeiras (V) ou falsas (F).
( ) A presença de juntas de alívio no talude indica sua estabilidade.
( ) A surgência de água na base do talude é um fator de risco que deve ser considerado na avaliação de sua estabilidade.
( ) A presença de trincas de tração é um aspecto de risco na análise de estabilidade de um talude.
As afirmativas são, respectivamente,
Sobre esses aspectos, avalie se as afirmativas a seguir são verdadeiras (V) ou falsas (F).
( ) A presença de juntas de alívio no talude indica sua estabilidade.
( ) A surgência de água na base do talude é um fator de risco que deve ser considerado na avaliação de sua estabilidade.
( ) A presença de trincas de tração é um aspecto de risco na análise de estabilidade de um talude.
As afirmativas são, respectivamente,
Provas
Questão presente nas seguintes provas
Um Agente de Defesa Civil, ao avaliar uma edificação em concreto armado, observou trincas em alguns de seus pilares. Entre eles, dois são apresentados a seguir.

As trincas presentes nos pilares 1 e 2 são causadas, respectivamente, por esforços excessivos de

As trincas presentes nos pilares 1 e 2 são causadas, respectivamente, por esforços excessivos de
Provas
Questão presente nas seguintes provas
As figuras a seguir apresentam duas paredes de alvenaria com aberturas junto das quais apareceram fissuras devido a recalques em possíveis posições (1, 2 e 3), também indicadas nessas figuras.

As fissuras indicadas nas paredes (a) e (b) são causadas, respectivamente, por recalques na região entorno das posições

As fissuras indicadas nas paredes (a) e (b) são causadas, respectivamente, por recalques na região entorno das posições
Provas
Questão presente nas seguintes provas
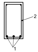
Na figura a seguir, apresenta-se a seção transversal central de uma viga de concreto armado que se apoia apenas em dois pilares.

Nessa seção transversal, as armaduras 1 e 2 são denominadas, respectivamente,

Nessa seção transversal, as armaduras 1 e 2 são denominadas, respectivamente,
Provas
Questão presente nas seguintes provas
3019213
Ano: 2024
Disciplina: Engenharia Ambiental e Sanitária
Banca: FGV
Orgão: Pref. Caraguatatuba-SP
Disciplina: Engenharia Ambiental e Sanitária
Banca: FGV
Orgão: Pref. Caraguatatuba-SP
Provas:
O tipo de subsidência do solo que ocorre, tipicamente, em cavidades feitas por ação humana, tais como túneis, poços e minas subterrâneas, mas também frequente em terrenos Cásticos, é conhecido como subsidência por
Provas
Questão presente nas seguintes provas
Cadernos
Caderno Container