Foram encontradas 60 questões.
|
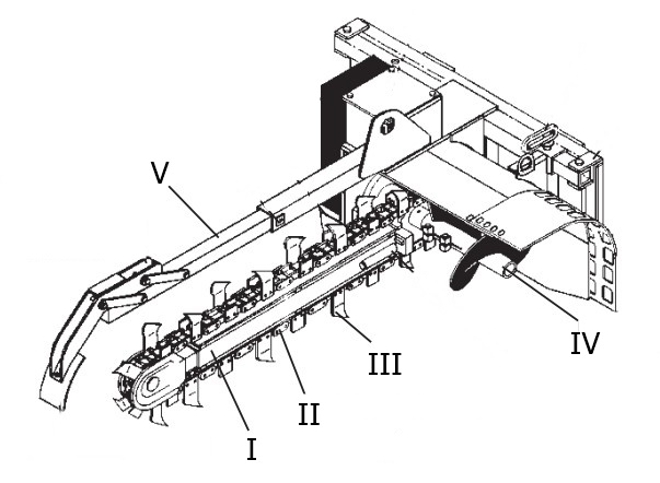
I |
II |
|
III |
IV |
Assinale a alternativa que apresenta a denominação usual das máquinas pesadas de I a IV mostradas acima, respectivamente.
Provas
|
I Sinaleiro com o braço estendido para baixo e o dedo indicador apontando o solo, girando a mão em pequenos círculos no plano horizontal. |
II Sinaleiro com o braço estendido na horizontal, punho fechado e polegar apontando para baixo. |
III Sinaleiro com a mão espalmada sobre a outra mão, com polegar apontando para cima e movimentando-se como mostrado. |
As figuras acima mostram três dos sinais padronizados pela NBR 11436 para a sinalização manual, visando a orientar o operador de guindastes. Com relação às figuras, assinale a alternativa correta.
Provas
No uso de uma empilhadeira, o operador deve ter especial atenção com sua estabilidade, evitando um tombamento. A respeito desse assunto, assinale a alternativa correta.
Provas
Retroescavadeiras são máquinas de grande importância, cuja produtividade depende, em grande parte, da capacidade de seu operador de aplicar as técnicas de operação recomendadas. Acerca desse tema, assinale a alternativa correta.
Provas

Quanto ao equipamento mostrado na figura acima, assinale a alternativa correta.
Provas
No que se refere às características e ao funcionamento do sistema elétrico automotivo, assinale a alternativa correta.
Provas
Dirigir defensivamente consiste em planejar todas as ações pessoais ao volante, prevenindo, com antecedência, o comportamento de outros motoristas e de condições adversas. Em condições adversas, pode ocorrer a aquaplanagem. Acerca desse assunto, assinale alternativa correta.
Provas
Considerando a definição da tara de um veículo, de acordo com o Código Brasileiro de Trânsito, assinale a alternativa correta.
Provas
Ao conduzir veículo automotor em via pública, o condutor de um trator deparou-se com um agente de trânsito que utilizou seu apito, emitindo um silvo longo e um silvo breve.
Nesse caso hipotético, diante da sinalização sonora do agente, o condutor deverá.
Provas
Uma ação recomendada ao se prestar os primeiros socorros a um motociclista acidentado e inconsciente, com hemorragia, é
Provas
Caderno Container






