Magna Concursos

Foram encontradas 30 questões.

2364986 Ano: 2021
Disciplina: Engenharia Mecânica
Banca: FAUEL
Orgão: Pref. Rio Azul-PR
Provas:

Tem a função de tampar os cilindros, conforme se vê na figura abaixo, formando a câmara de combustão na parte superior do bloco do motor. Nele, ocorrem altas pressões por conta do pistão que comprime a mistura, no caso do ciclo Otto, ou o ar, no caso dos motores de ciclo Diesel.

Enunciado 2364986-1

Assinale a alternativa que apresenta o nome CORRETO deste componente:

 

Provas

Questão presente nas seguintes provas
2364985 Ano: 2021
Disciplina: Engenharia Mecânica
Banca: FAUEL
Orgão: Pref. Rio Azul-PR
Provas:

É o volume total deslocado pelo pistão em seu curso entre o ponto morto inferior (PMI) e o ponto morto superior (PMS), multiplicado pelo número de cilindros do motor. É indicada em centímetros cúbicos (cm3). Esta defi nição se refere a:

 

Provas

Questão presente nas seguintes provas
2364984 Ano: 2021
Disciplina: Engenharia Mecânica
Banca: FAUEL
Orgão: Pref. Rio Azul-PR
Provas:

Observe as figuras abaixo, elas apresentam uma ferramenta utilizada na manutenção, especificamente no aperto de parafusos:

Enunciado 2364984-1

Assinale a alternativa que apresenta o nome CORRETO desta ferramenta:

 

Provas

Questão presente nas seguintes provas
2364983 Ano: 2021
Disciplina: Engenharia Mecânica
Banca: FAUEL
Orgão: Pref. Rio Azul-PR
Provas:

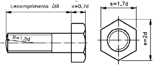
Um parafuso de um trator de esteira de rosca grossa padrão métrico feito de aço tem o seu diâmetro maior de 20,0 mm e uma marcação de cabeça de 5.8.

Enunciado 2364983-1

Analise a imagem a seguir: De acordo com a imagem este é um parafuso:

 

Provas

Questão presente nas seguintes provas
2364982 Ano: 2021
Disciplina: Ética na Administração Pública
Banca: FAUEL
Orgão: Pref. Rio Azul-PR
Provas:

Ética é a parte da filosofia responsável pela investigação dos princípios que motivam, distorcem, disciplinam ou orientam o comportamento humano. Um profissional deve, diante das mais diversas situações, agir com ética.

Avalie as afirmativas abaixo:

I. Corrupção é dar, prometer, oferecer ou receber, direta ou indiretamente, alguma coisa a alguém com o objetivo de influenciar a tomada de decisão de forma a obter uma vantagem indevida.

II. Ao responder um e-mail o servidor público não precisa agir com respeito pois tem o direito de não dar satisfação a quem o procura.

III. O colaborador deve se apossar de uma ferramenta de trabalho para uso pessoal visto que também paga impostos e, portanto, tem o direito de levar itens do município.

IV. Receber um valor, mesmo que seja simbólico, é permitido ao servidor público diante de um serviço executado pelo contribuinte pois passou em concurso público garantindo este direito.

Assinale a alternativa CORRETA:

 

Provas

Questão presente nas seguintes provas
2364981 Ano: 2021
Disciplina: Engenharia Mecânica
Banca: FAUEL
Orgão: Pref. Rio Azul-PR
Provas:

A substituição de um amortecedor que atingiu o tempo de trabalho indicado pelo fabricante, a substituição de uma lâmpada queimada, o controle semestral de um óleo lubrifi cante utilizando uma análise de óleo caracterizam, respectivamente, os processos de manutenção:

 

Provas

Questão presente nas seguintes provas
2364980 Ano: 2021
Disciplina: Engenharia Mecânica
Banca: FAUEL
Orgão: Pref. Rio Azul-PR
Provas:

A suspenção de um veículo tem por função amortecer a transmissão de energia proveniente da irregularidade do solo, além disso, proporciona a capacidade de aderência do veículo ao solo. A inclinação da parte superior da roda interna ou externamente em relação ao veículo, conforme pode ser visto nas figuras é conhecida como?

Enunciado 2364980-1

Assinale a alternativa que apresenta corretamente o termo deste conceito:

 

Provas

Questão presente nas seguintes provas
2364979 Ano: 2021
Disciplina: Engenharia Mecânica
Banca: FAUEL
Orgão: Pref. Rio Azul-PR
Provas:

Enunciado 2364979-1

Um mecânico necessitou fazer a medição de uma biela, e para isso utilizou o paquímetro e obteve a medição conforme a figura. Assinale a alternativa que apresenta a medida encontrada:

 

Provas

Questão presente nas seguintes provas
2364914 Ano: 2021
Disciplina: Legislação Municipal
Banca: FAUEL
Orgão: Pref. Rio Azul-PR

Assinale a alternativa que NÃO indica um requisito para a investidura em cargo público, de acordo com o Estatuto dos Servidores Públicos Municipais.

 

Provas

Questão presente nas seguintes provas

As Cataratas do Iguaçu foram consideradas uma das Sete Maravilhas da Natureza em um concurso internacional recente. Marque a alternativa que indica o Estado brasileiro onde elas se localizam.

 

Provas

Questão presente nas seguintes provas