Foram encontradas 546 questões.
Atente para a seguinte figura que representa o diagrama temperatura (T) x entropia (s) para uma turbina a vapor funcionando sob um ciclo de Rankine ideal.

Considerando o diagrama acima, é correto afirmar que
Provas
Questão presente nas seguintes provas
Relacione corretamente os símbolos de
dispositivos de circuitos pneumáticos com as
respectivas descrições, numerando a Coluna II de
acordo com a Coluna I

A sequência correta, de cima para baixo, é:

A sequência correta, de cima para baixo, é:
Provas
Questão presente nas seguintes provas
Um pilar de aço de seção retangular maciça
(0,12 m x 0,01 m) e 20 m de comprimento está
engastado em ambas as suas extremidades e é
submetido a um carregamento de compressão,
conforme apresentado na figura a seguir.

Sabendo que o módulo de elasticidade do aço é de Eaço = 200 GPa e considerando π2=10 e um fator K=0,5 para o comprimento efetivo, é correto afirmar que a carga crítica de flambagem é igual a

Sabendo que o módulo de elasticidade do aço é de Eaço = 200 GPa e considerando π2=10 e um fator K=0,5 para o comprimento efetivo, é correto afirmar que a carga crítica de flambagem é igual a
Provas
Questão presente nas seguintes provas
Um fermentador de grande capacidade contém
um líquido de trabalho a um nível “H”, conforme é
apresentado na figura a seguir.

Dados: H = 5 m; h = 3 m; 1 atm = 100 kPa; g = 10 m/s²; ρlíquido = 1000 kg/m³; perda de carga total na tubulação e acessórios = 388 kPa.

Dados: H = 5 m; h = 3 m; 1 atm = 100 kPa; g = 10 m/s²; ρlíquido = 1000 kg/m³; perda de carga total na tubulação e acessórios = 388 kPa.
Sabendo que o manômetro absoluto “M” que mede a pressão da atmosfera do fermentador apresenta uma leitura de 5 atm, pode-se afirmar corretamente que a velocidade do líquido de trabalho ao sair para a atmosfera ambiente pela extremidade "2" da tubulação, quando a válvula "V" é aberta, é de
Considere:
1. regime estacionário;
2. fluido incompressível.
Provas
Questão presente nas seguintes provas
Para climatizar um estabelecimento dividido
em dois prédios com orientações diferentes, sendo o
prédio da ala oeste (A-O) e o prédio da ala leste
(A-L), o projetista utilizará um sistema de água
gelada com um fan coil dedicado para cada prédio
(FC–O e FC–L), alimentados por um único chiller
através de um sistema de bombeamento presente na
casa de bombas (CB), conforme mostrado na figura a
seguir.

Considerando as condições de uso dos prédios e as influências externas e internas às edificações, o projetista traça as curvas de variação da carga térmica (CT) ao longo das horas (h) do dia considerado para o dimensionamento do projeto, para cada ala, conforme apresentado na figura a seguir.

Desprezando os ganhos de calor sofridos pelo sistema inerentes aos processos de bombeamento e insuflamento, e considerando que o sistema contemplará uma distribuição otimizada de água gelada de acordo com a demanda de cada prédio, a capacidade mínima do chiller deverá corresponder

Considerando as condições de uso dos prédios e as influências externas e internas às edificações, o projetista traça as curvas de variação da carga térmica (CT) ao longo das horas (h) do dia considerado para o dimensionamento do projeto, para cada ala, conforme apresentado na figura a seguir.

Desprezando os ganhos de calor sofridos pelo sistema inerentes aos processos de bombeamento e insuflamento, e considerando que o sistema contemplará uma distribuição otimizada de água gelada de acordo com a demanda de cada prédio, a capacidade mínima do chiller deverá corresponder
Provas
Questão presente nas seguintes provas
Um pinhão e uma engrenagem com diâmetros
primitivos de 15 cm e 45 cm, respectivamente, são
utilizados para acionar um laminador, conforme
apresentado na figura a seguir.

Sabendo que a engrenagem está conectada ao eixo do laminador, que necessita de um torque de 1,50 kN.m para o seu funcionamento pleno, o torque mínimo que o motor elétrico precisará fornecer ao pinhão para o funcionamento do laminador é de

Sabendo que a engrenagem está conectada ao eixo do laminador, que necessita de um torque de 1,50 kN.m para o seu funcionamento pleno, o torque mínimo que o motor elétrico precisará fornecer ao pinhão para o funcionamento do laminador é de
Provas
Questão presente nas seguintes provas
Considerando-se C = 2000 lb, conforme
informações do fabricante, e um fator de
confiabilidade de 0,6 para uma taxa de falha de 5%,
é correto afirmar que a vida útil, em número de
revoluções, para um mancal de rolamentos de
esferas submetido a uma carga constante de 50 lb é de


Provas
Questão presente nas seguintes provas
Um triângulo de lados a, b e c é apresentado
no plano cartesiano conforme a figura a seguir.

Considerando que o triângulo seja homogêneo em sua composição e espessura, as coordenadas "XCM" e "YCM" do seu centro de massa são dadas por

Considerando que o triângulo seja homogêneo em sua composição e espessura, as coordenadas "XCM" e "YCM" do seu centro de massa são dadas por
Provas
Questão presente nas seguintes provas
Uma viga engastada é carregada conforme a
figura apresentada a seguir.

Considerando-se o sistema convencionado para os sentidos dos esforços internos, é correto afirmar que os valores do esforço cortante e do momento fletor no ponto "A" da viga são, respectivamente,

Considerando-se o sistema convencionado para os sentidos dos esforços internos, é correto afirmar que os valores do esforço cortante e do momento fletor no ponto "A" da viga são, respectivamente,
Provas
Questão presente nas seguintes provas
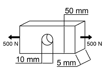
Uma barra metálica é submetida a esforços de
tração conforme apresentado na figura a seguir.

Considerando-se um fator de concentração de tensão de 2,5 para a área reduzida provocada pelo furo, é correto afirmar que a tensão máxima na barra é de

Considerando-se um fator de concentração de tensão de 2,5 para a área reduzida provocada pelo furo, é correto afirmar que a tensão máxima na barra é de
Provas
Questão presente nas seguintes provas
Cadernos
Caderno Container