Magna Concursos

Foram encontradas 760 questões.

3776889 Ano: 2024
Disciplina: Legislação Estadual e Distrital
Banca: VUNESP
Orgão: Pref. Vista Alegre Alto-SP
Provas:
Segundo o Decreto Estadual nº 12.342/1978, no projeto de edificações habitacionais, deve-se atentar ao fato de que as áreas mínimas permitidas, em metros quadrados, para salas e cozinhas são, respectivamente,
 

Provas

Questão presente nas seguintes provas
3776888 Ano: 2024
Disciplina: Direito Urbanístico
Banca: VUNESP
Orgão: Pref. Vista Alegre Alto-SP
Provas:
Segundo o Estatuto das Cidades, Lei nº 10.257/2001, aquele que possuir como sua área ou edificação urbana, por cinco anos, ininterruptamente e sem oposição, utilizando-a para sua moradia ou de sua família, adquirir-lhe-á o domínio, desde que não seja proprietário de outro imóvel urbano ou rural e desde que a área máxima do imóvel seja de
 

Provas

Questão presente nas seguintes provas
3776887 Ano: 2024
Disciplina: Engenharia Civil
Banca: VUNESP
Orgão: Pref. Vista Alegre Alto-SP
Provas:
A reforma de um antigo edifício público foi licitada no valor de R$ 12.000.000,00. Em função de incertezas no projeto das reformas, foram celebrados dois termos aditivos de acréscimos do valor inicial do contrato, um de R$ 2.500.000,00 e outro de R$ 2.200.000,00. Próximo ao término da obra foi necessário celebrar mais um termo aditivo de acréscimo no valor inicial do contrato. Segundo a Lei Federal nº 14.133/2021, o valor máximo permitido para esse termo aditivo é
 

Provas

Questão presente nas seguintes provas
3776886 Ano: 2024
Disciplina: Direito Constitucional
Banca: VUNESP
Orgão: Pref. Vista Alegre Alto-SP
Provas:
Sobre o artigo 37 da Constituição Federal, é correto afirmar:
 

Provas

Questão presente nas seguintes provas
3776885 Ano: 2024
Disciplina: Legislação Municipal
Banca: VUNESP
Orgão: Pref. Vista Alegre Alto-SP
Provas:
Segundo o Código de Posturas do Município de Vista Alegre do Alto, salvo exigências especiais das autoridades sanitárias, as residências urbanas deverão ser pintadas, no mínimo, a cada
 

Provas

Questão presente nas seguintes provas
3776884 Ano: 2024
Disciplina: Legislação Municipal
Banca: VUNESP
Orgão: Pref. Vista Alegre Alto-SP
Provas:
No Município de Vista Alegre do Alto, as implantações de loteamentos com acesso controlado (loteamentos fechados) e de condomínios de lotes ficam isentas da reserva de áreas institucionais e de áreas destinadas a uso coletivo, desde que os condomínios de lotes tenham área máxima de
 

Provas

Questão presente nas seguintes provas
3776883 Ano: 2024
Disciplina: Engenharia Civil
Banca: VUNESP
Orgão: Pref. Vista Alegre Alto-SP
Provas:
Para a elaboração de projeto hidráulico-sanitário de redes coletoras de esgoto sanitário, funcionando em lâmina livre, deve-se fazer o levantamento planialtimétrico da área de projeto e de suas zonas de expansão com indicação das curvas de nível. A escala mínima do levantamento planialtimétrico e a distância entre as curvas de nível devem ser, respectivamente,
 

Provas

Questão presente nas seguintes provas
3776882 Ano: 2024
Disciplina: Engenharia Civil
Banca: VUNESP
Orgão: Pref. Vista Alegre Alto-SP
Provas:
Nas instalações prediais de águas pluviais, a inclinação percentual mínima das calhas de beiral e o diâmetro interno mínimo dos condutores verticais de seção circular devem ser, respectivamente,
 

Provas

Questão presente nas seguintes provas
3776881 Ano: 2024
Disciplina: Engenharia Civil
Banca: VUNESP
Orgão: Pref. Vista Alegre Alto-SP
Provas:

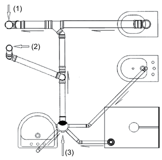
Considere a instalação de esgoto sanitário de um banheiro em um edifício de múltiplos andares.

Enunciado 4586310-1

Nessa instalação de esgoto sanitário, os números (1), (2) e (3) representam, respectivamente,

 

Provas

Questão presente nas seguintes provas
3776880 Ano: 2024
Disciplina: Física
Banca: VUNESP
Orgão: Pref. Vista Alegre Alto-SP
Provas:
Em um canteiro de obras foi instalado um circuito elétrico dedicado para alimentar um aquecedor elétrico de marmitas em banho-maria, com potência de 3300 W. Se a tensão do circuito elétrico é 220 V, então a corrente elétrica do circuito é
 

Provas

Questão presente nas seguintes provas