Foram encontradas 585 questões.
Muitas características das águas, consideradas inconvenientes, podem ser removidas pelo uso de produtos químicos. Em relação à aplicação de produtos químicos para tratamento de água, assinale a alternativa em que a correspondência entre ação pretendida e os produtos NÃO está correta.
Provas
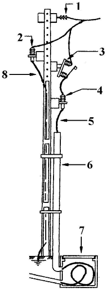
A figura abaixo mostra a entrada de uma instalação elétrica alimentada em média tensão, cujos dispositivos estão numerados de 1 a 8.

Marque a alternativa que apresenta os dispositivos na ordem numérica crescente.
Provas
Sobre Cursores, é correto afirmar:
Provas
Chefes tóxicos
Um chefe tóxico contamina todo o ambiente com seu comportamento. Ele é aquele que nega, com atitudes, os valores da empresa em que trabalha. Ele não conhece o limite que separa a pressão por resultados da falta de respeito pela equipe. Ele desrespeita as pessoas no tom de voz, no discurso, no excesso de centralização e na incapacidade de fazer com que elas cresçam. A especialidade do chefe tóxico é dar ordens, sem se preocupar com o coletivo. A ele falta a capacidade de liderar e inspirar pessoas. Um chefe assim não é modelo para ninguém. Ele não atrai nem retém os melhores talentos na própria equipe porque simplesmente sufoca e anula o que seus funcionários têm de melhor. Quem tem um chefe tóxico conhece os estragos que essa relação pode trazer para a saúde, para a carreira e até para a empresa que aceita esse tipo de comportamento. Contudo, tanto quem responde para um profissional com esse perfil quanto quem só ouviu dizer que ele existe não entende muito bem porque, afinal, as empresas ainda toleram essas pessoas. Vários profissionais comentam sobre o chefe tóxico:
1 - Chefe tóxico é quem vai atrás do resultado certo da forma errada. (C.E.S. – diretora de RH)
2 - É o individualista que só se preocupa com o próprio resultado. (F.W. – diretor executivo)
3 - Aquele que atinge metas apesar das pessoas, e não por meio delas. (M.L. – diretor executivo)
4 - Quem não sabe o limite entre a pressão e o desrespeito. (M.T.Z. – professor)
5 - É quem só dá ordens, chefia pelo terror, e não pela motivação. (R.D. – diretor de marketing)
6 - Aquele que sufoca e não deixa nenhuma pessoa atingir os resultados. (R.G. - leitor da VOCÊ S/A)
(VOCÊ S/A, julho de 2009. Adaptado.)
Em relação aos aspectos linguísticos e textuais, marque V para as afirmativas verdadeiras e F para as falsas.
( ) As várias repetições do pronome ele, na parte introdutória, são intencionais, visando enfatizar a expressão chefe tóxico, assunto do texto.
( ) A parte introdutória obedece à escrita padrão e apresenta registro coloquial, como em Quem tem um chefe tóxico conhece os estragos que essa relação pode trazer para a saúde.
( ) A predominância do tempo verbal Presente do Indicativo serve para exprimir uma possibilidade ou expectativa.
( ) Em Um chefe assim não é modelo para ninguém e em quem só ouviu dizer que ele existe não entende muito bem porque, afinal, as empresas ainda toleram essas pessoas, as palavras assim e afinal funcionam, respectivamente, como elemento coesivo e operador argumentativo.
Assinale a sequência correta.
Provas
Em relação à dimensão político-educativa da profissão de Serviço Social, analise as afirmativas.
I - O Serviço Social considera as instituições como expressão de uma dinâmica social contraditória.
II - A prática profissional resulta da articulação entre atividades de investigação e de intervenção.
III - O processo de trabalho do Assistente Social é exclusivo e independe de condicionamentos externos.
Estão corretas as afirmativas
Provas
O tipo de administração de medicamentos, realizado via parenteral, no ângulo de 90º com bizel para baixo ou lateralizado, está relacionado à
Provas
Para efeito de cálculo estatístico, segundo a norma técnica ABNT NBR 14.280/2001, assinale a afirmativa INCORRETA.
Provas
Analise a figura a seguir.

| Considere: |
A partir das informações da figura, assinale a afirmativa correta.
Provas
A lei civil define, cria modalidades e estabelece regras para a realização de contratos. Sobre o assunto, leia os textos abaixo.
I - O contrato denominado ______________está descrito como o empréstimo gratuito de coisas não fungíveis, perfazendo-se com a tradição do objeto.
II - O contrato denominado _______________ está descrito como o empréstimo de coisas fungíveis e o favorecido está obrigado a restituir o que recebeu em coisa do mesmo gênero, qualidade e quantidade.
III - O contrato denominado ________________ não poderá ser convencionado por mais de quatro anos e acabará com a morte de qualquer das partes.
IV - O contrato denominado _______________ não se extinguirá pela morte de qualquer das partes, quando não ajustado em consideração a qualidades pessoais do contratado.
Assinale a alternativa que apresenta os vocábulos que preenchem correta e respectivamente as lacunas dos textos.
Provas
Sobre projeto de interface com o usuário, analise as diretrizes abaixo.
I - Defina os modelos de interação de uma forma que não force o usuário a ações desnecessárias ou indesejadas.
II - Permita que a interação com o usuário possa ser interrompida e desfeita.
III - Faça alterações constantes no padrão das interfaces para manter a atenção do usuário.
Estão corretas as diretrizes
Provas
Caderno Container