Foram encontradas 120 questões.
- Instalações ElétricasSubestaçõesCustos, diagramas unifilares básicos, tipos de barramentos, sistemas auxiliares

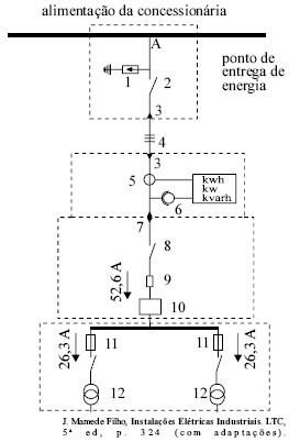
A figura acima mostra parte do diagrama unifilar de uma instalação elétrica conectada à rede da concessionária de energia elétrica. Na instalação como um todo, existem diversos equipamentos, mas na figura são mostrados apenas os equipamentos do lado de alta tensão. Com relação a essas informações, julgue os itens subseqüentes.
O equipamento indicado pelo número 12 é necessário para a transformação do nível de tensão na instalação para um valor adequado aos equipamentos instalados no local.
Provas

A figura acima mostra parte do diagrama unifilar de uma instalação elétrica conectada à rede da concessionária de energia elétrica. Na instalação como um todo, existem diversos equipamentos, mas na figura são mostrados apenas os equipamentos do lado de alta tensão. Com relação a essas informações, julgue os itens subseqüentes.
Considere que o equipamento 3 é uma mufla terminal primária. A finalidade deste equipamento é proteger os condutores contra aquecimento causado por elevadas correntes de curto-circuito.
Provas

A figura acima mostra parte do diagrama unifilar de uma instalação elétrica conectada à rede da concessionária de energia elétrica. Na instalação como um todo, existem diversos equipamentos, mas na figura são mostrados apenas os equipamentos do lado de alta tensão. Com relação a essas informações, julgue os itens subseqüentes.
O elemento indicado no diagrama por 1 tem a função de proteger a instalação contra sobretensões de alta freqüência provenientes da rede da concessionária.
Provas
Duas escolas fazem uso de sistemas de comunicação diferentes para se comunicarem com o mundo exterior. Uma delas, a mais antiga, usa o sistema do tipo analógico e a escola construída mais recentemente, instalou o esquema do tipo digital. A respeito dos tipos de sistemas de comunicação utilizados, julgue os itens seguintes.
A escola que optou pelo sistema de comunicação digital poderá fazer uso do que se denomina unificação de redes, isto é, poderá obter sinais de natureza distinta utilizando um mesmo meio de transmissão.
Provas
Duas escolas fazem uso de sistemas de comunicação diferentes para se comunicarem com o mundo exterior. Uma delas, a mais antiga, usa o sistema do tipo analógico e a escola construída mais recentemente, instalou o esquema do tipo digital. A respeito dos tipos de sistemas de comunicação utilizados, julgue os itens seguintes.
O sistema de comunicação da escola mais antiga é mais suscetível a interferências.
Provas
Duas escolas fazem uso de sistemas de comunicação diferentes para se comunicarem com o mundo exterior. Uma delas, a mais antiga, usa o sistema do tipo analógico e a escola construída mais recentemente, instalou o esquema do tipo digital. A respeito dos tipos de sistemas de comunicação utilizados, julgue os itens seguintes.
A escola mais antiga não pode utilizar a concepção de multiplexação de sinais em seu sistema de comunicação, porque este artifício é possível somente nos sistemas de comunicação digitais.
Provas

Considerando o circuito mostrado na figura acima, julgue os itens a seguir.
Suponha que a tensão v(t) seja senoidal. Então a corrente i(t) também é senoidal, mas a tensão v L (t) é nula durante meio ciclo e apresenta freqüência maior que a freqüência da tensão da fonte.
Provas

Considerando o circuito mostrado na figura acima, julgue os itens a seguir.
O elemento indicado por D apresenta relação não-linear envolvendo a corrente i(t) e a tensão v 0 (t).
Provas
Um estudante deverá medir a tensão, a corrente e a potência em um circuito composto por uma carga puramente resistiva que é conectada a uma fonte de tensão independente. A respeito dos instrumentos apropriados para realizar essas medições, julgue os itens subseqüentes.
O estudante, ao utilizar, o voltímetro e o wattímetro deverá ter o cuidado de não ligá-los em paralelo com a fonte de tensão, sob pena de danificá-los.
Provas
Um estudante deverá medir a tensão, a corrente e a potência em um circuito composto por uma carga puramente resistiva que é conectada a uma fonte de tensão independente. A respeito dos instrumentos apropriados para realizar essas medições, julgue os itens subseqüentes.
Caso o estudante utilize o amperímetro, este deve ser ligado em série com a carga.
Provas
Caderno Container