Magna Concursos

Foram encontradas 526 questões.

464516 Ano: 2012
Disciplina: Contabilidade Geral
Banca: FUMARC
Orgão: TJ-MG
Uma empresa comprou uma máquina para operar produção de sua indústria, pagando $100.000,00, mais $10.000 de IPI. Havia ICMS incluso no preço de $12.000. A empresa toma crédito de PIS/Cofns de $9.000. As despesas de instalação da máquina somaram $5.000. Ao fnal da vida útil desta máquina, a empresa orçou um gasto $7.000 para desinstala-la.

Considerando o Pronunciamento Contábil do Ativo Imobilizado (CPC 27), indique o valor que será registrado no Ativo Imobilizado como custo.

 

Provas

Questão presente nas seguintes provas
464515 Ano: 2012
Disciplina: Contabilidade Geral
Banca: FUMARC
Orgão: TJ-MG
Um dos critérios para reconhecimento de um item é que ele possua um custo ou valor que possa ser determinado em bases confáveis.

Em muitos casos, o custo ou valor precisa ser estimado. Em relação ao enunciado e de acordo com as normas contábeis vigentes, a única afrmação CORRETA é

 

Provas

Questão presente nas seguintes provas
464513 Ano: 2012
Disciplina: Contabilidade Geral
Banca: FUMARC
Orgão: TJ-MG
Após avaliar a relação de contas apresentadas no balancete de uma determinada empresa comercial, que foi reproduzido abaixo de forma desordenada, indique o total do Passivo e o Total do Patrimônio líquido, considerando as normas atualizadas de contabilidade.

enunciado 464513-1

Marque a opção CORRETA:

 

Provas

Questão presente nas seguintes provas
464512 Ano: 2012
Disciplina: Engenharia Mecânica
Banca: FUMARC
Orgão: TJ-MG

A Figura abaixo apresenta três dos principais tipos de penetradores de consagrados ensaios de dureza. Respectivamente, os esquemáticos representados pelas letras A, B e C se referem aos penetradores dos ensaios:

enunciado 464512-1

 

Provas

Questão presente nas seguintes provas
464511 Ano: 2012
Disciplina: Engenharia Mecânica
Banca: FUMARC
Orgão: TJ-MG
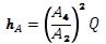
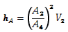
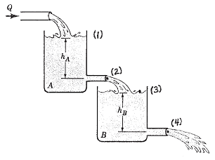
Para que o fluxo de água de um grande reservatório para outro seja mantido em regime permanente, a altura hA deve ser, pelo menos:
enunciado 464511-1
 

Provas

Questão presente nas seguintes provas
464510 Ano: 2012
Disciplina: Engenharia Mecânica
Banca: FUMARC
Orgão: TJ-MG

Um tanque aberto, de 1m de largura e 2 de comprimento contém um volume de gasolina que permite o preenchimento de 1m de profundidade.

enunciado 464510-1

A aceleração lateral (ay ) máxima a que este tanque pode se submeter sem que haja transbordamento é:

 

Provas

Questão presente nas seguintes provas
464509 Ano: 2012
Disciplina: Engenharia Mecânica
Banca: FUMARC
Orgão: TJ-MG

Para o resfriamento de uma câmara, cujas paredes são de concreto, é requisito de projeto que as seguintes propriedades sejam atendidas:

enunciado 464509-1

Qual será a taxa de transferência de calor que o equipamento de resfriamento deverá garantir para o resfriamento desta área da parede?

 

Provas

Questão presente nas seguintes provas
464508 Ano: 2012
Disciplina: Engenharia Mecânica
Banca: FUMARC
Orgão: TJ-MG
Um manômetro diferencial montado em um vaso de pressão indica a leitura de 1,25MPa, enquanto que um barômetro local indica pressão atmosférica de 0,96bar. A pressão absoluta dentro do vaso é:
 

Provas

Questão presente nas seguintes provas
464507 Ano: 2012
Disciplina: Engenharia Mecânica
Banca: FUMARC
Orgão: TJ-MG
Considere uma massa de ar dentro de um pneu, que inicialmente está a -10°C e a 190kPa. Após percorrer uma distância definida, sua temperatura subiu para +10°C. Considerando o volume do pneu constante e o ar como gás ideal, a nova pressão que o pneu estará, após percorrida esta distância será, aproximadamente:
 

Provas

Questão presente nas seguintes provas
464506 Ano: 2012
Disciplina: Engenharia Mecânica
Banca: FUMARC
Orgão: TJ-MG
Considere o projeto de um sistema de ar-condicionado, a ser instalado em uma sala que possui uma parede de alvenaria (ρparede = 2.200kg/m3 ), de dimensões 4m X 6m, com 30cm de espessura, insolada de tal maneira que sua temperatura aumenta 3°C durante o dia. Se o calor específico do material da parede for 0,90J/kg.°C, aproximadamente quanta energia será requerida para o resfriamento deste ambiente (desprezadas outras trocas energéticas) tendo como contribuição apenas a energia advinda do aquecimento desta parede?
 

Provas

Questão presente nas seguintes provas