Foram encontradas 540 questões.
O entendimento das projeções cartográficas é crucial
para representar precisamente a superfície curva da Terra
em mapas planos, permitindo a comunicação eficaz de
informações geográficas e a tomada de decisões em diversas áreas, como no planejamento urbano e na gestão
ambiental.
São exemplos de projeções cilíndricas as projeções
São exemplos de projeções cilíndricas as projeções
Provas
Questão presente nas seguintes provas
Uma tubulação foi colocada sobre dois apoios, conforme
ilustrado na Figura, para minimizar os efeitos de flexão
durante o transporte.
Considere que a tubulação tenha um peso distribuído uniformemente, expresso em N/m.
O melhor posicionamento dos apoios A e B será aquele em que os momentos fletores nas seções A, B e C sejam
Considere que a tubulação tenha um peso distribuído uniformemente, expresso em N/m.
O melhor posicionamento dos apoios A e B será aquele em que os momentos fletores nas seções A, B e C sejam
Provas
Questão presente nas seguintes provas
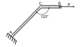
O componente estrutural ilustrado na Figura é constituído
por dois trechos de peças prismáticas cujos comprimentos são LAC e LBC. Esse componente está engastado na
extremidade A e sujeito a uma carga concentrada P, aplicada na extremidade B.
Considerando-se que a carga P está alinhada com o segmento BC desse componente, o momento fletor atuante no engaste A é
Considerando-se que a carga P está alinhada com o segmento BC desse componente, o momento fletor atuante no engaste A é
Provas
Questão presente nas seguintes provas
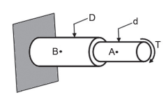
Um eixo maciço possui dois trechos com diâmetros
D e d, conforme representado na Figura. A tensão cisalhante máxima devida à torção é calculada pela expressão t = TR/J, onde J é o momento polar da seção
transversal (J = π.R4/2).
Considere que o eixo está sob ação do torque T, e seus diâmetros estão na relação D/d = 1,2.
A relação entre as tensões cisalhantes tA/tB, atuantes nas superfícies dos dois trechos do eixo, nos pontos A e B, é
Considere que o eixo está sob ação do torque T, e seus diâmetros estão na relação D/d = 1,2.
A relação entre as tensões cisalhantes tA/tB, atuantes nas superfícies dos dois trechos do eixo, nos pontos A e B, é
Provas
Questão presente nas seguintes provas
Considere que um determinado aço se funde a uma
temperatura de 1.400 ºC e que a temperatura ambiente
é de 25 ºC.
A variação de temperatura que propicia esse aquecimento, expressa em K, é de
A variação de temperatura que propicia esse aquecimento, expressa em K, é de
Provas
Questão presente nas seguintes provas
Na Tabela abaixo são apresentadas algumas características termodinâmicas de um ciclo ideal de refrigeração por
compressão de vapor.
Com base nessas características, qual é o valor do coeficiente de eficácia desse ciclo?
Com base nessas características, qual é o valor do coeficiente de eficácia desse ciclo?
Provas
Questão presente nas seguintes provas
Considere uma força magnética atuando em um condutor
retilíneo de comprimento
, percorrido por uma corrente i.
Esse condutor está imerso em uma região onde existe um
campo magnético uniforme
, que forma um ângulo θ
com o condutor.
Essa força magnética é representada pela seguinte equação:
Provas
Questão presente nas seguintes provas
Quanto à natureza, as ondas podem ser classificadas em
mecânicas e em eletromagnéticas. A radiação eletromagnética possui uma faixa extensa de frequência, desde
infravermelho até raios cósmicos, e essa faixa é denominada espectro eletromagnético. A radiografia industrial
é amplamente utilizada para detectar falhas em equipamentos que exigem alta confiabilidade, como gasodutos
que transportam óleo à alta pressão, caldeiras de vapor e
equipamentos de refinaria.
A radiografia industrial utiliza onda eletromagnética da seguinte região do espectro eletromagnético:
A radiografia industrial utiliza onda eletromagnética da seguinte região do espectro eletromagnético:
Provas
Questão presente nas seguintes provas
Na Figura abaixo, são mostrados 3 vasos, A, B e C, abertos para a atmosfera. Esses vasos têm formas diferentes,
mas foram preenchidos com água até o mesmo nível.
A relação entre as pressões no fundo de cada um deles é descrita por
A relação entre as pressões no fundo de cada um deles é descrita por
Provas
Questão presente nas seguintes provas
Uma partícula pontual A, de massa 1,5 . 10-6
g, tem carga
elétrica igual a +2,0 . 10-6
C e está fixa na origem do eixo x.
Na posição x = +4,0 cm, encontra-se outra partícula pontual B, com metade da massa e o dobro da carga elétrica
da partícula A.
O módulo, em newtons, e o sentido da força elétrica sentida pela partícula A devido à partícula B são, respectivamente,
Dado constante elétrica k = 9,0 . 109 N m2 /C2
O módulo, em newtons, e o sentido da força elétrica sentida pela partícula A devido à partícula B são, respectivamente,
Dado constante elétrica k = 9,0 . 109 N m2 /C2
Provas
Questão presente nas seguintes provas
Cadernos
Caderno Container