Foram encontradas 70 questões.
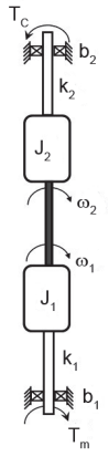
Considere o sistema mecânico de rotação mostrado na
Figura, no qual os eixos 1 e 2 são flexíveis e estão apoiados em mancais que possuem dissipação. O eixo intermediário é suposto rígido e com amortecimento desprezível.

Nessas condições, verifica-se que existe uma

Nessas condições, verifica-se que existe uma
Provas
Questão presente nas seguintes provas
A Transformada Z de um degrau unitário aplicado no
instante t = 0, na região de convergência, é dada por:
Provas
Questão presente nas seguintes provas
A Transformada de Laplace que descreve um pulso
quadrado com duração de 2 segundos aplicado em
t = 2 segundos é dada por
Provas
Questão presente nas seguintes provas
Existem várias técnicas que podem ser usadas para aproximar numericamente integrais definidas de funções reais.
Uma técnica que NÃO se aplica a essa aproximação é a(o)
Uma técnica que NÃO se aplica a essa aproximação é a(o)
Provas
Questão presente nas seguintes provas
Considere A uma matriz quadrada ortogonal qualquer não nula.
Com relação a essa matriz, observa-se que
Provas
Questão presente nas seguintes provas
Considere o sistema massa-mola-amortecedor com dois
graus de liberdade e excitação de base, ilustrado na
Figura.

A matriz de amortecimento desse sistema é dada por

A matriz de amortecimento desse sistema é dada por
Provas
Questão presente nas seguintes provas
Considere a função de transferência padrão de um sistema dinâmico de 2a ordem, com um zero na origem

Supondo-se condições iniciais nulas, a resposta no tempo desse sistema a uma rampa unitária aplicada no instante de tempo t = 2 segundos é
Provas
Questão presente nas seguintes provas
Considere a fórmula de recorrência descrita abaixo, na
qual f(xi
, yi
) é uma equação diferencial ordinária, linear ou
não linear, e h é o passo de integração.
yi+1 = yi + h f(xi , yi )
Essa fórmula de recorrência descreve um método numérico para solução computacional de equações diferenciais.
Tal método é o de
yi+1 = yi + h f(xi , yi )
Essa fórmula de recorrência descreve um método numérico para solução computacional de equações diferenciais.
Tal método é o de
Provas
Questão presente nas seguintes provas
O Teorema da Derivada da Transformada de Laplace estabelece que

Assim sendo,
é igual a
Provas
Questão presente nas seguintes provas
Considere que dois elementos dinâmicos são acoplados com transferência de potência entre eles.
O efeito descrito acima é o de
Provas
Questão presente nas seguintes provas
Cadernos
Caderno Container