Foram encontradas 698 questões.
Provas
Provas
Provas

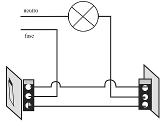
A figura acima apresenta o esquema de um circuito que permite o acendimento de uma luminária. A respeito desse circuito, assinale a opção correta.
Provas
- Instalações ElétricasSubestações
- Proteção de Sistemas ElétricosProteção em Média Tensão
- Sistemas Elétricos de PotênciaDistribuição de Energia Elétrica

Tendo como referência a figura acima, que ilustra o arranjo de uma subestação, assinale a opção correta.
Provas

O esquema proposto para o transformador representado na figura acima é uma ligação
Provas

A figura precedente mostra uma carga trifásica equilibrada, ligada na configuração triângulo (ou delta) e excitada por tensões trifásicas equilibradas de sequência direta Va, Vb e Vc. Nessa configuração de circuito,
Provas

A figura precedente ilustra um circuito em que uma carga monofásica é alimentada a partir de uma tensão CA. Para a medição da potência entregue à carga, utiliza-se um wattímetro eletrodinâmico. O ponteiro indicador de potência ativa é defletido em função das correntes que atravessam as bobinas de corrente e de tensão. Na configuração de ligações indicadas na figura,
Provas
- Proteção de Sistemas ElétricosProteção em Média Tensão
- Sistemas Elétricos de PotênciaDistribuição de Energia Elétrica

Considerando que a figura precedente representa um quadro elétrico, em que DTM significa disjuntor termomagnético e IDR, interruptor diferencial-residual, julgue os itens a seguir.
I O DTM na entrada do circuito é uma representação simplificada de um disjuntor tripolar.
II O DTM da entrada, devido à posição em que foi instalado, pode ser utilizado como dispositivo de proteção contra surtos para o quadro.
III O IDR do circuito 11 compara as correntes que circulam entre duas fases.
IV Os IDRs do quadro podem ser substituídos por um único IDR tripolar, posto na entrada, após o DTM.
Estão certos apenas os itens
Provas

Considerando-se as condições de aterramento da alimentação da instalação e das massas existentes representadas na figura, o sistema de aterramento apresentado classifica-se como
Provas
Caderno Container