Foram encontradas 326 questões.
Na instalação da rede de esgoto predial, o ralo seco
Provas
Questão presente nas seguintes provas
- Gerenciamento, Planejamento e Controle de Obras
- Orçamento no Planejamento e Controle de Obras na Engenharia Civil
Com relação à formação de preços de obras públicas, assinale a
opção correta.
Provas
Questão presente nas seguintes provas
A espécie de perícia definida como inspeção, por meio de perito,
sobre pessoas, coisas ou móveis, para verificação de fatos ou
circunstâncias que interessem à causa, denomina-se
Provas
Questão presente nas seguintes provas
- Gerenciamento, Planejamento e Controle de Obras
- Orçamento no Planejamento e Controle de Obras na Engenharia Civil
O manual de metodologias e conceitos do SINAPI define os
diferentes itens que compõem o custo decorrente da posse ou do
uso dos diversos equipamentos constantes nas fichas de composição
unitária. Com base na metodologia do SINAPI, assinale a opção
correta.
Provas
Questão presente nas seguintes provas

A figura acima ilustra parte de uma estrutura de concreto armado, que consiste em uma viga biapoiada em dois pilares idênticos e sujeita a uma carga triangular, em que as letras A e C representam os extremos da viga, e a letra B o seu centro.
Nessa estrutura,
Provas
Questão presente nas seguintes provas

A figura acima representa parte de uma parede seccionada de alvenaria em tijolos, com três camadas de revestimento, representadas por letras, para preparação do revestimento final. Posteriormente serão aplicadas massa corrida e pintura PVA.
Com base nessas informações, é correto afirmar que a camada
Provas
Questão presente nas seguintes provas

A figura acima ilustra um ensaio de concreto fresco denominado ensaio de abatimento: A fôrma (molde A), de chapa metálica, apresenta forma de tronco de cone de 20 cm de base, 10 cm de topo e 30 cm de altura, e está apoiada em uma superfície rígida e plana. O concreto fresco é colocado em três camadas iguais dentro da fôrma, como mostrado na etapa B e cada camada é adensada com 25 golpes por uma barra de 16 mm de diâmetro e 60 cm de comprimento. Em seguida, a fôrma é retirada verticalmente, e a massa de concreto fresco, que fica sujeita à ação da gravidade, adquire uma forma semelhante à mostrada na etapa C.
Com base nessas informações, é correto afirmar que o
Provas
Questão presente nas seguintes provas

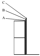
Na figura acima, que mostra fissuras na fachada de uma edificação de dois pavimentos, a provável causa da patologia apresentada é
Provas
Questão presente nas seguintes provas

A partir da figura acima, que ilustra a seção transversal de um canal triangular aberto, assinale a opção correta acerca de hidráulica aplicada em canais abertos.
Provas
Questão presente nas seguintes provas
- Gerenciamento, Planejamento e Controle de Obras
- Orçamento no Planejamento e Controle de Obras na Engenharia Civil
equipamento
valor de aquisição R$ 300.000
potência 125 kw
tipo de combustível dísel
vida útil na condição média de trabalho 5,3 anos horas
trabalhadas por ano 2.000
r (valor residual) 20%
Considerando-se que o valor da parcela de depreciação horária (Dh) do equipamento mencionado na tabela tenha sido calculado com base metodologia do SINAPI, é correto afirmar que o valor, em reais, do Dh é
valor de aquisição R$ 300.000
potência 125 kw
tipo de combustível dísel
vida útil na condição média de trabalho 5,3 anos horas
trabalhadas por ano 2.000
r (valor residual) 20%
Considerando-se que o valor da parcela de depreciação horária (Dh) do equipamento mencionado na tabela tenha sido calculado com base metodologia do SINAPI, é correto afirmar que o valor, em reais, do Dh é
Provas
Questão presente nas seguintes provas
Cadernos
Caderno Container