Magna Concursos

Foram encontradas 50 questões.

1577142 Ano: 2006
Disciplina: TI - Redes de Computadores
Banca: CONESUL
Orgão: TRENSURB
Sobre topologias físicas de redes, é correto afirmar sobre a topologia em barramento:
 

Provas

Questão presente nas seguintes provas
1577141 Ano: 2006
Disciplina: Eletroeletrônica
Banca: CONESUL
Orgão: TRENSURB
Em relação aos meios de transmissão de dados, pelos quais os sinais elétricos e as ondas eletromagnéticas se propagam, não é correto afirmar que são meios de transmissão:
 

Provas

Questão presente nas seguintes provas
1577140 Ano: 2006
Disciplina: Engenharia Civil
Banca: CONESUL
Orgão: TRENSURB
O modelamento 3D dos sistemas CAD (Computer Aided Design) apresenta as dificuldades que são próprias do processo de desenho, pois o projetista é obrigado a considerar as três dimensões simultaneamente. Em alguns casos, a utilização do modelo 3D é imprescindível. Qual dos métodos abaixo não é um método de representação 3D ?
 

Provas

Questão presente nas seguintes provas
1577139 Ano: 2006
Disciplina: Serviços Gerais
Banca: CONESUL
Orgão: TRENSURB
Sobre robótica industrial não é correto afirmar que:
 

Provas

Questão presente nas seguintes provas
1577138 Ano: 2006
Disciplina: Serviços Gerais
Banca: CONESUL
Orgão: TRENSURB

O segmento de programa de CLP abaixo, pertence a qual linguagem de programação da norma IEC 61131-3?

enunciado 1577138-1

 

Provas

Questão presente nas seguintes provas
1577137 Ano: 2006
Disciplina: Serviços Gerais
Banca: CONESUL
Orgão: TRENSURB
Qual das linguagens de programação de CLP abaixo não faz parte da norma IEC 61131-3?
 

Provas

Questão presente nas seguintes provas
1577136 Ano: 2006
Disciplina: Serviços Gerais
Banca: CONESUL
Orgão: TRENSURB

Utilizando-se uma fresa cilíndrica de diâmetro 4cm e 8 dentes, para usinar uma peça de aço de 100 kgf/mm², qual será o avanço de mesa mais adequado durante o acabamento, sabendo-se que a rotação é de 120 rpm? Utilize a tabela abaixo de fresas de aço rápido para responder:

enunciado 1577136-1

 

Provas

Questão presente nas seguintes provas
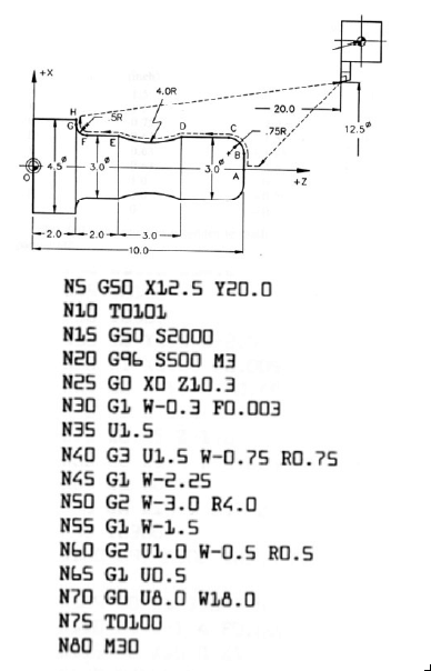
1577135 Ano: 2006
Disciplina: Serviços Gerais
Banca: CONESUL
Orgão: TRENSURB

Abaixo tem-se um programa de torneamento em código G e a respectiva imagem da peça a ser usinada.

enunciado 1577135-1

A linha de programação N55 refere-se a:

 

Provas

Questão presente nas seguintes provas
1577134 Ano: 2006
Disciplina: Serviços Gerais
Banca: CONESUL
Orgão: TRENSURB
Na automação dos processos de manufatura um recurso muito utilizado é o software Supervisório. O nível de Supervisão, nos processos de manufatura, atua como um estágio intermediário da informação transferida entre o Sistema de Informação e Gerenciamento e o Sistema de Controle. Não é correto afirmar sobre as funções do Nível de Supervisão:
 

Provas

Questão presente nas seguintes provas
1577133 Ano: 2006
Disciplina: Engenharia Hidráulica
Banca: CONESUL
Orgão: TRENSURB

A simbologia dos componentes hidráulicos abaixo representam uma unidade hidráulica.

enunciado 1577133-1

Os componentes que formam esta unidade são:

 

Provas

Questão presente nas seguintes provas