Foram encontradas 30 questões.
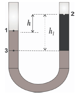
Um tubo em forma de U está aberto em ambas as extremidades e é parcialmente preenchido com água cuja densidade é !$ ρ !$a. Considere que esse aparato experimental esteja submetido a uma pressão atmosférica Padm em relação ao nível do mar. Certa quantidade de óleo de densidade !$ ρ !$o é colocada no braço direito do tubo, formando uma coluna de altura h1, como mostra a figura abaixo:

São feitas as seguintes afirmações a respeito do problema:
I- A pressão exercícida na coluna de água e na de óleo nos pontos 1 e 2 é diferente.
II- A pressão no ponto 3 é dada por P3 = Patm + !$ ρ !$agua.g.(h1 - h)
III- A diferença h nas alturas das duas superfícies líquidas é h1 !$ \left ( 1-\dfrac{ρo}{ρa} \right ) !$
É VERDADE o que se afirma em
Provas
Em 1807, Fourier (1768-1830) apresentou um artigo para a Academia de Ciências da França que revolucionou a matemática na época. Ele descreveu o problema da propagação do calor em barras, chapas e sólidos metálicos. Mais tarde, William Thomson (1824-1927), mais conhecido como Lord Kelvin, ou simplesmente Kelvin, também se interessou pelo problema dando grandes contribuições, e chegou a afirmar que sua carreira como físico-matemático fora influenciada por Fourier. A frase mais famosa atribuída a Fourier é: "O estudo profundo da natureza é a fonte mais rica de descobertas matemáticas".
Revista Brasileira de Ensino de Física, vol. 41, no 3, e20180245 (2019) www.scielo.br/rbef DOI: http://dx.doi.org/10.1590/1806-9126-RBEF-2018-0245 (Adaptado)
No laboratório de Física foi testado o aparato experimental para analisar o comportamento térmico de uma barra metálica. A situação do aparato experimental é descrita da seguinte forma: Considere uma barra metálica, com coeficiente de condutividade térmica k, e área de seção transversal A, a barra encontra-se envolvida com material que não permite a propagação do calor para o meio externo. Os dois reservatórios encontram-se com temperaturas T2 e T1 respectivamente, com T2 > T1. Algumas analises foram realizadas considerando o regime estacionário, das quais destacam-se três:

I- O fluxo de calor na barra é no sentido do reservatório Q (Temperatura T2), para o reservatório F (Temperatura T1).
II- A temperatura no ponto P, ponto próximo à extremidade do reservatório da fonte quente Q é !$ T_ p = \dfrac{T_2 e_2 - T_ 1 e_1}{e_2 + e_1}. !$
III- A temperatura no ponto P, ponto próximo à extremidade do reservatório da fonte quente Q é !$ T_ p = \dfrac{T_2 e_2 + T_ 1 e_1}{e_2 + e_1}. !$
É VERDADEIRO o que se afirma apenas em
Provas
Desde o início do século XIX, a temperatura é reconhecida como um dos pontos-chaves do ensino básico de Física, dada sua importância na caracterização e determinação de inúmeros fenômenos físicos, químicos e biológicos [Pires, 2006, p. 105]. A temperatura é uma das grandezas físicas mais conhecidas e citadas que está inserida no cotidiano das pessoas por meio dos jornais, rádios, televisão, previsões meteorológicas, equipamentos eletrodomésticos etc. Pode-se percebê-la de várias maneiras, por exemplo, para saber quão quente ou frio está um determinado corpo em relação a outro corpo de referência, ou ainda como indicadora do sentido da troca de energia na forma de calor entre o corpo e sua vizinhança [Marques, 2009].
VI Congresso Brasileiro de Informática na Educação (CBIE 2017) Anais do XXIII Workshop de Informática na Escola (WIE 2017) (Adaptado)
Em um laboratório de Física deseja-se realizar um experimento utilizando uma relação matemática entre o comprimento de uma coluna de mercúrio e a relação com os pontos fixos de fusão e ebulição da água à pressão normal. A relação destaca-se da seguinte forma: o comprimento da coluna de mercúrio registra 8,0 cmHg, quando imerso em um banho de (água+ gelo) (0ºC), e 42,0 cmHg, quando imerso em água fervendo à (100ºC). Após a realização do experimento, deseja-se obter duas informações:
I- h O valor registrado na escala Fahrenheit (ºF), quando a coluna de mercúrio registrar T = 24, 0 cmHg;
II- F h O coeficiente angular da reta (m) correspondente à função T = mT + n. Dentre as alternativas abaixo, assinale aquelas que tem os valores respectivamente correspondidos:
Provas
É muito comum em parque de diversões o brinquedo da montanha russa, que permite sensações diversas em trechos em que o corpo é submetido a ações de forças, como também trechos de grandes acelerações e desacelerações. Em um problema hipotético, considere um carrinho de massa 0,5 kg que desliza por um trilho curvo a partir do repouso no ponto A, de acordo com a figura abaixo (desconsidere qualquer efeito de rolamento). O trecho de A para B não tem atrito e o trecho de B a C tem atrito. Agora considere que toda energia mecânica dissipada no trecho B a C, considerando que a esfera chega em C em repouso, fosse convertida (módulo) em forma de calor para aquecer 100 g de água. Qual o valor aproximadamente para a variação de temperatura registrada para o aquecimento da água?
Dados: 1 cal = 4,2 J; calor específico da água: 1cal/gºC; g = 10m/s2

Provas
A chita é um dos mamíferos terrestres mais rápidos do mundo; habita nas savanas africanas, podendo correr a uma velocidade de cerca de 120 km/h por um período talvez de 20 s. Outro animal terrestre que também atinge grandes velocidades é um antílope, natural da América do Norte e tem a capacidade de fugir dos seus predadores a altas velocidades, podendo atingir 88 km/h por um intervalo de tempo bem maior. Apesar de ser mais lento que a chita, este animal tem a capacidade de correr a altas velocidades, devido aos seus grandes pulmões e coração. Suponha que uma chita está perseguindo um antílope e ambos estão correndo em alta velocidade, mantendo a mesma constante. Se o antílope tem uma vantagem de 40 m, quanto tempo a chita levará para alcançá-lo e qual a vantagem máxima (aproximadamente) que o antílope pode ter, se a chita quiser pegá-lo dentro de 20 segundos? Para a segunda parte do problema, considere os dois animais partindo de um mesmo ponto.
Provas
Na multidão (Ferreira Gullar)
Saio de casa e a confusão começa: ônibus passam –, que digo! – farfalham, tilintam, rosnam; bondes chiam e estridem; buzinas, explosões, batidos, apitos – estou em plena cidade brasileira!
Sair de casa cansa mais que trabalhar. Andar pelas ruas do Rio é quase tão estafante quanto quebrar pedras. Não vou, precisamente, para parte alguma a esta hora, não tenho pressa, mas.... Disparam lotações, voam automóveis, motocicletas, lambretas, um ciclista desliza milagrosamente no caos e dobra, lépido, a primeira esquina. O sinal fecha, as pessoas estacam de golpe, e ficam de motor roncando; outras atravessam entre os veículos, praguejam, e quase me atropelam quando abre o sinal: são pastas, embrulhos, quepes, batedeiras, relógios, enceradeiras, seres de um mundo velocíssimo, que a todos levam de roldão.
A todos nós, vítimas da Cidade gigantesca. Estou, cada dia que passa, mais certo de que o maior problema da vida moderna é a Cidade grande, monstruosamente grande, que nos oferece cubículos por casas e gasta nossas horas de ócio em infinitas e incômodas viagens.
Para uma cidade gigantesca não há água que chegue, não há transporte que chegue, não há pão, arroz, feijão, carne que cheguem. Uma cidade de três milhões de habitantes*, perdoem o paradoxo, é inabitável.
E como é triste ser um em três milhões: Pedro, Antônia, Gisela, Carlos? De quê? Carlos de Três Milhões Anônimos da Silva. Mais triste quando se tem dezoito anos, e mais triste ainda quando se tem trinta como se fossem dezoito. O jeito é comprar uma motocicleta, tirar o abafador e sair gritando pelo cano de descarga a notícia de nossa presença no mundo. Presença que nem a nossa cara, nem nosso nome, nem nossa voz conseguem afirmar, dissolvidas na multidão. Saudemos, pois, o homem anônimo. De blusão, de blue-jeans, de motocicleta, de lambreta, lá vai ele, o indivíduo contra a massa, João, filho de dona Maria.
*Em 2004, a população do Rio de Janeiro é de aproximadamente 6 milhões de habitantes, segundo dados do IBGE.
Fonte: Antologias (Crônica infanto-juvenil brasileira) Carlos Eduardo Novaes. São Paulo: Ática, 2005.
Analise as afirmações abaixo, relativas ao processo de estruturação de orações e períodos, e indique qual delas é a CORRETA:
Provas
Na multidão (Ferreira Gullar)
Saio de casa e a confusão começa: ônibus passam –, que digo! – farfalham, tilintam, rosnam; bondes chiam e estridem; buzinas, explosões, batidos, apitos – estou em plena cidade brasileira!
Sair de casa cansa mais que trabalhar. Andar pelas ruas do Rio é quase tão estafante quanto quebrar pedras. Não vou, precisamente, para parte alguma a esta hora, não tenho pressa, mas.... Disparam lotações, voam automóveis, motocicletas, lambretas, um ciclista desliza milagrosamente no caos e dobra, lépido, a primeira esquina. O sinal fecha, as pessoas estacam de golpe, e ficam de motor roncando; outras atravessam entre os veículos, praguejam, e quase me atropelam quando abre o sinal: são pastas, embrulhos, quepes, batedeiras, relógios, enceradeiras, seres de um mundo velocíssimo, que a todos levam de roldão.
A todos nós, vítimas da Cidade gigantesca. Estou, cada dia que passa, mais certo de que o maior problema da vida moderna é a Cidade grande, monstruosamente grande, que nos oferece cubículos por casas e gasta nossas horas de ócio em infinitas e incômodas viagens.
Para uma cidade gigantesca não há água que chegue, não há transporte que chegue, não há pão, arroz, feijão, carne que cheguem. Uma cidade de três milhões de habitantes*, perdoem o paradoxo, é inabitável.
E como é triste ser um em três milhões: Pedro, Antônia, Gisela, Carlos? De quê? Carlos de Três Milhões Anônimos da Silva. Mais triste quando se tem dezoito anos, e mais triste ainda quando se tem trinta como se fossem dezoito. O jeito é comprar uma motocicleta, tirar o abafador e sair gritando pelo cano de descarga a notícia de nossa presença no mundo. Presença que nem a nossa cara, nem nosso nome, nem nossa voz conseguem afirmar, dissolvidas na multidão. Saudemos, pois, o homem anônimo. De blusão, de blue-jeans, de motocicleta, de lambreta, lá vai ele, o indivíduo contra a massa, João, filho de dona Maria.
*Em 2004, a população do Rio de Janeiro é de aproximadamente 6 milhões de habitantes, segundo dados do IBGE.
Fonte: Antologias (Crônica infanto-juvenil brasileira) Carlos Eduardo Novaes. São Paulo: Ática, 2005.
No âmbito da microestrutura textual, um recurso de coesão recorrente no texto é a repetição. Nesse sentido, avalie as explicações fornecidas na sequência:
I- No primeiro e segundo parágrafos do texto, predominam estruturas coordenadas seja de termos (buzinas, explosões, batidos, apitos) ou de orações (ônibus passam, farfalham, tilintam, rosnam; bondes chiam e estridem / Disparam lotações, voam automóveis, motocicletas, lambretas, um ciclista desliza milagrosamente no caos e dobra, lépido, a primeira esquina.), em consonância com o propósito de descrever diferentes cenários.
II- Em uma linguagem mais objetiva, a frase que inicia o quarto parágrafo assim poderia ser escrita: “Para uma cidade gigantesca não há água, transporte ou comida que cheguem”; porém o efeito de sentido não é o mesmo. A repetição da negação (não..., não..., não...), que incide sobre todo o período, além da repetição das orações adjetivas, dá um tom mais contundente à informação.
III- No quinto parágrafo do texto, seguindo com o propósito de enfatizar uma informação, o autor toma como tópico um termo da oração precedente e insere um comentário. Nessa estrutura em forma de adendo, ao termo “presença” segue-se uma oração adjetiva explicativa “que nem a nossa cara, nem nosso nome, nem nossa voz conseguem afirmar”.
É CORRETO o que se afirma em
Provas
Na multidão (Ferreira Gullar)
Saio de casa e a confusão começa: ônibus passam –, que digo! – farfalham, tilintam, rosnam; bondes chiam e estridem; buzinas, explosões, batidos, apitos – estou em plena cidade brasileira!
Sair de casa cansa mais que trabalhar. Andar pelas ruas do Rio é quase tão estafante quanto quebrar pedras. Não vou, precisamente, para parte alguma a esta hora, não tenho pressa, mas.... Disparam lotações, voam automóveis, motocicletas, lambretas, um ciclista desliza milagrosamente no caos e dobra, lépido, a primeira esquina. O sinal fecha, as pessoas estacam de golpe, e ficam de motor roncando; outras atravessam entre os veículos, praguejam, e quase me atropelam quando abre o sinal: são pastas, embrulhos, quepes, batedeiras, relógios, enceradeiras, seres de um mundo velocíssimo, que a todos levam de roldão.
A todos nós, vítimas da Cidade gigantesca. Estou, cada dia que passa, mais certo de que o maior problema da vida moderna é a Cidade grande, monstruosamente grande, que nos oferece cubículos por casas e gasta nossas horas de ócio em infinitas e incômodas viagens.
Para uma cidade gigantesca não há água que chegue, não há transporte que chegue, não há pão, arroz, feijão, carne que cheguem. Uma cidade de três milhões de habitantes*, perdoem o paradoxo, é inabitável.
E como é triste ser um em três milhões: Pedro, Antônia, Gisela, Carlos? De quê? Carlos de Três Milhões Anônimos da Silva. Mais triste quando se tem dezoito anos, e mais triste ainda quando se tem trinta como se fossem dezoito. O jeito é comprar uma motocicleta, tirar o abafador e sair gritando pelo cano de descarga a notícia de nossa presença no mundo. Presença que nem a nossa cara, nem nosso nome, nem nossa voz conseguem afirmar, dissolvidas na multidão. Saudemos, pois, o homem anônimo. De blusão, de blue-jeans, de motocicleta, de lambreta, lá vai ele, o indivíduo contra a massa, João, filho de dona Maria.
*Em 2004, a população do Rio de Janeiro é de aproximadamente 6 milhões de habitantes, segundo dados do IBGE.
Fonte: Antologias (Crônica infanto-juvenil brasileira) Carlos Eduardo Novaes. São Paulo: Ática, 2005.
Avalie as proposições a seguir, que dizem respeito a aspectos globais do texto, sinalizando (V) verdadeiro ou (F) falso:
( ) No texto o autor descreve a rotina agitada das grandes cidades, aludindo aos problemas sociais decorrentes das demandas ali existentes e também ao ofuscamento das pessoas, que não interagem na multidão.
( ) Ao inserir na narrativa, que é predominantemente em 1ª pessoa, marcas de indeterminação, a exemplo do verbo no infinitivo e da partícula “se”, o autor promove a generalização dos fatos, tornando-os também atemporais, deixando claro que se está caracterizando um estilo de vida – no caso em questão, o dos grandes centros urbanos.
( ) Na descrição minuciosa do caos em que vivem as pessoas nas metrópoles, evidencia-se um certo incômodo do autor em relação ao barulho/ruído ali existente e, portanto, uma defesa da volta das pessoas à vida no campo, já que o equilíbrio e a felicidade das pessoas estaria na dependência desse ambiente.
A sequência CORRETA de preenchimento dos parênteses é
Provas
Analise o emprego das formas verbais em destaque nas notas expostas na sequência, retiradas da revista Veja, 10/02/21; após isso, levando em consideração a função dos verbos auxiliares, indique, nos parênteses, o número correspondente a cada uma das ocorrências.
| Prazo de validade Dependendo só de uma canetada de Jair Bolsonaro para passar por uma importante reorganização, a Polícia Federal VOLTOU A VIVER (1) sob fantasmas. Uma ala da cúpula do órgão diz que o atual diretor-geral, Rolando de Souza, tem prazo de validade: o fim do inquérito de Sérgio Moro no STF. Depois disso, ele sai para um cargo no exterior e Bolsonaro termina o serviço. |
| Cheguei primeiro! Apesar da destrambelhada lista de quase quarenta prioridades, o Planalto VAI LUTAR (2) com unhas e dentes mesmo é para pôr de pé o auxílio emergencial: “Precisamos fazer antes que o Congresso faça”, diz um ministro. |
| Ainda na esperança O Podemos de Álvaro Dias, que sonha com a filiação de Sérgio Moro, deve esperar até o segundo semestre para desistir do ex-ministro. Agora consultor, Moro TEM VIVIDO (3) na ponte aérea entre Brasil e Estados Unidos. |
| Jairzinho, paz e amor Bolsonaro vai usar a vitória no Congresso para adotar um novo discurso (já de olho em 2022, diga-se): o de democrata. Quem quer dar golpe, PASSARÁ A DIZER (4) o presidente, não faz aliança para governar. |
( ) Tempo composto – expressando ideia de repetição, com nuance de ação/processo frequente, em gradação.
( ) Locução verbal – imprimindo ideia de iminência de ação, ou seja, algo a se realizar em um futuro muito próximo.
( ) Locução verbal – imprimindo a ideia de mudança de ação, estando pressuposta a informação de que a ação ora em evidência não
existia anteriormente.
( ) Locução verbal – ideia de repetição, estando pressuposta a informação de que algo antes habitual fora interrompido.
A sequência CORRETA de correspondência é
Provas
Faça a correspondência entre as funções indicadas em (1), (2) e (3) e as ocorrências sinalizadas nos fragmentos textuais da matéria
CORRIDA DE OBSTÁCULOS:
(1) Aposto (2) Oração Adjetiva explicativa (3) Oração Adjetiva restritiva
| “[...] Chegar até aqui, porém, não foi fácil porque percalços variados surgiram no caminho. [...] O caso mais grave ocorreu em Manaus. [...] Em outros estados, o mau exemplo veio de cima. Em Serra do Navio (AP), o secretário de Saúde, Randolpho Scooth, que não é médico ( ), recebeu uma das 89 doses enviadas ao município. No fim do ano de 2020, ele havia feito postagens criticando a CoronaVac, justamente o imunizante que tomou. Agora furou a fila para se imunizar antes de pessoas que teriam mais direito que ele ( ). “Trabalhamos para que não haja obstáculos que atrasem o avanço da vacinação” ( ), diz a Veja a subprocuradora-geral Célia Delgado, coordenadora do gabinete de acompanhamento da pandemia na Procuradoria-Geral da República. Na quarta-feira 3, a Anvisa retirou a exigência de testes da fase 3 no Brasil, o que abriu caminho para a aprovação do imunizante russo Sputnik V ( ) e [...] Cabe ao país evitar que prospere a máxima do personagem Macunaíma, o herói sem caráter ( ), da obra homônima de Mario de Andrade: “Pouca saúde, muita saúva, os males do Brasil são”. Enquanto a ciência viabilizou imunizantes em tempo recorde, e os órgãos de investigação apertam o cerco às formigas, os gestores públicos devem manter o foco: acelerar a vacinação para pavimentar a estrada que nos conduzirá no fim do pesadelo ( ). |
A sequência numérica CORRETA é
Provas
Caderno Container