Foram encontradas 60 questões.
Na execução de alvenarias, favorecendo o aparecimento de trincas no encontro dessas com a laje e/ou fundo de vigas, o procedimento que pode ser considerado inadequado é o seguinte:
Provas
Responda às questões de 17 a 19, de acordo com a RDC 50, de 21/02/2002, que dispõe sobre o regulamento técnico para planejamento, programação, elaboração e avaliação de projetos físicos de estabelecimentos assistenciais de saúde.
As portas em EAS devem estar de acordo com a finalidade do ambiente a que se destinam e devem atender à condições especificas, que são:
Provas
Considerando uma edificação com dois ou mais pavimentos, a distância mínima entre as caixas de inspeção e os tubos de queda que contribuem para as mesmas, é, em m, de:
Provas
O tipo básico de ligação empregado nos circuitos trifásicos de geradores, motores e transformadores é:
Provas
Responda às questões de 22 a 24, de acordo com a NBR 9050/2004, que trata da acessibilidade a edificações, mobiliário, espaços e equipamentos urbanos.
O deslocamento máximo de uma plataforma de percurso vertical, aberta, em edificações de uso público ou coletivo, em m, é igual a:
Provas
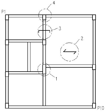
Observe o projeto estrutural abaixo e assinale a alternativa que identifica corretamente os componentes da estrutura.

Provas
O comando que decompõe um objeto composto em objetos primitivos, alterando suas propriedades, é:
Provas
No orçamento , o custo unitário corresponde a unidade de serviço. Assinale a opção que contém as unidades que correspondem aos serviços de: assentamento de meio fio, esgotamento de vala, armação estrutural, respectivamente:
Provas
Responda às questões de 17 a 19, de acordo com a RDC 50, de 21/02/2002, que dispõe sobre o regulamento técnico para planejamento, programação, elaboração e avaliação de projetos físicos de estabelecimentos assistenciais de saúde.
O cuidado com a escolha dos materiais de acabamento e revestimentos são itens muito importantes num projeto de Estabelecimentos Assistenciais de Saúde (EAS), principalmente para as áreas críticas e semicríticas. A RDC-50 recomenda que:
Provas
O comando que permite aparar, ajustar o comprimento ou eliminar parcialmente trechos de um objeto, em relação a outro, é:
Provas
Caderno Container