Foram encontradas 40 questões.
As figuras a seguir apresentam esquematicamente topologias físicas em rede de instrumentação.

Sobre as topologias físicas das redes de instrumentação ilustradas acima, é CORRETO afirmar:
Provas
De acordo com a norma ISA S5.1, que trata da simbologia de diagramas P&ID, o símbolo que representa um sinal binário elétrico é
Provas

Considerando os temporizadores e contadores de um Controlador Lógico Programável (CLP) e o bloco funcional gráfico representado na figura ao lado, o diagrama de eventos, no tempo, e o tipo de temporizador programado no CLP estão CORRETAMENTE relacionados em:
Provas
Sobre medição de temperatura, é CORRETO afirmar:
Provas
Sobre os medidores de vazão do tipo turbina, é CORRETO afirmar:
Provas
Sobre alguns parâmetros que caracterizam os possíveis erros apresentados pelos dispositivos de medição durante uma aferição, considere as figuras a seguir:

Com base nas figuras acima, é CORRETO afirmar:
Provas
Sobre parâmetros que caracterizam os dispositivos de medição, analise as afirmativas a seguir.
I. A sensibilidade é expressa pela razão entre a variação do sinal de saída e a variação do sinal de entrada, quando o estado permanente é alcançado.
II. A histerese é a diferença máxima que se observa nos valores indicados pelo medidor, no mesmo ponto de medição, quando o sinal de entrada percorre toda a escala, no sentido crescente e no sentido decrescente.
III. A linearidade indica quão próxima de uma relação linear é a relação entre a variação do sinal de entrada do medidor e a correspondente variação do sinal de saída. Quando se diz que um medidor tem linearidade de 1%, quer-se dizer, na verdade, que o desvio do par ordenado saída entrada, relativamente à reta que exprime a relação linear média em todo o range, é de 1%.
É CORRETO o que se afirma em
Provas
Observe o símbolo a seguir:

No diagrama de um circuito eletropneumático, o símbolo acima representa uma válvula de controle direcional de:
Provas

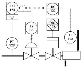
A figura representa um exemplo de diagrama P&ID. Aplicando-se a terminologia da norma ISA 5.1, é CORRETO afirmar que, nessa figura,
Provas
Sobre parâmetros que caracterizam os instrumentos de medição, considere a seguinte definição:
“Faixa na qual a entrada varia sem dar início a mudança observável na saída”.
(BALBINOT, Alexandre; BRUSAMARELLO, Valner João. Instrumentação e
Fundamentos de Medidas. 2 ed. Vol. I. São Paulo: LTC, 2010, p. 18).
A definição apresentada no texto acima refere-se ao parâmetro
Provas
Caderno Container