Foram encontradas 1.200 questões.
;">;"> ;">As Figuras 1, 2 e 3 mostram imagens que remetem, respectivamente, a quais processos de soldagem?

Provas
A figura mostra ferramentas, enumeradas de 1 a 10, utilizadas na manutenção e fabricação de peças em geral.

Quais das ferramentas apresentadas é fresa e broca, respectivamente?
Provas
Seja uma instalação hidráulica cujo tubo possui diâmetro interno de uma polegada. Para efeito de projeto, considerase que a velocidade máxima da água seja 2 m/s. Considerando pi = 3,14 e que a secção do tubo esteja sempre cheia, então a vazão máxima da tubulação é de aproximadamente:
Provas
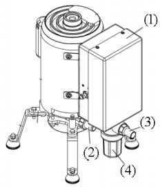
;">;"> ;">A figura ilustra uma bomba de vácuo tipo ciclone, que é um equipamento típico e essencial para um consultório odontológico. Os números (1), (2), (3) e (4) são, respectivamente, indicações das seguintes partes:

Provas
É ação de manutenção, exclusivamente preventiva, aplicada à autoclave:
Provas
;">;"> ;">A figura ilustra a frente e o fundo típico de uma autoclave. Analisando as figuras, os números (1), (2), (3) e (4) indicam respectivamente:

Provas
A figura a seguir mostra um parafuso sujeito à ação de duas forças F1 e F2.

O esforço resultante de cisalhamento ( FC ) e de tração ( FT ) na base do parafuso são, respectivamente:
Provas
Provas
Provas
Provas
Caderno Container