Foram encontradas 65 questões.
Observe a figura abaixo:

Conforme descritas na Norma Regulamentadora (NR) nº 10, são apresentadas, na Figura acima, as distâncias no ar que delimitam radialmente as zonas de risco, controlada e livre, com interposição de superfície de separação física adequada. Sendo:
ZL – Zona livre.
ZC – Zona controlada, restrita a trabalhadores autorizados.
ZR – Zona de risco, restrita a trabalhadores autorizados e com a adoção de técnicas, instrumentos e equipamentos apropriados ao trabalho.
PE – Ponto da instalação energizado.
SI – Superfície isolante construída com material resistente e dotada de todos os dispositivos de segurança.
RC – Raio de delimitação entre zona controlada e livre em metros.
RR – Raio de delimitação entre zona de risco e controlada em metros.
As representações de I a VII são:
Provas
Questão presente nas seguintes provas
De acordo com a Norma Regulamentadora (NR) nº 6, sobre Equipamento de Proteção Individual (EPI), é um EPI para proteção de membro superior
Provas
Questão presente nas seguintes provas
Uma cerca de arame vai ser construída a partir de um poste já existente. A distância entre os postes será de 3 m e o número de fios de arames será 5. No orçamento de postes e de arame, 40% do custo total será gasto na compra dos postes e 60% na compra do arame. Após estudos, por uma medida de economia, o projeto foi refeito e a distância entre os postes passou a ser de 4 m e serão utilizados apenas 4 fios de arame.

A economia no custo de postes e arame será de:
Provas
Questão presente nas seguintes provas
Conforme Norma Regulamentadora (NR) nº 10, as intervenções em instalações elétricas com tensão igual ou superior a 50 Volts em corrente alternada ou superior a 120 Volts em corrente contínua somente podem ser realizadas por trabalhadores que atendam ao que estabelece essa Norma. Já as operações elementares, como ligar e desligar circuitos elétricos, realizadas em baixa tensão, com materiais e equipamentos elétricos em perfeito estado de conservação, adequados para operação, podem ser realizadas por
Provas
Questão presente nas seguintes provas
Existe uma temperatura mínima em que um combustível começa a desprender vapores que, se entrarem em contato com alguma fonte externa de calor, inflamam-se, mas a chama não se mantém, não se sustenta, por não existirem vapores suficientes. Essa temperatura é denominada
Provas
Questão presente nas seguintes provas
JUNA, colaboradora contratada da Empresa XYZ, sob regime de CLT, depois de advertida, foi dispensada por justa causa por ter sido flagrada reiteradas vezes não utilizando óculos de proteção em atividade que exigia o uso do referido EPI. Analise a punição e assinale a alternativa CORRETA.
Provas
Questão presente nas seguintes provas
A família de microcontroladores PIC tem uma grande variedade de modelos. Os níveis de pipeline da série 18FXX são:
Provas
Questão presente nas seguintes provas
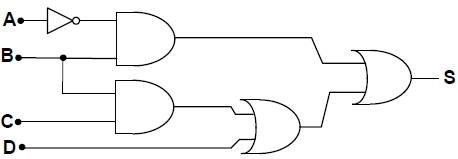
A expressão que representa o circuito é:

Provas
Questão presente nas seguintes provas
Instruções: Leia os textos 2 e 3 para responder a questão.
TEXTO 2

Fonte: Disponível em: http://mundodaquimica2010.
blogspot.com.br/2010/12/charge-preserve-agua.html Acesso em: 11 ago 2014.
TEXTO 3

Fonte: LIMA. Clóvis. Disponível em: http://geografianovest.
blogspot.com.br/2012/06/desmatamento-em-charges.html. Acesso em: 11 ago 2014.
No texto 3, há o uso de uma variante não padrão. Assinale a alternativa que apresenta essa variante:
Provas
Questão presente nas seguintes provas
Um joelho de PVC de 90° e de diâmetro 100 mm para uma tubulação de água é da forma (Figura 1):

Para saber o quanto de material utilizado para a construção do joelho é necessário calcular sua área. Esse cálculo é complexo. Um cálculo aproximado para o valor da área do joelho é obtido considerando-se o dobro da área da figura plana (Figura 2).

Nesse caso, o valor aproximado da área do joelho será:
Provas
Questão presente nas seguintes provas
Cadernos
Caderno Container