Foram encontradas 60 questões.
Considerando as vistas ortográficas, superior, 01 e 02 a seguir, identifique o modelo em perspectiva correspondente e assinale a opção correta.

Provas
Considerando o modelo em perspectiva, assinale a alternativa em que as vistas ortográficas, superior, 01 e 02 estão coerentes e corretamente desenhadas, segundo as normas do Desenho Técnico.

Provas
Assinale a alternativa que contém as três diferentes soluções para travessia de pedestre em vias públicas apresentadas na NBR 9050/2015.
Provas
Em reformas, quando esgotadas as possibilidades de respeitar as inclinações máximas de rampa para o pleno atendimento das exigências de acessibilidade, admite-se a construção de rampas com inclinações superiores. Para este caso, a tabela abaixo apresenta, na primeira coluna, os desníveis máximos permitidos e, na terceira coluna, o número máximo de seguimentos de rampa. Assinale a alternativa que apresenta os valores das inclinações máximas admitidas (i1 e i2) para completar a segunda coluna da tabela.
|
Desníveis máximos de cada segmento de rampa h m |
Inclinação admissível em cada segmento de rampa i % |
Número máximo de segmentos de rampa |
| 0,20 | i1 | 4 |
| 0,075 | i2 | 1 |
Provas
Nas rotas acessíveis, as rampas e escadas que não possuírem paredes laterais devem dispor de guias de balizamento. Estas são elementos edificados ou instalados junto aos limites laterais das superfícies de piso, destinados a definirem claramente os limites da área de circulação de pedestres. A altura mínima da guia de balizamento deve ser:
Provas
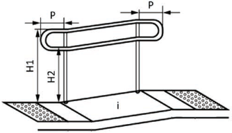
Visando ao atendimento dos princípios do desenho universal, as rampas que estiverem em uma rota acessível devem sempre possuir, além da inclinação adequada, elementos como corrimão em duas alturas, que deve ser prolongado após o término da rampa. Considerando que em um Projeto de Arquitetura se pretenda vencer um desnível de 0,30 m através de uma rampa de um seguimento, semelhante à ilustrada na figura a seguir, assinale a alternativa que aponta os valores adequados para inclinação (i), alturas de corrimão (H1 e H2) e o prolongamento (P) deste após o término da rampa.

Provas
De acordo como o Decreto nº 5.296/2004, os projetos arquitetônicos e urbanísticos devem ser elaborados atendendo aos princípios do desenho universal, que tem na equiparação das possibilidades de uso um dos seus pressupostos, conforme NBR 9050/2015.
Assinale a alternativa que define desenho universal, de acordo com a Lei nº 10.098/2000.
Provas
Sinalização Tátil no piso são demarcações realizadas por meio de pisos táteis ou de relevos com contraste de luminância em relação ao piso adjacente. Assinale a opção que contém conformações para pisos táteis ou relevos.
Provas
No estacionamento das edificações, as vagas destinadas a veículos que conduzam ou sejam conduzidos por pessoas com deficiência devem ser localizadas de forma que o percurso máximo entre as referidas vagas e o acesso ao edifício propriamente dito seja de:
Provas
Nos estacionamentos externos ou internos das edificações de uso público ou coletivo, ou naqueles localizados em vias públicas, devem ser reservadas vagas para pessoas idosas e com deficiência obedecendo, respectivamente, aos seguintes percentuais do total de vagas:
Provas
Caderno Container