Foram encontradas 64 questões.
As turbinas são máquinas hidráulicas utilizadas na transformação de energia hidráulica, proveniente de quedas d’água, em energia mecânica.
As turbinas podem ser classificadas como de ação ou de reação, dependendo da forma como a água atua nas pás. São consideradas turbinas de ação e de reação, respectivamente:
Provas
Questão presente nas seguintes provas
No que concerne às licenças e afastamentos, regidos pela Lei nº 8.112/1990, assinale a alternativa correta.
Provas
Questão presente nas seguintes provas
A respeito da Lei nº 8112/1990, coloque V para as afirmações verdadeiras ou F, para as falsas.
( ) É dever do servidor atender com presteza à expedição de certidões requeridas para defesa de direito ou esclarecimento de situações de interesse pessoal.
( ) O servidor poderá exercer mais de um cargo em comissão, desde que na condição de interino, quando fará a opção pela remuneração de um deles durante o período da interinidade.
( ) A responsabilidade administrativa abrange os crimes e contravenções imputadas ao servidor, nessa qualidade.
( ) Quando houver danos a terceiros, o servidor responderá perante a Fazenda Pública em ação regressiva.
( ) A proibição de acumular cargos estende-se inclusive a cargos em empresas privadas.
A sequência correta, de cima para baixo, é:
Provas
Questão presente nas seguintes provas
A situação mais comum em projetos que envolvam associações de bombas é aquela em que todas as bombas da associação são iguais, o que permite uma curva final do sistema mais estável e facilita a manutenção. Sobre associação de bombas, é correto afirmar que:
Provas
Questão presente nas seguintes provas
Em válvulas de descargas mais antigas era comum escutar um barulho excessivo e observavam-se depressões e sobrepressões na tubulação. Isso ocorria devido à interrupção brusca do escoamento e é um fenômeno conhecido como:
Provas
Questão presente nas seguintes provas
Uma comporta retangular vertical de 2,0 m de comprimento e 3,0 m de altura é articulada em um ponto “O”, localizado a 3,0 m de altura do fundo do reservatório, conforme ilustrado abaixo. Considere o peso especifico do líquido 10 kN/m³.

Qual a força horizontal resultante na comporta, em kN, quando h é 3,0 m?
Provas
Questão presente nas seguintes provas
A NBR 12214 fixa as condições para a elaboração de projeto de sistema de bombeamento de água para abastecimento público. Sobre sistema de bombeamento de água, é correto afirmar que:
Provas
Questão presente nas seguintes provas
TEXTO 1
A importância de conhecer a nossa história
Para um país como o Brasil, em que a diversidade cultural é imensa, pode parecer estranho quando se fala na história dos nossos antepassados. Ainda mais se pensarmos na forma como ocorreu a formação da nossa sociedade, a partir das influências recebidas dos diferentes ciclos migratórios.
Saber a história de uma nação significa resgatar e preservar a tradição daqueles que contribuíram para que chegássemos ao ponto em que nos encontramos. Trata-se de uma oportunidade única para compreender, inclusive, a nossa própria identidade.
A despeito da visão europeia, que ainda é predominante nos livros didáticos e paradidáticos, há outra corrente que defende que a história da humanidade seja contada com base em outros relatos e visões de mundo.
Nesse sentido, existe uma legislação federal que torna obrigatório o ensino nas escolas da cultura afro-brasileira e indígena. Essa lei, que acaba de completar dez anos, infelizmente ainda é pouco conhecida. Compete a nós, militantes e especialistas da área de educação, colocarmos isso em prática.
Como exemplo, podemos citar o que ocorre em Santo André, na região do ABC paulista. No final de 2013, teve início a capacitação sobre cultura indígena para os professores de Educação Física da rede municipal de ensino. O objetivo é fazer com que o docente passe a utilizar em suas aulas as danças, os jogos cooperativos e as brincadeiras oriundas dessa tradição.
Trazer essa visão de mundo para os alunos é importante para se perceber como a influência desse povo se faz muito presente no nosso dia a dia. Para ficar em um só aspecto, vale mencionar o hábito do banho diário. Sem falar nas centenas de palavras e termos de origem indígena que usamos para nos expressar.
Essa percepção, que por vezes passa despercebida face ao contexto globalizado em que vivemos, é fundamental para mostrar às nossas crianças e jovens a riqueza da cultura e da tradição dos primeiros habitantes do nosso país.
Ao oferecer essa possibilidade aos alunos, estamos contribuindo para resgatar o papel dos índios na formação do Brasil. Serve, ainda, para evitar possíveis percepções preconceituosas em relação a esse povo, que deve ser reverenciado pelas inúmeras contribuições que, hoje, encontram-se naturalmente incorporadas ao nosso cotidiano. Significa também dar à cultura indígena o devido protagonismo que ela tanto merece.
Gilmar Silvério. Disponível em: http://www.gazetadigital.com.br/editorias/opiniao/
a-importancia-de-conhecer-a-nossa-historia/419455.
Acesso em 07/04/2019. Adaptado.
Assinale a alternativa na qual as regras de concordância foram seguidas.
Provas
Questão presente nas seguintes provas
Na maioria das estações elevatórias, os motores utilizados para acionar bombas são motores trifásicos, de indução com rotor em curto-circuito ou de anéis. Sobre motores, é correto afirmar que:
Provas
Questão presente nas seguintes provas
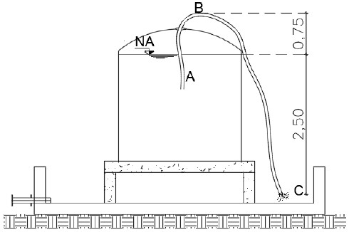
A fim de coletar um pouco de água de um reservatório, utilizou-se sifão, retirando o ar de uma tubulação flexível até estabelecer condições de escoamento, de “A” para “C”, por força da pressão atmosférica. Ver configuração ilustrativa do sistema abaixo. Admita que a perda de carga no trecho AB e BC é de 0,25 m e 0,75 m, respectivamente. (Considere aceleração da gravidade 10,0 m/s²)

A pressão em “B”, em m.c.a., é:
Provas
Questão presente nas seguintes provas
Cadernos
Caderno Container