Foram encontradas 60 questões.
A haste AB desliza mantendo suas extremidades em contato com o piso e o plano inclinado. Considerando que a extremidade A se move com velocidade constante de 0,635 m/s para a direita, assinale a resposta CORRETA quando !$ \theta = 30º !$:

Provas
Um motor elétrico de 20 CV (1 CV=735,5 W) e 900 rpm aciona um sistema de polias que por sua vez aciona o tambor do dispositivo de elevação de cargas mostrado. Nestas condições, assinale a alternativa INCORRETA:

Provas
Analise a figura abaixo e assinale a resposta CORRETA:

Provas
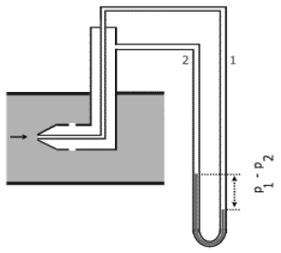
Considere o escoamento do fluido incompressível mostrado na figura abaixo e assinale a resposta CORRETA. As áreas das seções do tubo são dadas respectivamente por A antes do estreitamento e a depois do estreitamento.

Provas
Analise o eixo da figura abaixo e assinale a resposta CORRETA:

Provas
As estruturas abaixo são formadas por elementos de mesmo comprimento, módulo de elasticidade e inércia. Assinale a resposta CORRETA sobre o deslocamento das extremidades livres indicadas pela letra A:

Provas
As figuras abaixo mostram qualitativamente os diagramas de solicitação por momento fletor de vigas de mesmo vão e mesma rigidez submetidas a carregamentos iguais e uniformemente distribuídos. Analise as estruturas e assinale a resposta CORRETA:

Provas
Qual das alternativas mostra CORRETAMENTE o corte indicado pelas setas na figura?

Provas
Assinale a alternativa que CORRETAMENTE apresenta a vista faltante.

Provas
Considerando a carga P constante, analise o mecanismo em posição de equilíbrio abaixo e assinale a alternativa CORRETA:

Provas
Caderno Container