Foram encontradas 60 questões.
Considerando as possibilidades de definição do perfil do líder por meio da grade gerencial da figura a seguir, identifique as preocupações dominantes segundo a ordem das células (1,1), (1,9), (5,5), (9,1) e (9,9):

Provas
Uma empresa construtora necessitará contratar dois funcionários: um projetista de arquitetura e um pedreiro. Qual a técnica de recrutamento indicada nestas duas contratações, respectivamente?
Provas
Conforme a figura abaixo, que representa uma cobertura com telhas cerâmicas, marque a alternativa que contém a ordem correta dos elementos indicados pelos números:

Provas
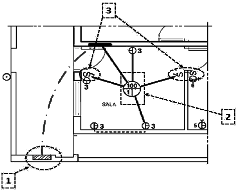
Conforme a figura abaixo, que representa o detalhe da planta baixa de um projeto de instalação elétrica, marque a alternativa que contém a ordem correta dos elementos indicados pelos números.

Provas
Modalidade de licitação é a forma específica de conduzir o procedimento licitatório, a partir de critérios definidos em lei. O valor estimado para contratação é o principal fator para escolha da modalidade de licitação. Quais as modalidades permitidas pela Lei 8.666/1993 para obras e serviços de engenharia?
Provas
Disciplina: Segurança e Saúde no Trabalho (SST)
Banca: UFSCAR
Orgão: UFSCAR
A principal norma de segurança na construção – a NR-18 – Condições e Meio Ambiente de Trabalho na Indústria da Construção, estabelece:
Provas
A figura a seguir apresenta um esquema de uma planta topográfica, obtida em um levantamento planialtimétrico. Se a escala dessa planta é 1:500 e a distância “d” entre os pontos A e B, determinada na planta, tem 3,0 cm, qual é o ângulo vertical entre os pontos A e B, em graus?

Provas
Sabendo que o rumo do alinhamento AB é 40º SO, determine o azimute do alinhamento BA.
Provas
Para a composição de custos dada a seguir, considerando que os encargos sociais são de 120% e BDI de 20%, o custo do serviço de execução de um metro cúbico de tubulão à céu aberto é:

Provas
O PERT/CPM é extremamente útil no planejamento e gerenciamento de construções de obras civis. Com relação a este assunto, a alternativa que está errada é:
Provas
Caderno Container