Foram encontradas 60 questões.
Assinale a alternativa incorreta sobre fratura do fundido e pele de cação, defeitos que podem ser encontrados em perfis de plásticos obtidos por extrusão:
Provas
Quando o molde se fecha, uma força de fechamento constante é aplicada para mantê-lo fechado e suportar as altas pressões que se desenvolvem dentro da cavidade durante as etapas de injeção (preenchimento) e recalque (ou empacotamento, ou compensação). Caso o valor da pressão nestas etapas ultrapasse a força de fechamento do molde, teremos um defeito conhecido como:
Provas
Uma peça de plástico injetada incompleta, também conhecida por moldado curto, pode ser o resultado dos seguintes ajustes efetuados na máquina:
Provas
As curvas de tensão-deformação sob tração, apresentadas na figura a seguir, representam comportamentos distintos do polímero em diferentes velocidades e temperaturas de ensaio. Considere as seguintes afirmações.

I. Com o aumento da velocidade de ensaio ou a diminuição da temperatura, o material apresenta comportamento cada vez mais frágil.
II. Com a diminuição da velocidade de ensaio, o material apresenta comportamento mecânico mais rígido.
III. Com a diminuição da temperatura o material apresenta comportamento mais dúctil e tenaz.
IV. O comportamento mecânico deste material polimérico é fortemente dependente da temperatura e da velocidade nas quais o ensaio é realizado.
V. A elongação na ruptura é tanto maior quanto menor a temperatura e maior a velocidade de ensaio.
Estão corretas as afirmações:
Provas
As curvas de tensão-deformação a seguir indicam comportamentos mecânicos distintos sob tensão, podendo ser descritos como uma combinação de frágil ou tenaz e duro ou mole. Assinale a alternativa que descreve estes comportamentos, comparando-os entre si:

Provas
Identifique as partes I, II e III que compõe a seguinte matriz de extrusão desta figura:

Provas
Indique as parte da extrusora indicadas na seguinte figura nos números de I a V, respectivamente:

Provas
A figura a seguir compreende uma geometria moldada por injeção convencional. Assinale a alternativa que apresenta as partes indicadas nas setas numeradas de forma sequencial, de I a V:

Provas
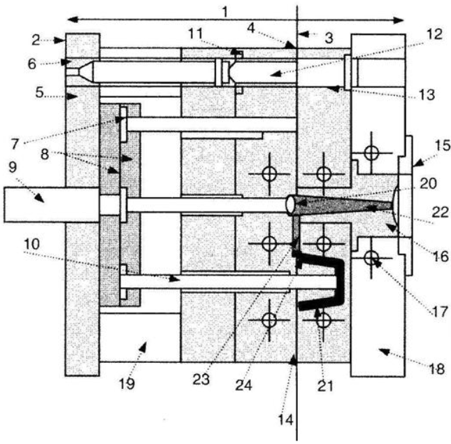
A figura a seguir compreende um molde de injeção com suas partes principais numeradas.

Identifique os números que identificam as seguintes partes, respectivamente: linha de partição, placa móvel, placa fixa, pinos extratores e canais de refrigeração:
Provas
Assinale a alternativa correta com relação à extrusão de termoplásticos:
Provas
Caderno Container