Foram encontradas 914 questões.
Sobre os mancais de rolamento, assinale a alternativa correta:
Provas
Assinale a alternativa correta com relação à união por meio de parafusos:
Provas
A figura a seguir apresenta uma viga contendo uma massa M em uma das extremidades e uma força F aplicada na outra extremidade. Assinale a alternativa correta:

Provas
A figura a seguir apresenta um diagrama tensão- deformação para um determinado aço. Assinale a alternativa correta:

Provas
Uma barra de seção circular foi projetada para suportar uma massa de 2.000 kg em um ambiente em que a aceleração da gravidade é de 10 m/s2. A barra é de um material que possui um limite de escoamento de 10 MPa e o fator de segurança utilizado é igual a 1. Considerações de projeto afirmam que a barra não poderá sofrer qualquer deformação plástica. Assinale a alternativa correta:

Provas
A figura a seguir mostra um tanque com formato U contendo água com densidade constante ρ em um ambiente em que a aceleração da gravidade é dada por g. Um lado do tanque possui área da seção transversal A1 e o outro lado possui área A2. No lado correspondente a A1, coloca-se uma massa M e a altura da coluna de água torna-se h1. No outro lado, aplica-se uma força F, resultando em uma altura dada por h2. Obtém-se assim a configuração de equilíbrio estático para h1≠h2. No fundo de cada lado do tanque, medem-se as pressões manométricas e estas são dadas por P1 e P2. Sobre o problema, é correto afirmar que:

Provas
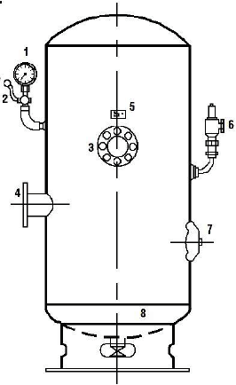
Um sistema de ar comprimido é dotado, geralmente, de um ou mais reservatórios, que desempenha, entre outras funções, o armazenamento do ar comprimido e a compensação das flutuações de pressão em todo o sistema de distribuição. Observe a figura abaixo e assinale a alternativa que indica corretamente os nomes das partes indicadas pelos números.

Provas
A respeito do fluido de usinagem, é correto afirmar que:
Provas
Assinale a opção que completa de maneira correta a sentença: Os fluidos de corte tem por finalidade: a área de corte, as superfícies em atrito, o cavaco da área de corte e proteger a ferramenta, a peça e a máquina contra e corrosão.
Provas
Assinale a opção que completa de maneira correta a sentença: Graxa lubrificante é o nome genérico e popular dado a um lubrificante pastoso (semiplásticos) ou de viscosidade. Tem como função reduzir o atrito, o , o aquecimento e proteger contra a .
Provas
Caderno Container