Foram encontradas 40 questões.
Sobre a manutenção industrial, assinale a alternativa INCORRETA.
Provas
Questão presente nas seguintes provas
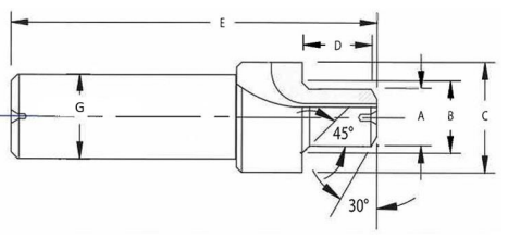
Considere o desenho de uma ferramenta na figura abaixo cuja parte cortante é indicada pela cota D.
Assinale a alternativa INCORRETA.


Provas
Questão presente nas seguintes provas
Considere as seguintes asserções sobre fontes de alimentação e seus componentes.
I. Uma fonte de alimentação é composta por transformador, retificador e regulador.
II. Dentre os vários sistemas de proteção contra um curto-circuito, um sistema limitador Foldback protege apenas a tensão de saída em um circuito.
III. O circuito retificador de onda completa em ponte é um circuito composto por quatro diodos.
IV. Um filtro capacitivo é ligado na saída de um circuito retificador que visa eliminar ruídos e ondulações, como também de estabilizar a tensão de saída, consequentemente, ele pode proteger equipamentos eletroeletrônicos.
Assinale a alternativa que apresenta apenas asserções corretas.
I. Uma fonte de alimentação é composta por transformador, retificador e regulador.
II. Dentre os vários sistemas de proteção contra um curto-circuito, um sistema limitador Foldback protege apenas a tensão de saída em um circuito.
III. O circuito retificador de onda completa em ponte é um circuito composto por quatro diodos.
IV. Um filtro capacitivo é ligado na saída de um circuito retificador que visa eliminar ruídos e ondulações, como também de estabilizar a tensão de saída, consequentemente, ele pode proteger equipamentos eletroeletrônicos.
Assinale a alternativa que apresenta apenas asserções corretas.
Provas
Questão presente nas seguintes provas
Sobre o escoamento de um fluido por um sistema hidráulico, assinale a alternativa INCORRETA.
Provas
Questão presente nas seguintes provas
O ensaio de tração é feito em corpos de provas devidamente preparados e que segue normas a fim de
determinar várias propriedades mecânicas de materiais. Considerando as ilustrações esquemáticas A) e B) do
mesmo corpo de prova de seção circular antes e após o teste de tração, respectivamente, são feitas as
seguintes afirmações:
Tomando como referência as figuras A) e B) para um ensaio de tração são feitas as seguintes afirmações:
I. A região indicada pela letra “J ” é chamada de cisalhamento e contém tensões compressivas resultantes da queda na temperatura durante o ensaio.
II. Se a carga P em ambas as extremidades do corpo de prova na figura B) for removida, o corpo de prova retornará para a sua posição inicial, conforme figura A.
III. É possível obter módulo de Young, resiliência e tenacidade.
IV. Se dois materiais diferentes, por exemplo, o ferro fundido cinzento e o aço ABNT 1020 recozido forem tracionados até às suas rupturas, eles apresentarão diferentes tipos de fraturas.
Assinale a alternativa que apresenta apenas asserções corretas.
Tomando como referência as figuras A) e B) para um ensaio de tração são feitas as seguintes afirmações:
I. A região indicada pela letra “J ” é chamada de cisalhamento e contém tensões compressivas resultantes da queda na temperatura durante o ensaio.
II. Se a carga P em ambas as extremidades do corpo de prova na figura B) for removida, o corpo de prova retornará para a sua posição inicial, conforme figura A.
III. É possível obter módulo de Young, resiliência e tenacidade.
IV. Se dois materiais diferentes, por exemplo, o ferro fundido cinzento e o aço ABNT 1020 recozido forem tracionados até às suas rupturas, eles apresentarão diferentes tipos de fraturas.
Assinale a alternativa que apresenta apenas asserções corretas.
Provas
Questão presente nas seguintes provas
Sobre os procedimentos a serem adotados para utilizar instrumentos de medição, como o paquímetro,
por exemplo, considere as asserções abaixo.
I. Deve-se procurar uma melhor posição no manuseio para evitar o erro de paralaxe e, consequentemente, erros na medição.
II. Deve-se observar a resolução do instrumento em relação ao desenho/elemento que será medido antes de iniciar a medição.
III. O uso de luvas de raspa (couro) em ambientes úmidos é imprescindível para evitar o contato da mão com o instrumento, pois o suor da mão pode comprometer a medição.
IV. Deve-se colocá-lo no bolso de camisas ou calças enquanto segura ou inspeciona-se a peça.
Assinale a alternativa que apresenta apenas asserções corretas.
I. Deve-se procurar uma melhor posição no manuseio para evitar o erro de paralaxe e, consequentemente, erros na medição.
II. Deve-se observar a resolução do instrumento em relação ao desenho/elemento que será medido antes de iniciar a medição.
III. O uso de luvas de raspa (couro) em ambientes úmidos é imprescindível para evitar o contato da mão com o instrumento, pois o suor da mão pode comprometer a medição.
IV. Deve-se colocá-lo no bolso de camisas ou calças enquanto segura ou inspeciona-se a peça.
Assinale a alternativa que apresenta apenas asserções corretas.
Provas
Questão presente nas seguintes provas
Considere que em um projeto, para a fabricação de um eixo cilíndrico em barra de aço ABNT 1045, tem-se diâmetro igual a 35,453 mm e o comprimento igual a 100,213 mm. Para fazer a conferência do diâmetro,
será necessário utilizar o
Provas
Questão presente nas seguintes provas
É dada a resistência de um fio elétrico de cobre à temperatura ambiente (20 ºC) igual a 0,3655 Ω. Ele
tem uma seção igual a 4 mm2 e comprimento igual 85 m. A sua resistividade será de
Provas
Questão presente nas seguintes provas
Em relação a um líquido refrigerante para sistemas de refrigeração, assinale a alternativa INCORRETA.
Provas
Questão presente nas seguintes provas
Um técnico de laboratório deve dimensionar um aparelho de ar condicionado para uma sala com baixa
insolação na qual permanecem 3 pessoas. A sala possui área igual a 32 m2
. Considerando que são necessários
600 BTU/h por m2 de área construída, o aparelho de ar condicionado deverá ter a quantidade mínima em BTU
igual a
Provas
Questão presente nas seguintes provas
Cadernos
Caderno Container