Foram encontradas 1.579 questões.
O ciclo hidrológico representa o caminho que a água percorre ao longo da hidrosfera e suas interações com outras esferas, como a atmosfera, a litosfera e a biosfera. Esse ciclo pode ser analisado como um movimento contínuo de água ou como um sistema. Com relação à abordagem sistêmica na compreensão do ciclo hidrológico, julgue o item a seguir.
Na visão sistêmica, o escoamento superficial é considerado fluxo e armazenamento de água.
Na visão sistêmica, o escoamento superficial é considerado fluxo e armazenamento de água.
Provas
Questão presente nas seguintes provas
A análise dos dados de vazão facilita a compreensão das características de escoamento da bacia hidrográfica e a solução de problemas específicos. Com relação a esse tema, julgue o item que se segue.
Quando a relação cota-descarga torna-se variável, são necessárias medições diretas de vazão sucessivas para a definição das curvas-chaves válidas para diversas condições de controle. Os tipos de curvas de descarga são: curvas instáveis e unívocas, curvas estáveis influenciadas pela declividade, curvas estáveis e curvas instáveis.
Quando a relação cota-descarga torna-se variável, são necessárias medições diretas de vazão sucessivas para a definição das curvas-chaves válidas para diversas condições de controle. Os tipos de curvas de descarga são: curvas instáveis e unívocas, curvas estáveis influenciadas pela declividade, curvas estáveis e curvas instáveis.
Provas
Questão presente nas seguintes provas
Com relação a curvas de nível, julgue o item a seguir.
Perfis topográficos nos quais as curvas de nível concêntricas apresentam os maiores valores de cotas internamente indicam que existem elevações do terreno, tais como morros, montanhas ou cumes
Perfis topográficos nos quais as curvas de nível concêntricas apresentam os maiores valores de cotas internamente indicam que existem elevações do terreno, tais como morros, montanhas ou cumes
Provas
Questão presente nas seguintes provas

Provas
Questão presente nas seguintes provas

Provas
Questão presente nas seguintes provas
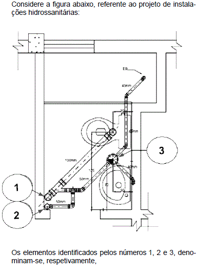
O tubo de esgoto de 100mm é ofertado no comercio com que metragem?
Provas
Questão presente nas seguintes provas
A água de cisterna de chuva não deve ser utilizada na:
Provas
Questão presente nas seguintes provas
A caixa sinfonada é um componente do(a):
Provas
Questão presente nas seguintes provas
Quando devemos aquecer um tubo com fogo?
Provas
Questão presente nas seguintes provas
O esgoto deve ter uma inclinação de:
Provas
Questão presente nas seguintes provas
Cadernos
Caderno Container