Foram encontradas 39.300 questões.
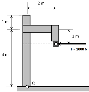
Analise a figura abaixo:

O momento Mo da força F com relação ao ponto O na figura é de:
Provas
Observe a imagem da indicação de medição do micrômetro abaixo:

Assinale a alternativa que indica corretamente a medida que está sendo representada com o alinhamento dado pelo traço destacado pela seta.
Provas
Observe a imagem do nônio do paquímetro abaixo:

Assinale a alternativa que indica corretamente a medida que está sendo representada com o alinhamento dado pelo traço destacado indicado por uma seta no nônio.
Provas
Todo componente estrutural que apresente descontinuidades, como furos ou variação brusca de seção, quando solicitados, desenvolvem tensões maiores na região de descontinuidade do que a tensão média ao longo da peça.
Isso é conhecido como:
Provas
Em um desenho técnico de sistema hidráulico, o símbolo que representa um acumulador por gás com membrana é:
Provas
Assinale a alternativa que apresenta somente processos de remoção com ferramentas de geometria definida.
Provas
Em um desenho técnico de sistema hidráulico, o símbolo que representa uma bomba simples, com deslocamento variável, é:
Provas
Qualquer equipamento hospitalar deve seguir algumas regras desde aquisição, recebimento, ensaios, inventários, instalações, registros, treinamentos, documentações e armazenamento. Qual NBR trata destes pontos?
Provas
Sistemas trocadores de calor são muito usuais em aplicações domésticas, mas muito necessários em ambientes hospitalares e industriais, tanto para aquecimento quanto para resfriamento. Das alternativas abaixo, em qual todos os itens de sistemas trocadores de calor são os tipos mais usuais?
Provas
Em um hospital, você como engenheiro(a) necessita aprimorar o sistema de refrigeração de equipamentos e ambientes, pois está defasado em relação à necessidade. Qual dos equipamentos abaixo você faria a indicação para uso?
Provas
Caderno Container