Foram encontradas 3.467 questões.
Em relação a material perfurocortante, é correto afirmar
que
Provas
Questão presente nas seguintes provas
Em relação a um amplificador de instrumentação, pode-se
afirmar que se trata de
Provas
Questão presente nas seguintes provas
Um retificador de onda completa pode ser realizado com
Provas
Questão presente nas seguintes provas
Qual é a melhor definição para manutenção preventiva?
Provas
Questão presente nas seguintes provas
As manutenções corretiva e preventiva, para serem
realizadas de forma correta, apresentam em comum a
necessidade de
Provas
Questão presente nas seguintes provas
O gerenciamento das manutenções de equipamentos
médico-hospitalares deve:
Provas
Questão presente nas seguintes provas
A imagem abaixo apresenta uma ferramenta muito
utilizada para corte, desbaste e polimento de materiais bem
rígidos. Como se chama essa ferramenta?


Provas
Questão presente nas seguintes provas
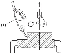
A figura a seguir ilustra a aplicação de um instrumento na medição
do alinhamento de uma peça em uma máquina.
O instrumento (1) é conhecido como
O instrumento (1) é conhecido como
Provas
Questão presente nas seguintes provas
A figura a seguir apresenta a leitura realizada em um paquímetro
com escala em milímetros.
A medida desse paquímetro é:
A medida desse paquímetro é:
Provas
Questão presente nas seguintes provas
As etapas para realização da operação de torneamento cilíndrico
externo são apresentadas a seguir.
1. Marcar do comprimento a ser torneado
2. Fixar a peça
3. Executar o torneamento do diâmetro externo
4. Montar a ferramenta no porta-ferramentas
5. Determinar a profundidade do corte
6. Regular a rotação do torno
Assinale a opção que indica a sequência correta para execução dessa operação, da primeira para a última.
1. Marcar do comprimento a ser torneado
2. Fixar a peça
3. Executar o torneamento do diâmetro externo
4. Montar a ferramenta no porta-ferramentas
5. Determinar a profundidade do corte
6. Regular a rotação do torno
Assinale a opção que indica a sequência correta para execução dessa operação, da primeira para a última.
Provas
Questão presente nas seguintes provas
Cadernos
Caderno Container