Foram encontradas 45 questões.
Assinale a alternativa correta a respeito de Flambagem em colunas.
Provas
Analise as afirmativas abaixo a respeito dos processos de fabricação de engrenagens:
1. A usinagem convencional com fresa módulo, na qual cada dente da engrenagem é usinado isoladamente, necessita de um cabeçote divisor na fresadora.
2. A usinagem com fresa caracol (processo Pfauter) exige qualidade de sincronismo de movimento entre a fresa e o eixo da engrenagem que está sendo fabricada.
3. Para dar acabamento de alta qualidade em engrenagens, são utilizados processo de retificação, brunimento ou lapidação de engrenagens.
4. A produção de engrenagens, sem remoção de material, pode ser feita através de fundição, extrusão, estampagem e forjamento.
Assinale a alternativa que indica todas as afirmativas corretas.
Provas
A interferência entre duas engrenagens ocorre quando a cabeça do dente de uma engrenagem interfere provocando adelgaçamento no fundo do dente da outra engrenagem conjugada, o que gera um mau funcionamento da transmissão.
Assinale a alternativa correta em relação ao assunto.
Provas
Acoplamentos são elementos de máquinas que transmitem momentos de rotação (movimentos de rotação e forças) de um eixo motor para outro elemento de máquina situado, geralmente, coaxial a ele.
Quando se necessita transmitir momentos de rotação em casos de árvores que formam um ângulo fixo ou variável durante o movimento e este ângulo excede 10°, o tipo de acoplamento mais indicado é:
Provas
Uma partícula de massa m está a uma velocidade de 1,5 m/s. Se a quantidade de movimento dessa partícula possui um módulo de Q = 24 kg.m/s, qual é a massa dessa partícula?
Provas
Analise as afirmativas abaixo a respeito dos elementos básicos das engrenagens:
1. O diâmetro primitivo de uma engrenagem serve como base para os cálculos do dimensionamento dessa engrenagem, e é igual ao seu diâmetro externo.
2. O módulo de uma engrenagem é obtido dividindo-se o seu diâmetro primitivo pelo número de dentes, e serve como base para calcular a dimensão dos dentes.
3. Os pontos de contato entre os dentes da engrenagem motora e movida estão ao longo da face e do flanco do dente e, com o movimento das engrenagens, deslocam-se em uma linha reta, a qual forma, com relação à tangente comum às duas engrenagens, um ângulo chamado de ângulo de pressão.
4. Para acoplar adequadamente duas engrenagens, elas precisam ter o mesmo módulo, mas não necessariamente o mesmo ângulo de pressão.
Assinale a alternativa que indica todas as afirmativas corretas.
Provas
Assinale a alternativa correta sobre os diagramas de fase e os diagramas de transformações isotérmicas (curvas TTT) para aço comum ao carbono.
Provas
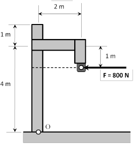
Analise a figura abaixo:

Assinale a alternativa que indica corretamente o momento gerado pela força F com relação ao ponto O na figura.
Provas
José tem R$ 40.000 disponíveis para investir. Destes, ele deixa 1/5 sem aplicar (ou seja, sem render juros), e o restante aplica em um investimento que rende 2,4% de juros simples mensais.
Após 5 meses, o valor em juros obtido por José com a aplicação é:
Provas
Um capital é investido à taxa de juros simples mensal de 3,5%. Após 3 meses este capital rendeu R$ 735 de juros. Portanto, o capital inicial investido foi:
Provas
Caderno Container