Foram encontradas 50 questões.
Com relação aos sistemas de projeções ortogonais nos 1º e 3º diedros adotados pelo sistema internacional de representação de peças, assinale a afirmativa CORRETA.
Provas
Um vazo de pressão, cilíndrico, calandrado de aço AISI 304 com !$ σ !$r = 505 MPa será soldado com uma única costura lateral e duas costuras de contorno na tampa e fundo pelo processo AWS - SMAW utilizando-se o eletrodo AWS E 316L !$ σ !$r = 600 MPa. O diâmetro interno do vazo é D = 1000mm, seu comprimento L = 3500mm e sua espessura e = 3/16 polegadas. Considere o efeito da tensão circunferencial nas paredes laterais, por onde passa um plano bissetor do ângulo de 90oda solda longitudinal e a secção da parede diametralmente oposta.
Admitindo assim a secção máxima no centro da solda, que contém o plano central bissetor longitudinal, em que a espessura é máxima.
Determine a pressão máxima que essas paredes do vazo podem suportar, no limite de ruptura dos materiais, nas secções de solda e parede oposta acima citadas.
Não considerar as forças oriundas da pressão longitudinal, apenas circunferenciais longitudinalmente.
Obs – O cordão tem a geometria descrita abaixo.
- Para comodidade nos cálculos, usar o critério da área projetada, pois o vazo é de parede fina, sendo, portanto, uma boa aproximação.
- Cálculos com 02 decimais e arredondar o resultado para o inteiro superior.
Considerar sen(30º) = 0,50 ; cos(30º) = 0,87; tg(30º) = 0,58; 1 polegada =25,4mm

Assinale a alternativa que apresenta corretamente a pressão acima solicitada.
Provas
Uma planta de fábrica com máquinas operatrizes que devem ser abastecidas por um tanque T, de emulsão de óleo solúvel em água, tem o lay-out de disposição dos equipamentos conforme desenho abaixo. Decidiu-se que a posição de um distribuidor da emulsão para as máquinas A, B e C deveria ficar no centroide espacial relativos as suas vazões, nesse arranjo.

Sabendo-se que as respectivas vazões de emulsão demandadas pelas máquinas A, B e C respectivamente são VA = 5 m3/h, VB = 4 m3/h, VC = 6 m3/h,
pede-se definir as coordenadas do centroide em que se instalará o distribuidor em relação ao centro de gravidade do tanque T. C = (x, y, z) em metros.
Nota – As medidas são referenciadas aos respectivos centros geométricos dos equipamentos e considerar os equipamentos com geometria prismática regular (cubos ou paralelepípedos). Centro de gravidade do tanque é Tcg = (0,0,4). Eixo “Z” positivo saindo do papel.
Assinale a alternativa que define corretamente as coordenadas solicitadas acima.
Provas
Um motor a jato tem uma área à entrada do turbo-compressor de 0,20 m2, e o ar entra neste compressor a uma pressão de 0,985 Kgf/cm2 e velocidade de 90 m/s. A pressão atmosférica reinante é de 1,035 Kgf/cm2. A área de saída do motor é de 0,08 m2 e os produtos da combustão deixam a secção de saída a uma pressão de 1,3 Kgf/cm2 e velocidade de 400 m/s.
A relação ar-combustível é de 50 Kg (ar)/1 Kg de combustível e esse combustível entra na câmara de combustão a baixíssima velocidade. A vazão em massa de ar na entrada é de 14 Kg/s.
Admitido que as forças e velocidades para a direita são positivas, considerando o diagrama abaixo:

e levando em conta a seguinte observação: não considerar a quantidade de movimento do combustível à entrada, pois sua velocidade é muito baixa e considerando a posição do injetor praticamente à entrada e 1 Kgf = 10 N, assinale a alternativa que apresenta o empuxo em N (Newtons) sobre a estrutura em que o motor se encontra ancorado sabendo-se que ele está montado em uma bancada de testes.
Provas
Sobre os ferros fundidos não-ligados suas propriedades e aplicações, assinale a alternativa CORRETA.
Provas
Leia e interprete o seguinte micrômetro.

Com base na leitura e interpretação realizadas, assinale a alternativa que exibe corretamente essa medida.
Provas
A coluna de aço com 50mm de diâmetro na secção transversal mostrada a seguir é enterrada no concreto.

Se um torque é aplicado em seu topo por meio de uma chave rígida, admitindo que o torque apenas torça a coluna (Torção Simples) e que o solo exerça uma resistência torcional uniformemente distribuída T(x) N m/m ao longo do trecho BC. Considere o módulo de elasticidade transversal do aço G = 8x1010 N/m2 e sendo dado o momento de inércia polar J = 1,57R4 onde R é o raio da secção transversal da coluna, determine:
!$ \bullet !$ a tensão de cisalhamento máxima na coluna Tmáx em MPa
!$ \bullet !$ a expressão do torqueT(x) N m/m no trecho enterrado no concreto BC e seu respectivo valor total considerando o comprimento enterrado T(BC) em N m
!$ \bullet !$ e o ângulo de torção !$ α !$ em radianos no topo em A
Assinale a alternativa que apresenta a resposta CORRETA do que foi solicitado acima.
Provas
Analise os dois sistemas planetários 1 e 2 representados na figura abaixo.

Sendo dados n1 = rotação da engrenagem 1 em RPM
Z1 = número de dentes da engrenagem 1
n2 = rotação da engrenagem 2 em RPM
Z2 = número de dentes da engrenagem 2
Dp = diâmetro primitivo da engrenagem maior
dp = diâmetro primitivo da engrenagem menor
m = módulo das engrenagens 1 e 2
i = relação de transmissão do par de engrenagens
Z1 > Z2 no sistema planetário 1
Z1 < Z2 no sistema planetário 2
t1 = tempo que a engrenagem satélite leva para uma órbita completa no sistema planetário 1
t2 = tempo que a engrenagem satélite leva para uma órbita completa no sistema planetário 2
Admita que não há o efeito de patinação entre as engrenagens e partes móveis e as rotações sejam constantes nas peças girantes.
Determine os menores tempos, em segundos, nos quais as engrenagens satélites completam uma órbita inteira em torno da engrenagem motora e assinale a alternativa em que esses tempos estão CORRETOS.
Provas
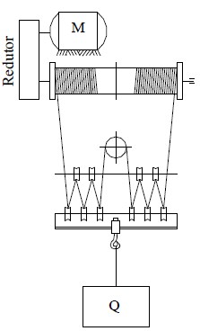
Analise o seguinte desenho de uma máquina de elevação de cargas.

Despreze as inércias e o regime transiente da partida.
Considere: !$ π !$= 3,14 ; 1 Kgf = 10 N; e 1CV = 750W.
sendo dados:
- carga a ser içada. Q = 36 tf
- velocidade de ascensão da carga. v= 1 m/min
- rendimento do tambor e das roldanas !$ η !$t= !$ η !$r = 100% (P/ efeito de cálculo)
- rendimento do redutor !$ η !$R= 80%
- relação de transmissão do redutor i= 540
- diâmetro primitivo de enrolamento do tambor Dp= 600 mm
Arredondando os resultados finais para o inteiro mais próximo, calcule, para condição de regime normal de trabalho:
!$ \bullet !$ a rotação nm (em rpm)
!$ \bullet !$ a potência Pm (em cv)
!$ \bullet !$ o torque Tm (em Nm) do motor “M”
Assinale a alternativa que apresenta correta e respectivamente o que se pede acima.
Provas
Sobre os aços de construção mecânica, no que se refere aos parâmetros físicos na torção desses materiais, analise as seguintes afirmativas e assinale com V as verdadeiras e com F as falsas.
( ) Para materiais com módulos de elasticidade transversal grandes, o ângulo de torção é muito grande e aumenta com o aumento do ângulo de torção.
( ) Para materiais com módulos de elasticidade transversal pequenos, o ângulo de torção é muito pequeno e diminui com o aumento do ângulo de torção.
( ) Materiais com módulo de elasticidade transversal grande fornecem baixos ângulos de torção, e materiais com pequenos módulos de elasticidade transversal fornecem altos ângulos de torção.
( ) O ângulo de torção desses materiais aumenta com a distância entre ponto de aplicação do torque e o ponto onde o material está imobilizado ao giro.
( ) O módulo de resistência à torção é função do momento de inércia polar da secção e seu raio.
Assinale a alternativa que apresenta a sequência de letras CORRETA.
Provas
Caderno Container