Foram encontradas 50 questões.
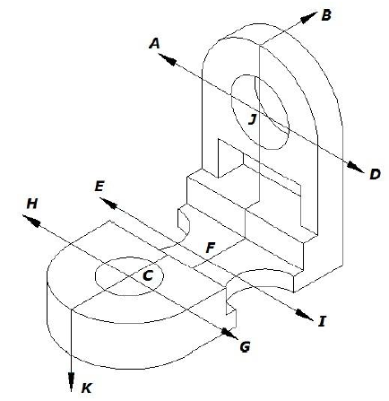
Observe a seguinte perspectiva isométrica. Letras de A a K representam extremidades ou intersecções de possíveis linhas de corte.

Assinale a alternativa que apresenta a linha de corte CORRETA para essa peça.
Provas
Observe a seguinte perspectiva isométrica.

Provas
Uma das fases de um processo de Avaliação de Impacto Ambiental (AIA) é a categorização.
Em relação à categorização, está CORRETO afirmar que
Provas
Disciplina: Segurança e Saúde no Trabalho (SST)
Banca: FUNDEP
Orgão: CEMIG
Numere a COLUNA II de acordo com a COLUNA I associando corretamente cada exemplo com o tipo de risco ergonômico equivalente.
COLUNA I
1. Biomecânico
2. Organizacionais
3. Psicossociais
4. Ambientais
COLUNA II
( ) Exigência cognitiva elevada
( ) Inundações
( ) Postura inadequada
( ) Trabalho por produção
Assinale a alternativa que apresenta a sequência de números CORRETA.
Provas
A norma ISO 9000 é uma série de cinco normas internacionais sobre o gerenciamento e a garantia da qualidade.
Em relação a essa norma, está CORRETO afirmar que ela é
Provas
Disciplina: Segurança e Saúde no Trabalho (SST)
Banca: FUNDEP
Orgão: CEMIG
Consideram-se riscos ocupacionais os agentes existentes nos ambientes de trabalho capazes de causar danos à saúde do empregado. De acordo com a classificação, os principais riscos ocupacionais são divididos em grupos padronizados por cores.
Os riscos de acidentes em eletricidades pertencem ao
Provas
Existem seis critérios para o dimensionamento de condutores elétricos.
Dentre eles, se encontra o critério
Provas
Uma fonte de alimentação utilizada em um detector de neutrinos fornece uma tensão de saída de até 1.000 VCC.
Essa fonte é classificada como um sistema de alimentação em
Provas
A partida indireta de um motor trifásico traz como principal benefício
Provas
Uma das ferramentas utilizadas no sistema da qualidade é o diagrama Ishikawa.
Sobre esse recurso, está CORRETO afirmar que
Provas
Caderno Container