Magna Concursos

Foram encontradas 1.079 questões.

2442265 Ano: 2012
Disciplina: Engenharia Civil
Banca: IF-CE
Orgão: IF-CE
Provas:

O desenho abaixo representa um reservatório de água em concreto armado. O volume de concreto, incluindo paredes e lajes de fundo e superior, é, aproximadamente,

Enunciado 3037036-1

Questão Anulada

Provas

Questão presente nas seguintes provas
2441543 Ano: 2012
Disciplina: Português
Banca: IF-CE
Orgão: IF-CE
Provas:
TEXTO
MEC cancela edição de abril do Enem 2012
Empresa contratada avalia que Ministério não está tecnicamente preparado
O Ministério da Educação (MEC) confirmou nesta sexta-feira que não realizará a edição de abril do Exame Nacional do Ensino Médio (Enem) 2012. De acordo com nota oficial da pasta, a empresa de gestão de risco contratada concluiu que duas edições da avaliação federal no ano “sobrecarregariam as estruturas de logística do exame”. Com a decisão, o Enem 2012 só será aplicado uma vez, nos dias 3 e 4 de novembro.
Na manhã da quinta-feira, após participar de um programa de rádio, o ministro Fernando Haddad já havia dado indícios de que o MEC cancelaria a aplicação do exame em abril. O motivo seria a decisão da Justiça Federal no Ceará, proferida nesta terça-feira, que determina que todos os participantes do Enem tenham acesso à correção de suas redações – uma reivindicação de muitos estudantes. A decisão, vale lembrar, é de primeira instância, e a Advocacia Geral da União (AGU) já anunciou que vai recorrer, representando o MEC.
"Não podemos colocar a máquina em fadiga. Há uma questão tecnológica a ser resolvida. É um problema novo que foi colocado e que não é tão simples assim", disse Haddad, que se despede do MEC na próxima semana, transferindo o posto a Aloizio Mercadante. “Por enquanto, teremos um por ano até que tenhamos fôlego para atender às exigências. A questão está sendo discutida e pode não haver [o exame] em abril.”
No entanto, antes mesmo da decisão da Justiça Federal no Ceará, Haddad já havia colocado em xeque a realização das duas edições do Enem em 2012. No último dia 11, o ministro declarou que o Instituto Nacional de Estudos e Pesquisas Educacionais (Inep), autarquia do MEC responsável pelo Enem, enfrenta dificuldades para "dobrar o esforço da realização de uma prova de 5 milhões de pessoas".
A nova orientação do ministro contraria portaria publicada no dia 20 de maio de 2011 no Diário Oficial da União. O texto determinava a realização do Enem "pelo menos duas vezes ao ano", a partir de 2012, e definia até mesmo as datas de aplicação da avaliação federal no primeiro semestre: 28 e 29 de abril. De acordo com as declarações do ministro nesta manhã, a portaria, assinada pela presidente do Inep, Malvina Tuttman, corre sério risco de virar letra morta.
Disponível em <http://veja.abril.com.br/noticia/educacao/mec-cancela-edicao-de-abril-do-enem-2012>
Na frase “Na manhã da quinta-feira, após participar de um programa de rádio, o ministro Fernando Haddad já havia dado indícios de que o MEC cancelaria a aplicação do exame em abril.”, o número de dígrafos é
Questão Anulada

Provas

Questão presente nas seguintes provas
2441163 Ano: 2012
Disciplina: TI - Redes de Computadores
Banca: IF-CE
Orgão: IF-CE
Provas:
No modelo OSI, a camada responsável pelo controle de fluxo e correção de erro é o(a)
Questão Anulada

Provas

Questão presente nas seguintes provas
2436656 Ano: 2012
Disciplina: Química
Banca: IF-CE
Orgão: IF-CE
Um laboratorista dispõe de um resultado de análise que está em ppm e necessita convertê-lo para mmolc L-1.
Sabendo-se que os valores da análise são 41,5 ppm de sódio, 50,0 ppm de cálcio, 36,0 ppm de magnésio e 53,0 ppm de sulfato, a sequencia correta dos valores, em mmolc L-1, é
Questão Anulada

Provas

Questão presente nas seguintes provas
2435323 Ano: 2012
Disciplina: Engenharia Mecânica
Banca: IF-CE
Orgão: IF-CE
Provas:
É verdadeiro afirmar-se que
Questão Anulada

Provas

Questão presente nas seguintes provas
2435108 Ano: 2012
Disciplina: Química
Banca: IF-CE
Orgão: IF-CE

Julgue as afirmativas.

I. Dessecadores são frascos de vidro, rigorosamente fechados, que são utilizados para umidificar a amostra.

II. Almofariz com pistilo é utilizado na moagem e na pulverização de sólidos.

III. Cadinhos são materiais de alta resistência térmica, normalmente com características refratárias, utilizados para fundição de materiais a altas temperaturas.

IV. Beckers, cápsulas, erlenmeyers são instrumentos comuns utilizados para pesagem de reagentes.

V. Provetas, pipetas e beckers são vidrarias utilizadas, comumente, para medições precisas de volumes.

São verdadeiras:

Questão Anulada

Provas

Questão presente nas seguintes provas
2434750 Ano: 2012
Disciplina: Engenharia Civil
Banca: IF-CE
Orgão: IF-CE
Provas:
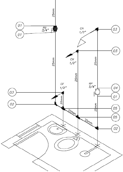
O detalhe isométrico representado na figura foi projetado com tubulação em PVC soldável e as conexões com roscas em latão. Baseado nas conexões assinaladas na figura, pode-se dizer que as quantidades de conexões necessárias para execução desta instalação são:
Enunciado 2877831-1
Figura – Detalhe Isométrico de banheiro
Questão Anulada

Provas

Questão presente nas seguintes provas
2434693 Ano: 2012
Disciplina: Engenharia Civil
Banca: IF-CE
Orgão: IF-CE
Provas:
O piso do refeitório de uma escola deve ser revestido com cerâmica, tipo policarbonato, com dimensões de 42 x 42 cm e juntas de 3 mm. O refeitório tem área com as seguintes dimensões: largura – 6,30 metros; comprimento – 14,00 m. O número de fiadas (largura), de colunas (comprimento) inteiras e dos trinchos (aproximadamente) são, respectivamente, de
Questão Anulada

Provas

Questão presente nas seguintes provas
Leia a tirinha abaixo para responder a questão.
Enunciado 2864616-1.
Disponível em <http://tirasdemafalda.tumblr.com/>
No último quadrinho, são usados dois pontos na fala da Mafalda, por se tratar de
Questão Anulada

Provas

Questão presente nas seguintes provas
TEXTO 1
UM AMIGO POR UM DEFUNTO
Quanto à outra pessoa que teve a força obliterativa, foi o meu colega Escobar que no domingo, antes do meio-dia, veio ter a Mata-cavalos. Um amigo supria assim um defunto, e tal amigo que durante cerca de cinco minutos esteve com a minha mão entre as suas, como se me não visse desde longos meses.
– Você – janta comigo, Escobar?
– Vim para isto mesmo.
Minha mãe agradeceu-lhe a amizade que me tinha, e ele respondeu com muita polidez, ainda que um tanto atado, como se carecesse de palavra pronta. Já viste que não era assim, a palavra obedecia-lhe, mas o homem não é sempre o mesmo em todos os instantes. O que ele disse, em resumo, foi que me estimava pelas minhas boas qualidades e aprimorada educação; no seminário todos me queriam bem, nem podia deixar de ser assim, acrescentou. Insistia na educação, nos bons exemplos, "na doce e rara mãe" que o céu me deu... Tudo isso com a voz engasgada e trêmula.
Todos ficaram gostando dele. Eu estava tão contente como se Escobar fosse invenção minha. José Dias desfechou-lhe dois superlativos, tio Cosme dois capotes, e prima Justina não achou tacha que lhe pôr; depois, sim, no segundo ou terceiro domingo, veio ela confessar-nos que o meu amigo Escobar era um tanto metediço e tinha uns olhos policiais a que não escapava nada.
– São os olhos dele, expliquei.
– Nem eu digo que sejam de outro.
– São olhos refletidos, opinou tio Cosme.
– Seguramente, acudiu José Dias; entretanto, pode ser que a senhora D. Justina tenha alguma razão. A verdade é que uma coisa não impede outra, e a reflexão casa-se muito bem à curiosidade natural. Parece curioso, isso parece, mas...
– A mim parece-me um mocinho muito sério, disse minha mãe.
– Justamente! confirmou José Dias para não discordar dela.
Quando eu referi a Escobar aquela opinião de minha mãe (sem lhe contar as outras, naturalmente), vi que o prazer dele foi extraordinário. Agradeceu, dizendo que eram bondades, e elogiou também minha mãe, senhora grave, distinta e moça, muito moça... Que idade teria?
– Já fez quarenta, respondi eu vagamente por vaidade.
– Não é possível! exclamou Escobar. Quarenta anos! Nem parece trinta; está muito moça e bonita. Também a alguém há de você sair, com esses olhos que Deus lhe deu; são exatamente os dela. Enviuvou há muitos anos?
Contei-lhe o que sabia da vida dela e de meu pai. Escobar escutava atento,perguntando mais, pedindo explicação das passagens omissas ou só escuras. Quando eu lhe disse que não me lembrava nada da roça, tão pequenino viera, contou-me duas ou três reminiscências dos seus três anos de idade, ainda agora frescas. E não contávamos voltar à roça?
– Não, agora não voltamos mais. Olhe, aquele preto que ali vai passando, é de lá.Tomás!
– Nhonhô!
Estávamos na horta da minha casa, e o preto andava em serviço; chegou-se a nós e esperou.
– É casado, disse eu para Escobar. Maria onde está?
– Está socando milho, sim, senhor.
– Você ainda se lembra da roça, Tomás?
– Alembra, sim, senhor.
– Bem, vá-se embora.
Mostrei outro, mais outro, e ainda outro, este Pedro, aquele José, aquele outro Damião...
– Todas as letras do alfabeto, interrompeu Escobar.
Com efeito, eram diferentes letras, e só então reparei nisto; apontei ainda outros escravos, alguns com os mesmos nomes, distinguindo-se por um apelido, ou da pessoa, como João Fulo, Maria Gorda, ou de nação como Pedro Benguela, Antônio Moçambique...
– E estão todos aqui em casa? perguntou ele.
– Não, alguns andam ganhando na rua, outros estão alugados. Não era possível ter todos em casa. Nem são todos os da roça; a maior parte ficou lá.
– O que me admira é que D. Glória se acostumasse logo a viver em casa da cidade, onde tudo é apertado; a de lá é naturalmente grande. ]
– Não sei, mas parece. Mamãe tem outras casas maiores que esta; diz porém que há de morrer aqui. As outras estão alugadas. Algumas são bem grandes, como a da Rua da Quitanda...
– Conheço essa; é bonita.
– Tem também no Rio Comprido, na Cidade-Nova, uma no Catete...
– Não lhe hão de faltar tetos, concluiu ele sorrindo com simpatia.
Caminhamos para o fundo. Passamos o lavadouro; ele parou um instante aí, mirando a pedra de bater roupa e fazendo reflexões a propósito do asseio; depois continuamos. Quais foram as reflexões não me lembra agora; lembra-me só que as achei engenhosas, e ri, ele riu também. A minha alegria acordava a dele, e o céu estava tão azul, e o ar tão claro, que a natureza parecia rir também conosco. São assim as boas horas deste mundo. Escobar confessou esse acordo do interno com o externo, por palavras tão finas e altas que me comoveram; depois, a propósito da beleza moral que se ajusta à física, tornou a falar de minha mãe, "um anjo dobrado", disse ele.
ASSIS, Machado de. Dom Casmurro. Texto de referência: Obras Completas de Machado de Assis, vol. I, Nova Aguilar, Rio de Janeiro, 1994. Publicado originalmente pela Editora Garnier, Rio de Janeiro, 1899.
Disponível em <http://machado.mec.gov.br/images/stories/pdf/romance/marm08.pdf>
Observe as acepções do substantivo reminiscências.
I. Aquilo do qual se recorda; lembrança; recordação.
II. Recordação vaga, quase apagada.
III. Faculdade de reter na memória e reproduzir os conhecimentos adquiridos.
IV. Recordação gradativa que o homem tem das ideias que contemplou em estado puro, antes da sua encarnação; anamnese.
As que mais se adequam ao sentido que se apresenta no fragmento “(...) contou-me duas ou três reminiscências dos seus três anos de idade, ainda agora frescas”, são
Questão Anulada

Provas

Questão presente nas seguintes provas