Magna Concursos

Foram encontradas 690 questões.

1353714 Ano: 2014
Disciplina: Geografia
Banca: UFMT
Orgão: IF-MT
Provas:
Milton Santos afirma que a história do meio geográfico pode ser dividida em três etapas: o meio natural, o meio técnico e o meio técnico-científico-informacional. Sobre o assunto, marque V para as afirmativas verdadeiras e F para as falsas.
( ) Na etapa técnica, o espaço geográfico é formado pelo natural e pelo artificial e as regiões e países passam a se distinguir em função da extensão e da densidade da substituição dos objetos naturais e culturais por objetos técnicos.
( ) Na etapa natural, a ciência, a tecnologia e a informação estão na base da produção e da utilização do espaço geográfico, contribuindo para uma nova interpretação da questão ecológica.
( ) O meio técnico-científico-informacional pode ser considerado a cara geográfica da globalização, pois os espaços territoriais atendem aos interesses dos atores hegemônicos da economia, da cultura e da política, ou seja, atendem à lógica global.
( ) O meio técnico possibilita ao homem a utilização de novos materiais e o encurtamento das distâncias, dessa forma, a tendência é que os tempos sociais se sobreponham aos tempos naturais.
Assinale a sequência correta.
 

Provas

Questão presente nas seguintes provas
1353713 Ano: 2014
Disciplina: Segurança e Saúde no Trabalho (SST)
Banca: UFMT
Orgão: IF-MT
Em relação à Higiene e Segurança no Trabalho, assinale a afirmativa INCORRETA.
 

Provas

Questão presente nas seguintes provas
1353656 Ano: 2014
Disciplina: Administração Geral
Banca: UFMT
Orgão: IF-MT
A tomada de decisão é o processo de identificar oportunidades e problemas e resolvê-los, a partir de esforços antes e depois da escolha concreta. Cada situação de decisão pode ser organizada numa escala de quatro posições. Quais são essas posições?
 

Provas

Questão presente nas seguintes provas
1353596 Ano: 2014
Disciplina: Engenharia Ambiental e Sanitária
Banca: UFMT
Orgão: IF-MT
As cidades passaram por um processo de urbanização intensa observada ao longo da segunda metade do século XX e, nesse período, pode-se evidenciar os limites das soluções clássicas de drenagem urbana, no tocante a sua eficácia. As questões relativas à água no meio urbano passaram por mudanças e técnicas compensatórias foram introduzidas na drenagem de forma a minimizar os impactos da urbanização sobre os processos hidrológicos. Nesse contexto, essas técnicas favorecem a adoção de alternativas de
 

Provas

Questão presente nas seguintes provas
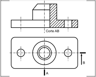
1353587 Ano: 2014
Disciplina: Desenho Técnico e Industrial
Banca: UFMT
Orgão: IF-MT
Perspectiva é a representação gráfica das três dimensões (comprimento, largura e altura) do objeto em um único plano, de maneira a transmitir ideia de profundidade e relevo. É o método para representar em planos bidimensionais (como o papel) situações tridimensionais. A respeito da perspectiva cônica, marque V para as afirmativas verdadeiras e F para as falsas.
( ) A Perspectiva Cônica tem como referência a linha do horizonte e um ou mais pontos de fuga localizados nessa linha para causar o efeito de profundidade.
( ) Linha de Terra é a intersecção do plano horizontal com o plano vertical e fica na altura dos olhos do observador.
( ) A altura do objeto em Verdadeira Grandeza é marcada na Linha do Horizonte.
( ) A distância entre a Linha de Terra e a Linha do Horizonte representa a altura do observador.
Assinale a sequência correta.
 

Provas

Questão presente nas seguintes provas
1353563 Ano: 2014
Disciplina: Engenharia Eletrônica
Banca: UFMT
Orgão: IF-MT
Observe a lista de instruções de uma programação de CLP que apresenta as condições de acionamento da saída L com base no valor de quatro entradas diferentes, A, B, C e D.
LD A
AND(
LD D
OR(
LDN C
ORN B
)
)
ST L
Assinale a equação que aciona a saída L com as mesmas condições dessa lista de instruções e com a menor quantidade de funções lógicas.
 

Provas

Questão presente nas seguintes provas
1353498 Ano: 2014
Disciplina: Direito Ambiental
Banca: UFMT
Orgão: IF-MT
O processo de Licenciamento Ambiental de uma pequena fábrica é iniciado no Órgão Ambiental Estadual. O tipo de licença ambiental, expedida na fase preliminar do planejamento do empreendimento, destinada, entre outras finalidades, a atestar a sua viabilidade ambiental e a estabelecer as condições para a sua instalação, denomina-se:
 

Provas

Questão presente nas seguintes provas
1353495 Ano: 2014
Disciplina: Informática
Banca: UFMT
Orgão: IF-MT
Sobre o Internet Explorer 10, marque V para as afirmativas verdadeiras e F para as falsas.
( ) Complementos, tais como o Adobe Flash, o Quicktime e o Silverlight, são aplicativos usados pelo Internet Explorer para interagir com conteúdo da Web como vídeos e jogos.
( ) A Filtragem ActiveX impede que os sites instalem e utilizem aplicativos ActiveX, fazendo com que a navegação fique mais segura, entretanto o desempenho de alguns sites pode ser afetado.
( ) O Internet Explorer 10 não permite importar os favoritos de outros navegadores, mas permite a importação dos favoritos de versões mais antigas.
( ) O Gerenciador de Downloads mantém os arquivos baixados salvos na pasta Downloads, mas não permite mover os downloads da pasta Downloads para outros locais no computador.
Assinale a sequência correta.
 

Provas

Questão presente nas seguintes provas
1353494 Ano: 2014
Disciplina: Português
Banca: UFMT
Orgão: IF-MT
... as relações entre linguagem e classe social têm, forçosamente, de estar presentes, numa escola transformadora, na definição dos objetivos do ensino da língua materna, na seleção e organização do conteúdo, na escolha de métodos e procedimentos e na determinação de critérios de avaliação da aprendizagem
(SOARES, M. Linguagem e escola: uma perspectiva social. São Paulo: Ática, 1986.)
A partir da leitura do texto, sobre o ensino da língua materna, marque V para as afirmativas verdadeiras e F para falsas.
( ) O uso de variedades linguísticas na escola gera discriminação, porque a realidade linguística do aluno é indispensável ao ensino de leitura e escrita.
( ) Os Parâmetros Curriculares Nacionais apontam para alternativas que minimizem as dificuldades de aprendizagem dos alunos.
( ) A diversidade linguística não deve ser usada como argumento para justificar o fracasso escolar.
( ) A avaliação, articulada à metodologia de ensino adotada, são responsáveis pela legitimação de uma norma linguística.
Assinale a sequência correta.
 

Provas

Questão presente nas seguintes provas
1353456 Ano: 2014
Disciplina: Engenharia Mecânica
Banca: UFMT
Orgão: IF-MT
Sobre representação gráfica de peças mecânicas pelas normas da ABNT, assinale a correta.
 

Provas

Questão presente nas seguintes provas