Foram encontradas 60 questões.
Mais do que um marinheiro de primeira viagem, o passageiro de primeiro voo leva consigo os instintos e os medos primitivos de uma espécie criada para andar sobre a terra. As águas podem ser vistas como extensão horizontal de caminhos, que se exploram pouco a pouco: aprende-se a nadar e a navegar a partir da segurança de uma borda, arrostando-se gradualmente os perigos. Mas um voo é coisa mais séria: há o desafio radical da subida, do completo desligamento da superfície do planeta, e há o momento crucial do retorno, da reconciliação com o solo. Se a rotina das viagens aéreas banalizou essas operações, nem por isso o passageiro de primeira viagem deixa de experimentar as emoções de um heróico pioneiro.
Tudo começa pelo aprendizado dos procedimentos iniciais. O novato pode confundir bilhete com cartão de embar- que, ignora as siglas das placas e monitores do aeroporto, atordoa-se com os avisos e as chamadas da locutora invisível. Já de frente para a escada do avião, estima, incrédulo, quantas toneladas de aço deverão flutuar a quilômetros de altura - com ele dentro. Localizada a poltrona, afivelado o cinto com mãos trêmulas, acompanha com extrema atenção as estudadas instruções da bela comissária, até perceber que ele é a única testemunha da apresentação: os demais passageiros (mal- educados!) leem jornal ou conversam. Quando enfim os motores, já na cabeceira da pista, aceleram para subir e arrancam a plena potência, ele se segura nos braços da poltrona e seu corpo se retesa na posição seja-o-que-Deus- quiser.
Atravessadas as nuvens, encanta-se com o firmamento azul e não tira os olhos da janela - até perceber que é um embevecido solitário. Alguns buscam cochilo, outros conversam animadamente, todos ignoram o milagre. Pouco a pouco, nosso pioneiro vai assimilando a rotina do voo, degusta o lanche com o prazer de um menino diante da merenda, depois prepara-se para o pouso na mesma posição que assumira na decolagem. Tudo consumado, resta-lhe descer a escada, bater os pés no chão da pista e convencer-se de que o homem é um bicho estranho, destinado a imaginar o irrealizável só pelo gosto de vir a realizá-lo. Nos voos seguintes, lerá jornal, cochilará e pouco olhará pela janela, que dá para o firmamento azul.
(Firmino Alves, inédito)
Provas

I. Se o que se deseja, é o ingresso, da INFRAERO no mercado de capitais, será preciso contar com o auxílio de uma consultoria especializada, para promover a reestruturação da empresa bem como a melhoria de sua gestão.
II. A reestruturação da empresa, assim como o aperfeiçoamento de sua gestão, é tarefa de que se ocupará uma consultoria especializada, a ser contratada proximamente, por meio de licitação pública já prevista em um termo de cooperação técnica.
III. Aproveitando a oportunidade da entrevista concedida, em que se pronunciou acerca da contratação de consultoria especializada, o presidente da INFRAERO asseverou, para dirimir dúvidas, que não se cogita de privatizar a INFRAERO.
Está plenamente adequada a pontuação do que está enunciado em
Provas
Provas
considere o texto abaixo.


I. Caberá ao BNDES submeter aos consultores contratados o processo de aperfeiçoamento de gestão promovido pela INFRAERO.
II. As medidas necessárias para o ingresso da INFRAERO no mercado de capitais foram respaldadas pelo conselho de administração.
III. Sendo a principal empresa brasileira do setor, a INFRAERO contará com o apoio do BNDES para o fortalecimento do sistema aeroportuário.
Em relação ao texto, está correto o que se afirma SOMENTE em
Provas
Duas barras cilíndricas, I e II, de mesmo diâmetro estão submetidas à mesma carga de tração, dentro da zona elástica. A barra I tem o triplo do comprimento e o triplo do módulo de elasticidade da barra II.
A expectativa é que o incremento de comprimento da barra I em relação à barra II seja
Provas
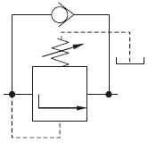
Para o comando de um atuador pneumático de dupla ação, utilizou-se a válvula direcional representada abaixo.

Trata-se de uma válvula
Provas
O enunciado abaixo refere-se a questão.
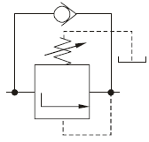
A figura abaixo representa esquematicamente um aparelho de elevação de carga acionado por um sistema hidráulico.

Para nivelar o aparelho de elevação com a plataforma superior de carga e descarga é necessário aumentar o limite de curso em alguns milímetros. Sem alterar o nível em relação à plataforma inferior, uma possível solução seria aumentar
Provas
O enunciado abaixo refere-se a questão.
A figura abaixo representa esquematicamente um aparelho de elevação de carga acionado por um sistema hidráulico.

Para que a plataforma não adquira uma velocidade exces sivamente alta na descida, o operador deve liberar e blo quear o fluxo de óleo intermitentemente. Esse problema seria solucionado se fosse colocada na saída do óleo do atuado uma válvula do tipo
Provas
O enunciado abaixo refere-se a questão.
A figura abaixo representa esquematicamente um aparelho de elevação de carga acionado por um sistema hidráulico.

Deseja-se aumentar a capacidade de carga desse dispositivo de elevação. De acordo com os padrões de segurança, a estrutura suporta esse incremento de carga, porém, o sistema hidráulico atuaria no limite de sua capacidade. Como há um excedente de óleo no reservatório, a solução mais simples e econômica seria
Provas
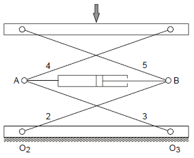
A barra rígida AB, que compõe um mecanismo plano, é mostrada na figura em dois instantes: o inicial 1 e o final 2.

Do diagrama, segundo um observador inercial, constatase que
Provas
Caderno Container