Foram encontradas 60 questões.
Acerca do aço destinado a armaduras para estruturas de concreto armado, considere:
I. As barras da categoria CA 25 são obrigatoriamente providas de nervuras transversais oblíquas.
II. A massa linear absoluta é o valor que representa a massa por unidade do fio ou barra de diâmetro nominal expresso em gramas por metro.
III. A área nominal é representada pela área da seção transversal do fio ou da barra de diâmetro nominal específico expressa em milímetros quadrados.
IV. As barras e fios de aço destinados à armadura de concreto armado devem ser isentos de defeitos prejudiciais, tais como: esfoliação, corrosão, manchas de óleo, redução de seção e fissuras transversais.
Está correto o que se afirma APENAS em
Provas
Exsudação do concreto é a
Provas
Considere o desenho.

O volume de concreto necessário para concretar a caixa d’água da figura, composta de 10 segmentos anelares de 1 metro de altura cada, com espessura da parede de 20 cm, desprezando as juntas, é de
Provas
A utilização de barras de aço juntamente com o concreto, é possível somente devido às seguintes razões:
I. O trabalho conjunto do concreto e do aço é assegurado pela aderência entre os dois materiais.
II. Na região comprimida, onde o concreto possui resistência praticamente nula, ele sofre fissuração, tendendo a se deformar, e, devido à aderência, arrasta consigo as barras de aço.
III. O concreto protege de oxidação o aço da armadura, garantindo a durabilidade da estrutura. IV. Os coeficientes de dilatação térmica do aço e do concreto são praticamente iguais.
V. Nas regiões comprimidas, uma parcela de compressão poderá ser absorvida pela armadura, no caso de o concreto, isoladamente, não ser capaz de absorver a totalidade dos esforços de compressão.
Está correto o que se afirma APENAS em
Provas
Segundo a norma vigente, a espessura admissível "x" para o revestimento de argamassa em paredes internas é
Provas
No sistema predial de esgoto, a tubulação que recebe diretamente os efluentes de aparelhos sanitários é chamada de
Provas
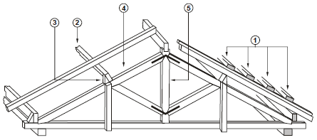
Considere a figura:

Os elementos indicados pelos números 1, 2, 3, 4 e 5, na estrutura da figura, representam, respectivamente:
Provas
Para a execução dos serviços de revestimento em uma edificação foram contratados um pedreiro revestidor a R$ 70,00/h e um ajudante a R$ 30,00/h. Cada um tem produtividade de 0,10 h/m2 de revestimento e os encargos sociais são de 120%.
Neste contexto, o custo total de mão de obra e encargos para a execução de 1000 m2 de revestimento é de
Provas
Sobre as instalações hidráulicas de água fria, considere:
I. As tubulações devem ser dimensionadas de modo que a velocidade da água, em qualquer trecho da tubulação, não atinja valores superiores a 3 m/s.
II. A tubulação de extravasão é destinada a escoar a água proveniente do esvaziamento do reservatório para eventuais limpezas.
III. Registro de utilização é o componente instalado na tubulação destinado a interromper o fluxo de água. Deve ser utilizado totalmente aberto ou fechado.
IV. Ramal predial é a tubulação compreendida entre a rede pública de abastecimento de água e a extremidade a montante do alimentador predial ou da rede predial de distribuição.
Está correto o que se afirma APENAS em
Provas
Disciplina: Legislação Específica das Agências Reguladoras
Banca: FCC
Orgão: INFRAERO
Provas
Caderno Container