Foram encontradas 45 questões.
O modelo OSI possui sete níveis de protocolos. Aquele protocolo cuja função é permitir o envio de uma cadeia de bits pela rede, sem se preocupar com o seu significado ou com a forma como esses bits são agrupados, é:
Provas
Nas instalações residenciais de corrente alternada bifásica tem-se três fios: fase A, fase B e neutro dos quais, entre qualquer uma das fases e o neutro mede-se 110V e entre as fases mede-se 220V. Em uma determinada casa, os aparelhos de 220V pararam de funcionar. Foi chamado, então, um eletricista que efetuou várias medidas com um voltímetro: mediu entre a fase A e o neutro 110V e entre fase B e o neutro, também 110V, como já era esperado. Porém a medida realizada entre as duas fases resultou em zero volt, como ilustrado na figura abaixo. Dentre as alternativas apresentadas, assinale a que explica coerentemente este fato.

Provas
Um gerador em uma usina hidrelétrica opera a 12,0 kV e 15,0 A. Usa-se um transformador para aumentar para 150,0 kV a voltagem na linha de transmissão. Se a resistência da linha de transmissão é 180,0 W, determine a taxa de aquecimento Joule na linha.
Provas
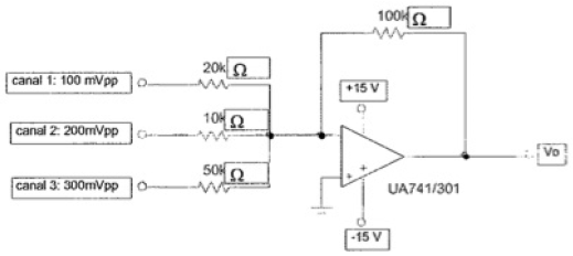
Observe o circuito

Três sinais de áudio acionam as entradas do amplificador somador da figura acima. Qual é a tensão de saída Vo?
Provas
Um voltímetro de 0 a 150 V apresenta uma tolerância de 1% da leitura de fundo de escala. A tensão a ser medida pelo instrumento é de 30 V. Neste caso, o limite do erro em percentagem será:
Provas
Assinale a alternativa que apresenta, no sistema hexadecimal, o resultado correto das operações abaixo.
1+2+3+4+5+6+7+8+9+A+B-C-D-E-F=?
Provas
Uma amostra de dados obtidos durante medidas de tensão continha valores duvidosos, os quais poderiam constituir erros graves. Para excluí-los, o engenheiro deve empregar:
Provas
Várias lâmpadas idênticas estão ligadas em paralelo a uma rede de alimentação de 110,0 V. Sabendo-se que a corrente elétrica que percorre cada lâmpada é de 6/11 A, se a instalação estiver protegida por um fusível de 16,0 A, quantas lâmpadas, no máximo, podem ser ligadas nesta rede?
Provas
Considerando a temperatura ambiente numa região de 25°C e ocorrendo um vazamento de um produto com ponto de fulgor de 15°C, significa que:
Provas
Para se adquirir uma medida de temperatura através de termopares ligados a um sistema de aquisição de dados, têm-se disponíveis três tipos de termopares: tipo J, tipo K e tipo T. Dentre esses, qual (quais) termopar (es) pode (m) ser usado (s) para medir temperaturas em torno de 1000ºC?
Provas
Caderno Container