Foram encontradas 1.803 questões.
Provas
Disciplina: Segurança e Saúde no Trabalho (SST)
Banca: CESPE / CEBRASPE
Orgão: INPI
Provas
Disciplina: Segurança e Saúde no Trabalho (SST)
Banca: CESPE / CEBRASPE
Orgão: INPI
Provas
Provas
Provas
Provas

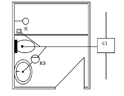
A figura acima ilustra a instalação sanitária de um banheiro com chuveiro, vaso sanitário com caixa acoplada e lavatório. Na figura, também estão representados um ralo seco (R), um ralo sifonado (RS) e uma caixa de inspeção (CI). Considerando que as ligações das tubulações estão a um ângulo de 45°, julgue os itens subsequentes.
Provas
Ao executar a concretagem de uma laje, o engenheiro responsável pela obra determinou que fosse verificada a hora de preparo do concreto, exigiu cuidados ao pisar nas armaduras, para não alterar suas posições em relação ao projeto, e adotou uma técnica de vapor de água quente para realizar a cura do concreto.
Considerando essa situação hipotética, julgue os itens a seguir.
Provas

A figura acima é uma representação esquemática do comportamento tensão-deformação em tração para materiais dúcteis e frágeis. Tendo como referência essa ilustração, julgue os itens a seguir.
Provas

Provas
Caderno Container