Foram encontradas 1.050 questões.
A velocidade sem carga de um motor cc em derivação é de 1300 rpm. Quando se aplica, ao motor, a sua carga especificada, a velocidade cai para 1250 rpm. Qual a porcentagem de sua regulação de velocidade?
Provas
Analise o gráfico:

Qual a frequência, em quilohertz, e a tensão de pico, em volts, respectivamente, da onda senoidal da tensão alternada representada acima?
Provas
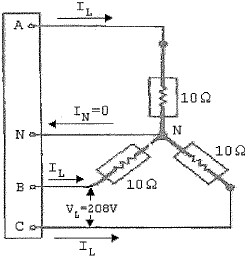
Analise o circuito:

Três resistências de 10 ohms estão ligadas em Y(estrela) a uma linha trifásica de 208 volts funcionando com um fator de potência igual a 1. Quais os valores aproximados da tensão de fase em volts e da potência total consumida pelas 3 resistências, em watts, respectivamente?
Dados:
\( \sqrt{3} = 1,732 \)
Provas
Observe a figura:

O flip-flop tipo T acima não é encontrado na série de circuitos integrados comerciais. Na prática, qual o flip-flop que pode ser utilizado em seu lugar de forma que exerça a mesma função?
Provas
Correlacione os tipos de diodos com suas respectivas características e assinale a sequência correta.
I - Diodo zener.
II - Diodo Schottky.
III - Diodo emissor de luz.
IV - Varactor.
V - Varistor.
VI - Acoplador ótico.
( ) Trabalha em altas frequências, porque são necessários tempos de chaveamento muito curtos.
( ) Opera na região de ruptura e sua principal aplicação é como regulador de tensão.
( ) É produzido com materiais como gálio, arsênio ou fósforo, e irradia luz vermelha, verde, amarela, azul e laranja por exemplo.
( ) Utilizado como dispositivo de proteção para suprimir picos de tensão e outros transientes.
( ) Combina um LED com um fotodiodo num encapsulamento único.
( ) É utilizado para que sua capacitância varie com a polarização reversa, isto é, o aumento da polarização reversa diminui a capacitância e vice-versa.
Provas
Qual o ganho de tensão total, em decibéis, de um amplificador de 2 estágios que possui um ganho de tensão comum A1=100 e A2=100?
Provas
Uma torradeira elétrica é projetada para solicitar 5 ampéres quando uma fonte de 110 volts é ligada aos seus terminais.
Qual o valor da corrente, em ampéres, solicitada pela torradeira quando é ligada a uma fonte de 220 volts?
Provas
Sendo X-=11010111 (base 2) e Y=1DE (base 16). Qual o valor de X e Y na base 10, respectivamente?
Provas

Qual a impedância de entrada em \( K\Omega \) e o ganho de tensão de malha fechada, respectivamente, do amplificador inversor de tensão apresentado acima?
Dados:
\( R_0 = 200K\Omega \)
\( R_1 = 1K\Omega \)
\( V_E = 4mV \)
Provas
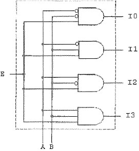
Observe a figura:

Considerando que o circuito acima apresenta uma entrada de dados E, variáveis de seleção A e B e canais de saída I0, I1, I2 e I3, é correto afirmar que este circuito é do tipo
Provas
Caderno Container