Foram encontradas 996 questões.
Com relação aos materiais metálicos, assinale a opção que exemplifica uma propriedade térmica, uma mecânica e uma elétrica, respectivamente.
Provas
Observe a figura a seguir.

A figura acima representa a leitura, no sistema Inglês, obtida na medição de uma peça, utilizando-se um micrômetro com resolução de .001 ", que possui 25 divisões. Sendo assim, qual a leitura obtida por esse micrômetro?
Provas
Tubos de ferro fundido são usados para água, gás, água salgada e esgoto, em serviços de baixa pressão, a uma temperatura ambiente, e onde não ocorram grandes esforços mecânicos. Esses tubos tem boa resistência à corrosão, principalmente à corrosão pelo solo, possuem grande duração e são fabricados por fundição centrifugada.
No Brasil, há vários fabricantes de tubos de ferro fundido que fabricam tubos de 2" até 24" de diâmetro externo (50mm a 600mm) com extremidades lisas, de ponta e bolsa rosqueadas, e com flanges integrais, de acordo com as normas EB-43 e P-EB-137. Sendo assim, é correto afirmar que esses tubos são testados para pressões de até:
Provas
Analise a figura a seguir.

Assinale a opção que apresenta o tipo de válvula representada acima.
Provas
Com relação aos ensaios de dureza por penetração, pode-se afirmar que
Provas
Com relação ao processo de conformação em que um bloco de metal é forçado a passar através do orifício de uma matriz sob alta pressão, de modo a ter sua seção transversal reduzida, pode-se afirmar que
Provas
A figura abaixo representa a leitura de um micrômetro com faixa de medida entre 0 e 25 mm e resolução de 0,01 mm.

Sendo assim, o valor correto da leitura do micrômetro acima é:
Provas
Observe a figura a seguir.

Uma das operações da estampagem é o corte. Qual é o esforço de corte da peça representada pela figura geométrica acima, cuja resistência ao cisalhamento do material é de 0,4 kgf/mm2 e a espessura é de 10 mm?
Dado: Dimensões em mm.
Provas
Assinale a opção que apresenta dois tipos de sistemas de refrigeração.
Provas
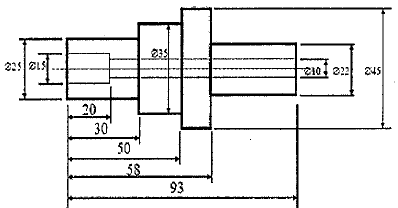
Analise a figura a seguir.

Considerando o desenho do eixo apresentado acima, e sabendo que os valores estão em milímetros, qual a profundidade do furo de diâmetro igual a 10 mm?
Provas
Caderno Container