Foram encontradas 996 questões.
Com relação ao ensaio de impacto, assinale a opção INCORRETA.
Provas
Analise a figura a seguir.

As reações de apoio nos pontos A e B, da viga biapoiada com cargas concentradas, como mostra a figura acima tem os seguintes valores, respectivamente:
Provas
Observe a figura a seguir.

O desenho acima representa um corte de um tubo metálico cilíndrico, cujas dimensões estão em milímetros (mm). O diâmetro interno do tubo é de 15mm, com uma tolerância de ±0,2mm. O diâmetro externo do tubo é de 25mm, com uma tolerância de 0,1 mm. Qual o menor valor permissível para a espessura o tubo?
Provas
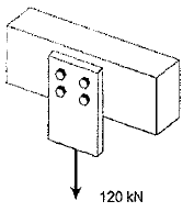
Observe a figura a seguir.

Quatro parafusos de aço são usados para prender uma placa a uma viga de madeira, como mostra a figura acima. Admitindo que a tensão de cisalhamento última para o aço utilizado seja de 300MPa, e desejando um coeficiente de segurança de 3, determine a menor área admissível para que os parafusos sejam usados e assinale a opção correta.
Provas
Observe a figura a seguir.

A figura acima apresenta o processo de construção de três pontos pertencentes a uma determinada curva (P, P' e P"). Os pontos P, P' e P" são resultado da interseção de segmentos de reta perpendiculares. O arco de circunferência C" é centrado em O'. Com relação à construção acima, assinale a opção correta.
Provas
Observa a figura a seguir.

Assinale a opção que apresenta a medida das dimensões A e B respectivamente:
Provas
Com relação aos tratamentos térmicos, assinale a opção correta.
Provas
A escolha do tipo de compressor adotado na refrigeração mecânica depende essencialmente
Provas
Observa a figura a seguir.

Medir a grandeza de uma peça por comparação é determinar a diferença da grandeza existente entre ela e um padrão de dimensão pré-determinado. Dai originou-se o termo medição indireta. O relógio comparador é um instrumento de medição por comparação, dotado de uma escala e de um ponteiro ligados, por mecanismos diversos, a uma ponta de contato.
Dentre as diversas aplicações de relógios comparadores, a figura acima representa que tipo de verificação?
Provas
Coloque F (Falso) ou V (Verdadeiro) nas afirmativas abaixo, relativas à classificação e às características gerais das bombas, assinalando a seguir a opção que apresenta a sequência correta.
( ) Bombas centrifugas são aquelas em que a energia fornecida ao liquido é primordialmente do tipo cinética, sendo posteriormente convertida, em grande parte, em energia de pressão.
( ) As bombas volumétricas ou de deslocamento positivo são aquelas em que a energia é fornecida ao liquido já sob a forma de pressão.
( ) Nas bombas de pistão, o órgão que produz o movimento do liquido é um pistão que se desloca, com um movimento alternativo, dentro de um cilindro.
Provas
Caderno Container